Запчасти Komatsu D475A-2 ТОПЛИВН. БАК. КОМПОНЕНТЫ ДВИГАТЕЛЯ И ЭЛЕКТРИКА

Схема запчастей Komatsu D475A-2 - ТОПЛИВН. БАК. КОМПОНЕНТЫ ДВИГАТЕЛЯ И ЭЛЕКТРИКА
FIT
1:1
100%

Артикул

Название

Примечание

Количество

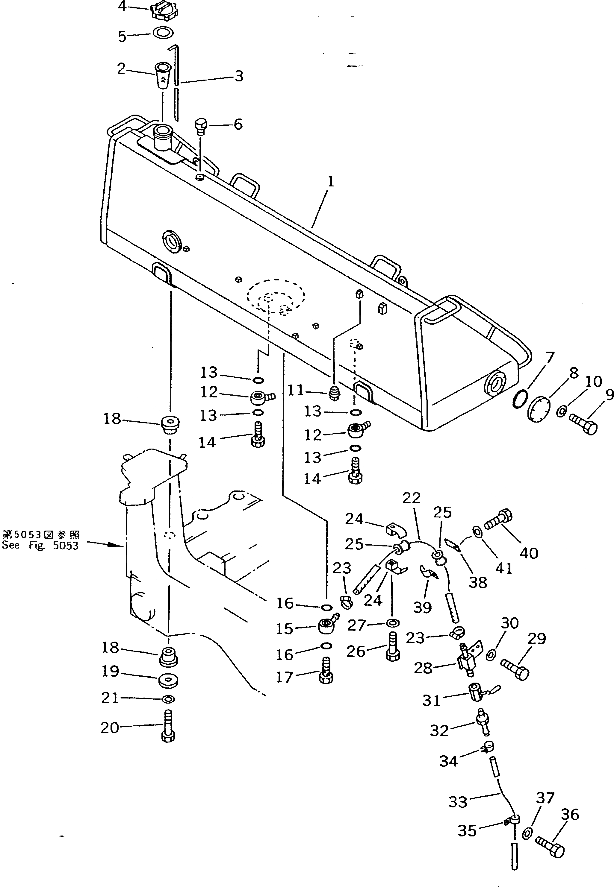
1

198-04-31114

TANK,FUEL

SN: 10201-UP

1шт.

2

07056-18416

STRAINER

SN: 10201-UP

1шт.

3

198-04-31130

GAUGE,LEVEL

SN: 10201-UP

1шт.

4

154-04-51171

CAP,FUEL TANK

SN: 10201-UP

1шт.

5

07050-21202

GASKET

SN: 10201-UP

1шт.

6

195-04-14130

PLUG

SN: 10201-UP

1шт.

7

07000-02115

O-RING

SN: 10201-UP

1шт.

8

195-04-31160

COVER

SN: 10201-UP

1шт.

9

01010-50820

BOLT

SN: 10201-UP

6шт.

10

01602-20825

WASHER,SPRING

SN: 10201-UP

6шт.

11

07042-00108

PLUG

SN: 10201-UP

1шт.

12

195-04-31190

JOINT,EYE

SN: 10201-UP

2шт.

13

07000-03035

O-RING

SN: 10201-UP

4шт.

14

195-04-11280

BOLT,JOINT

SN: 10201-UP

2шт.

15

195-04-31210

JOINT,EYE

SN: 10201-UP

1шт.

16

07000-03035

O-RING

SN: 10201-UP

2шт.

17

195-04-11280

BOLT,JOINT

SN: 10201-UP

1шт.

18

195-04-31140

RUBBER

SN: 10201-UP

12шт.

19

198-04-31210

PLATE

SN: 10201-UP

6шт.

20

01011-82715

BOLT

SN: 10201-UP

6шт.

21

01643-32780

WASHER

SN: 10201-UP

6шт.

22

07261-21412

HOSE

SN: 10201-UP

1шт.

23

07281-00259

CLAMP

SN: 10201-UP

2шт.

24

07094-00417

CLAMP

SN: 10201-UP

2шт.

25

07095-00423

CUSHION

SN: 10201-UP

2шт.

26

01010-51265

BOLT

SN: 10201-UP

1шт.

27

01643-31232

WASHER

SN: 10201-UP

1шт.

28

198-04-31161

JOINT

SN: 10201-UP

1шт.

29

01010-51225

BOLT

SN: 10201-UP

2шт.

30

01643-31232

WASHER

SN: 10201-UP

2шт.

31

07700-40460

VALVE

SN: 10201-UP

1шт.

32

154-04-12480

NIPPLE

SN: 10201-UP

1шт.

33

07270-01280

TUBE

SN: 10201-UP

1шт.

34

07285-00130

CLIP

SN: 10201-UP

1шт.

35

08035-01514

CLIP

SN: 10201-UP

1шт.

36

01010-51220

BOLT

SN: 10201-UP

1шт.

37

01643-31232

WASHER

SN: 10201-UP

1шт.

38

198-04-41240

PLATE

SN: 10201-UP

1шт.

39

198-61-44180

CLAMP

SN: 10201-UP

1шт.

40

01010-51225

BOLT

SN: 10201-UP

1шт.

41

01643-31232

WASHER

SN: 10201-UP

1шт.

Выбрано товаров: 0