Запчасти Komatsu D475A-2 РАДИАТОР И РЕЗЕРВН. БАК КОМПОНЕНТЫ ДВИГАТЕЛЯ И ЭЛЕКТРИКА

Схема запчастей Komatsu D475A-2 - РАДИАТОР И РЕЗЕРВН. БАК КОМПОНЕНТЫ ДВИГАТЕЛЯ И ЭЛЕКТРИКА
FIT
1:1
100%

Артикул

Название

Примечание

Количество

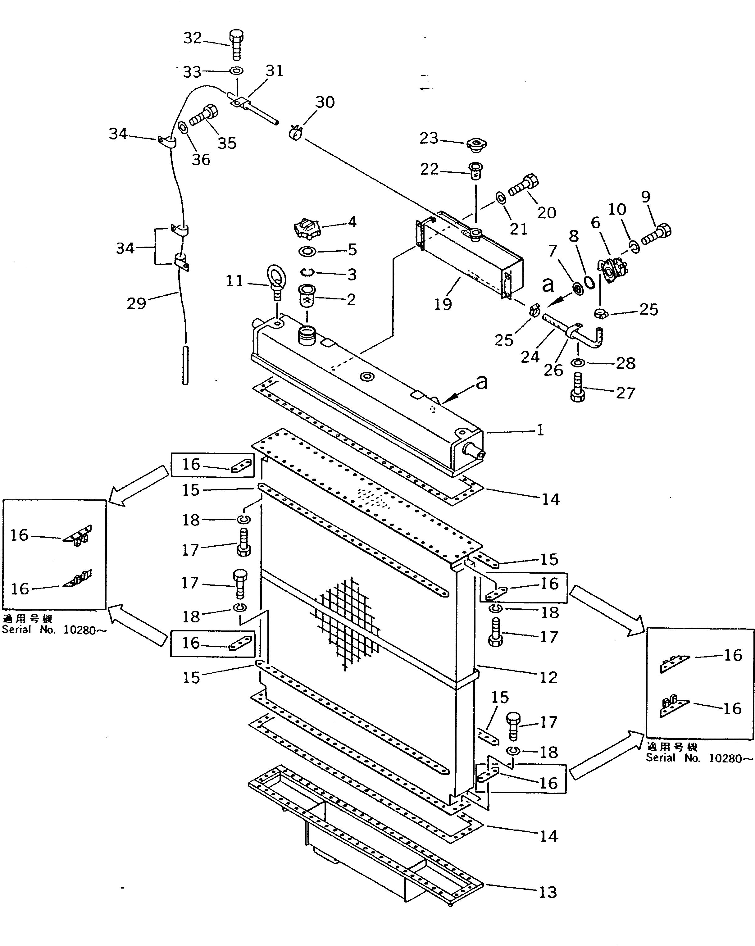
|$0

198-03-00322

RADIATOR ASS'Y

SN: 10350-UP

1шт.

|$1

0

RADIATOR ASS'Y

SN: 10280-10349

1шт.

|$2

198-03-00320

RADIATOR ASS'Y

SN: 10201-10279

1шт.

1

198-03-55120

TANK,UPPER

SN: 10201-UP

1шт.

2

07056-00048

STRAINER

SN: 10201-UP

1шт.

3

07057-03271

RING,FILLER

SN: 10201-UP

1шт.

4

07053-10000

CAP,RADIATOR

SN: 10201-UP

1шт.

5

07053-00002

GASKET

SN: 10201-UP

1шт.

6

195-03-41370

VALVE,PRESSURE

SN: 10201-UP

1шт.

7

175-03-32570

SCREEN

SN: 10201-UP

1шт.

8

07000-63045

O-RING

SN: 10201-UP

1шт.

9

01010-51025

BOLT

SN: 10201-UP

2шт.

10

01602-21030

WASHER,SPRING

SN: 10201-UP

2шт.

11

04530-12438

BOLT,EYE

SN: 10201-UP

2шт.

12

198-03-51113

CORE

SN: 10280-UP

1шт.

12

198-03-51112

CORE

SN: 10201-10279

1шт.

13

198-03-55131

TANK,LOWER

SN: 10280-UP

1шт.

13

198-03-55130

TANK,LOWER

SN: 10201-10279

1шт.

14

198-03-51161

GASKET

SN: 10350-UP

2шт.

14

0

GASKET

SN: 10201-10349

2шт.

15

195-03-41290

PLATE

SN: 10201-UP

4шт.

16

198-03-51350

PLATE

SN: 10280-UP

4шт.

16

195-03-41310

PLATE

SN: 10201-10279

4шт.

17

01010-51035

BOLT

SN: 10201-UP

116шт.

18

01602-21030

WASHER,SPRING

SN: 10201-UP

116шт.

19

198-03-55510

TANK

SN: 10201-UP

1шт.

20

01010-51225

BOLT

SN: 10201-UP

4шт.

21

01643-31232

WASHER

SN: 10201-UP

4шт.

22

195-03-41420

STRAINER

SN: 10201-UP

1шт.

23

195-03-41390

CAP

SN: 10201-UP

1шт.

24

198-03-55430

HOSE

SN: 10201-UP

1шт.

25

07281-00197

CLAMP

SN: 10201-UP

2шт.

26

08036-01414

CLIP

SN: 10201-UP

1шт.

27

01010-51220

BOLT

SN: 10201-UP

1шт.

28

01643-31232

WASHER

SN: 10201-UP

1шт.

29

195-03-17880

TUBE

SN: 10201-UP

1шт.

30

07285-00100

CLIP

SN: 10201-UP

1шт.

31

195-03-11690

CLIP

SN: 10201-UP

1шт.

32

01010-51220

BOLT

SN: 10201-UP

1шт.

33

01643-31232

WASHER

SN: 10201-UP

1шт.

34

195-03-11690

CLIP

SN: 10201-UP

3шт.

35

01010-51020

BOLT

SN: 10201-UP

3шт.

36

01643-31032

WASHER

SN: 10201-UP

3шт.

Выбрано товаров: 43