Запчасти Komatsu D475A-2 БЛОК РЕЛЕ КОМПОНЕНТЫ ДВИГАТЕЛЯ И ЭЛЕКТРИКА

Схема запчастей Komatsu D475A-2 - БЛОК РЕЛЕ КОМПОНЕНТЫ ДВИГАТЕЛЯ И ЭЛЕКТРИКА
FIT
1:1
100%

Артикул

Название

Примечание

Количество

|$0

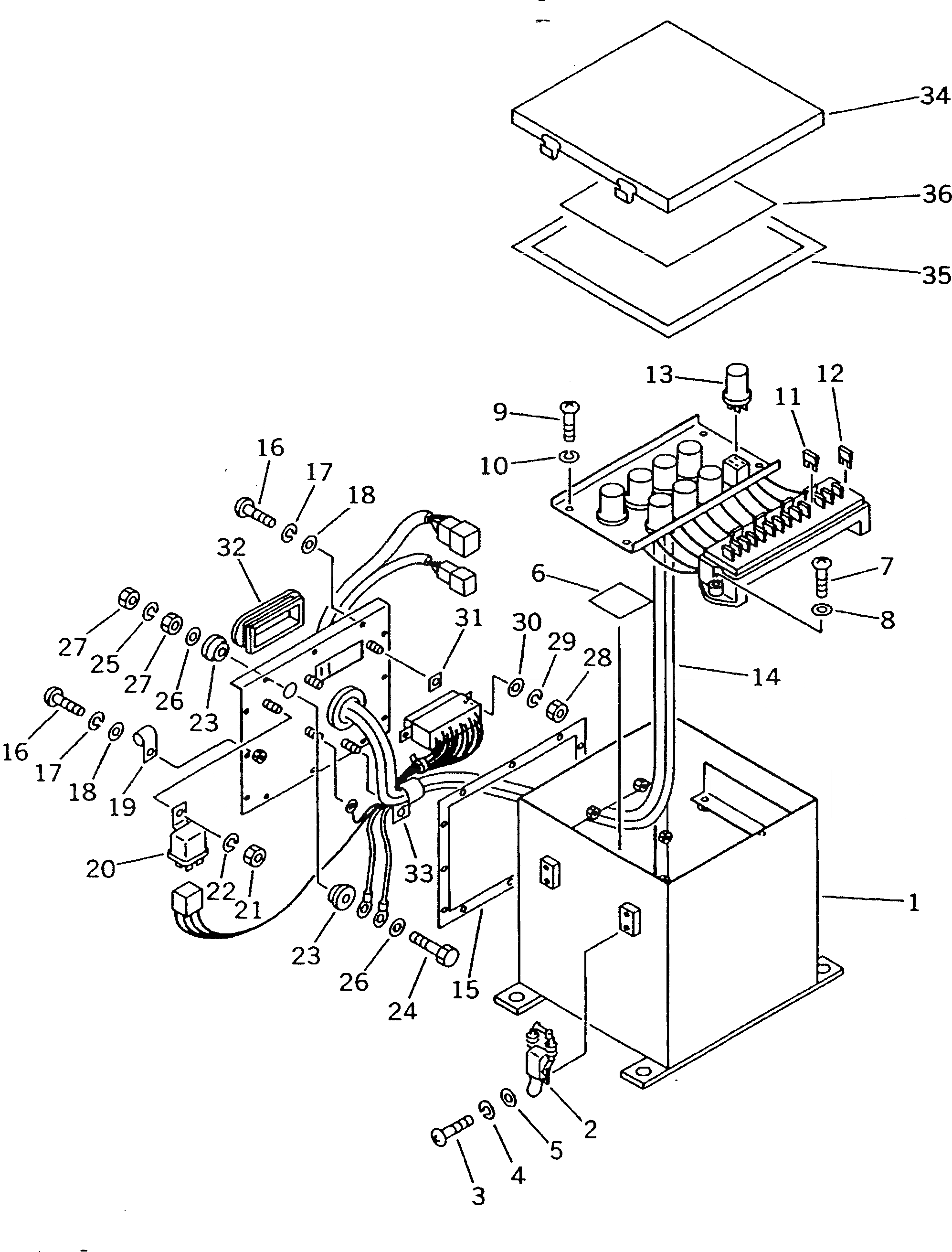
7830-32-1401

RELAY BOX ASS'Y

SN: 10452-UP

1шт.

|$1

7830-32-1400

RELAY BOX ASS'Y

SN: 10201-10451

1шт.

1

7830-32-1420

BOX

SN: 10201-UP

1шт.

2

7816-21-3460

LOCK

SN: 10201-UP

4шт.

3

01220-40308

SCREW

SN: 10201-UP

8шт.

4

01602-20307

WASHER,SPRING

SN: 10201-UP

8шт.

5

01641-20305

WASHER

SN: 10201-UP

8шт.

6

7830-11-5550

FILTER

SN: 10201-UP

1шт.

7

01220-40616

SCREW

SN: 10201-UP

2шт.

8

01641-20608

WASHER

SN: 10201-UP

2шт.

9

01220-40616

SCREW

SN: 10201-UP

4шт.

10

01602-20619

WASHER,SPRING

SN: 10201-UP

4шт.

11

283-06-16190

FUSE, 10A

SN: 10201-UP

8шт.

12

22W-06-13160

FUSE, 20A

SN: 10201-UP

11шт.

13

7830-11-8180

RELAY

SN: 10201-UP

8шт.

14

7830-32-1451

WIRING HARNESS

SN: 10452-UP

1шт.

14

7830-32-1450

WIRING HARNESS

SN: 10201-10451

1шт.

15

7830-32-1470

GASKET

SN: 10201-UP

1шт.

16

01220-40410

SCREW

SN: 10201-UP

13шт.

17

01602-20410

WASHER,SPRING

SN: 10201-UP

13шт.

18

01642-20405

WASHER

SN: 10201-UP

13шт.

19

7816-11-4260

CLIP

SN: 10201-UP

1шт.

20

22W-06-13450

RELAY ASS'Y

SN: 10201-UP

1шт.

21

01580-10605

NUT

SN: 10201-UP

1шт.

22

01602-20619

WASHER,SPRING

SN: 10201-UP

1шт.

23

7830-11-8160

BUSHING

SN: 10201-UP

2шт.

24

01010-50830

BOLT

SN: 10201-UP

1шт.

25

01602-20825

WASHER,SPRING

SN: 10201-UP

1шт.

26

01643-30823

WASHER

SN: 10201-UP

2шт.

27

01580-10806

NUT

SN: 10201-UP

2шт.

28

01580-10403

NUT

SN: 10201-UP

4шт.

29

01602-20410

WASHER,SPRING

SN: 10201-UP

4шт.

30

01642-20405

WASHER

SN: 10201-UP

4шт.

31

7830-11-8170

SPACER

SN: 10201-UP

2шт.

32

7830-11-6950

BOOT

SN: 10201-UP

1шт.

33

7862-91-3720

CLAMP

SN: 10201-UP

1шт.

34

7830-11-8120

COVER

SN: 10201-UP

1шт.

35

7830-11-8140

GASKET

SN: 10201-UP

1шт.

36

7830-32-1460

PLATE

SN: 10201-UP

1шт.

Выбрано товаров: 0