Запчасти Komatsu D475A-2 МАСЛООХЛАДИТЕЛЬ КОМПОНЕНТЫ ДВИГАТЕЛЯ И ЭЛЕКТРИКА

Схема запчастей Komatsu D475A-2 - МАСЛООХЛАДИТЕЛЬ КОМПОНЕНТЫ ДВИГАТЕЛЯ И ЭЛЕКТРИКА
FIT
1:1
100%

Артикул

Название

Примечание

Количество

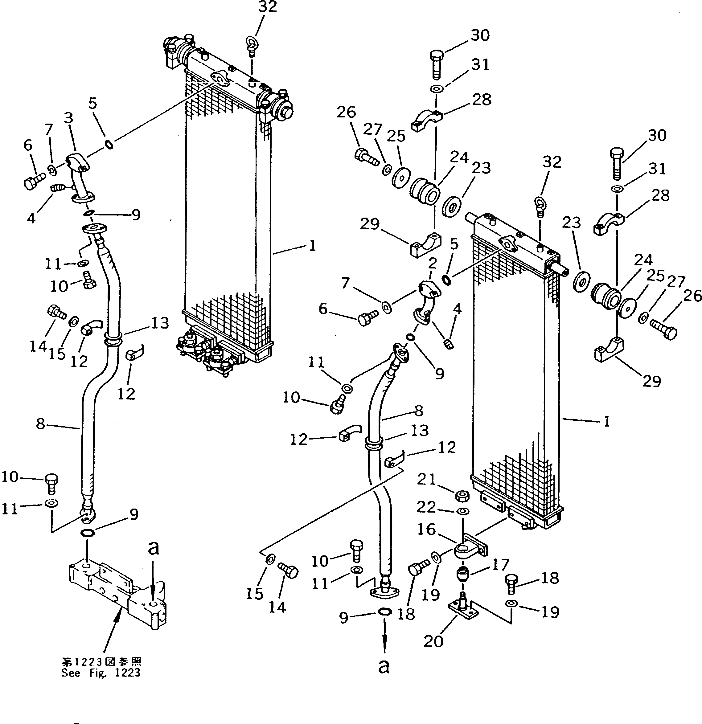
1

198-03-51621

OIL COOLER ASS'Y

SN: 10201-UP

2шт.

2

198-03-51640

TUBE,L.H.

SN: 10201-UP

1шт.

3

198-03-51650

TUBE,R.H.

SN: 10201-UP

1шт.

4

07042-30108

PLUG

SN: 10201-UP

2шт.

5

07000-23045

O-RING

SN: 10241-UP

2шт.

5

0

O-RING

SN: 10201-10240

2шт.

6

01010-51265

BOLT

SN: 10201-UP

4шт.

7

01643-31232

WASHER

SN: 10201-UP

4шт.

8

198-03-51682

HOSE

SN: 10201-UP

2шт.

9

07000-23048

O-RING

SN: 10241-UP

4шт.

9

0

O-RING

SN: 10201-10240

4шт.

10

01010-51235

BOLT

SN: 10201-UP

8шт.

11

01643-31232

WASHER

SN: 10201-UP

8шт.

12

198-61-44220

CLAMP

SN: 10201-UP

4шт.

13

198-61-44130

CUSHION

SN: 10201-UP

2шт.

14

01010-51290

BOLT

SN: 10201-UP

2шт.

15

01643-31232

WASHER

SN: 10201-UP

2шт.

16

198-03-51271

BRACKET

SN: 10201-UP

4шт.

17

198-03-22290

ISOLATOR

SN: 10201-UP

4шт.

18

01010-51230

BOLT

SN: 10201-UP

16шт.

19

01643-31232

WASHER

SN: 10201-UP

16шт.

20

198-03-51282

BRACKET

SN: 10201-UP

4шт.

21

01580-11613

NUT

SN: 10201-UP

4шт.

22

01643-31645

WASHER

SN: 10201-UP

4шт.

23

198-03-51230

PLATE

SN: 10201-UP

4шт.

24

195-03-41440

CUSHION

SN: 10201-UP

4шт.

25

195-03-41260

PLATE

SN: 10201-UP

4шт.

26

01010-51630

BOLT

SN: 10201-UP

4шт.

27

01643-31645

WASHER

SN: 10201-UP

4шт.

|$29

198-03-00310

BLOCK ASS'Y

SN: 10201-UP

4шт.

28

0

CAP

SN: 10201-UP

1шт.

29

0

BLOCK

SN: 10201-UP

1шт.

30

01011-52035

BOLT

SN: 10201-UP

8шт.

31

01643-32060

WASHER

SN: 10201-UP

8шт.

32

04530-11222

BOLT,EYE

SN: 10201-UP

4шт.

Выбрано товаров: 0