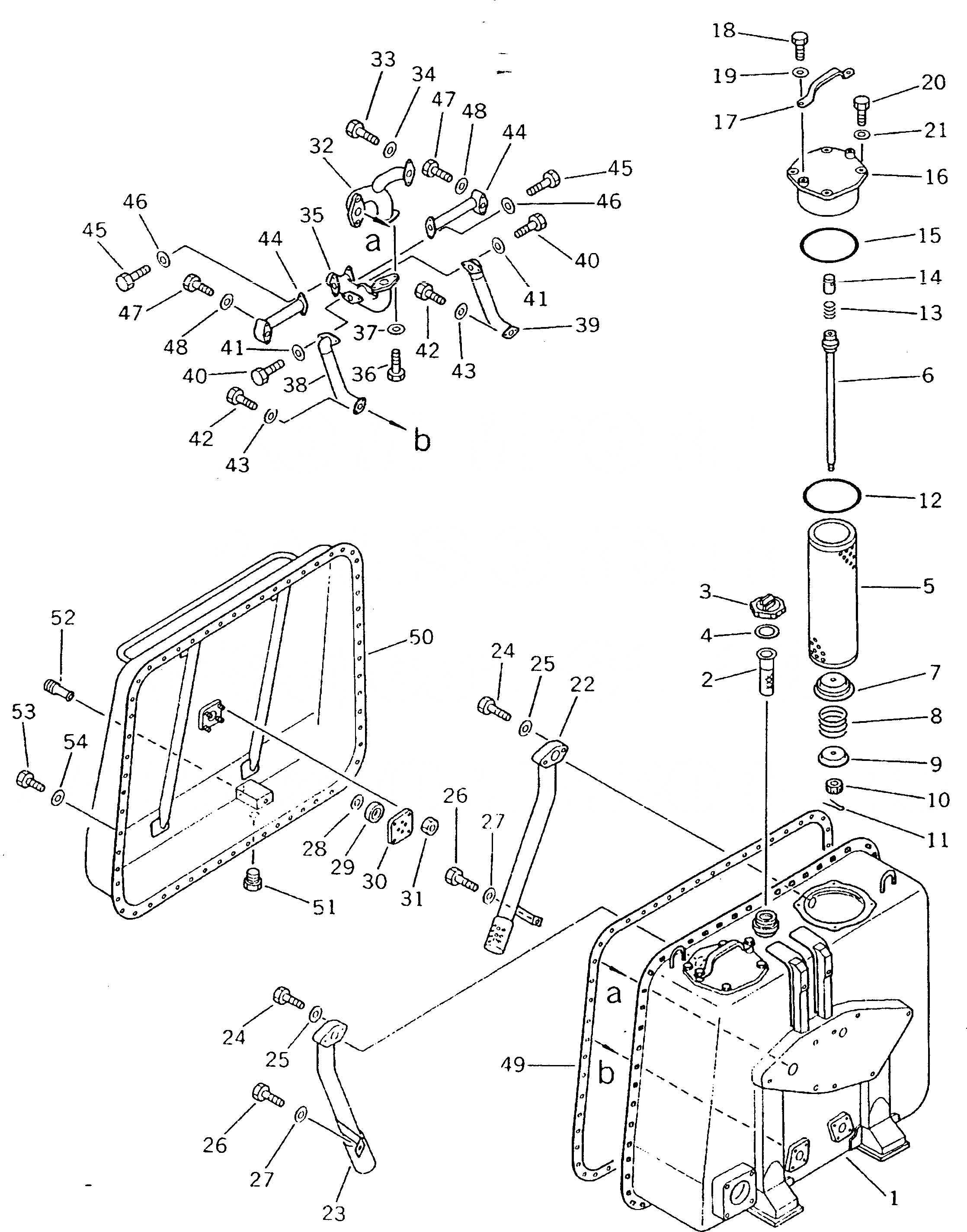
Запчасти Komatsu D475A-2 ГИДР. БАК.(№-) УПРАВЛ-Е РАБОЧИМ ОБОРУДОВАНИЕМ

Схема запчастей Komatsu D475A-2 - ГИДР. БАК.(№-) УПРАВЛ-Е РАБОЧИМ ОБОРУДОВАНИЕМ
FIT
1:1
100%

Артикул

Название

Примечание

Количество

|1

198-60-00011

HYDRAULIC TANK ASS'Y

SN: 10350-10422

1шт.

|1

0

HYDRAULIC TANK ASS'Y

SN: 10201-10349

1шт.

1

198-60-32111

TANK

SN: 10201-@

1шт.

2

07056-10045

STRAINER

SN: 10201-@

1шт.

3

07051-00000

CAP

SN: 10201-@

1шт.

4

07051-00003

GASKET

SN: 10201-@

1шт.

5

07063-01210

ELEMENT

SN: 10201-@

2шт.

6

198-60-32240

ROD

SN: 10201-@

2шт.

7

195-60-41210

PLATE

SN: 10201-@

2шт.

8

198-49-11460

SPRING

SN: 10201-10422

2шт.

9

195-60-41220

PLATE

SN: 10201-@

2шт.

10

01590-01012

NUT

SN: 10201-@

2шт.

11

04050-02018

PIN,COTTER

SN: 10201-@

2шт.

12

07000-35180

O-RING

SN: 10201-@

2шт.

13

150-49-11560

SPRING

SN: 10201-@

2шт.

14

195-60-41290

VALVE

SN: 10201-@

2шт.

15

07000-35195

O-RING

SN: 10201-@

2шт.

16

195-60-41150

CAP

SN: 10201-@

2шт.

17

195-60-41231

GRIP

SN: 10201-@

2шт.

18

01010-51225

BOLT

SN: 10201-@

4шт.

19

01643-31232

WASHER

SN: 10201-@

4шт.

20

01010-51235

BOLT

SN: 10201-@

8шт.

21

01643-31232

WASHER

SN: 10201-@

8шт.

22

198-60-32230

TUBE

SN: 10201-@

1шт.

23

198-60-32220

TUBE

SN: 10201-@

1шт.

24

01010-51265

BOLT

SN: 10201-@

4шт.

25

01643-31232

WASHER

SN: 10201-@

4шт.

26

01010-51225

BOLT

SN: 10201-@

2шт.

27

01643-31232

WASHER

SN: 10201-@

2шт.

28

07715-00651

COVER

SN: 10201-@

1шт.

29

07715-11257

RING

SN: 10201-@

1шт.

30

07715-21074

CASE

SN: 10201-@

1шт.

31

01598-11011

NUT

SN: 10201-@

4шт.

32

198-60-32160

ELBOW

SN: 10201-@

1шт.

33

01010-51240

BOLT

SN: 10201-@

4шт.

34

01643-31232

WASHER

SN: 10201-@

4шт.

35

198-60-32170

ELBOW

SN: 10201-@

1шт.

36

01010-51235

BOLT

SN: 10201-@

2шт.

37

01643-31232

WASHER

SN: 10201-@

2шт.

38

198-60-32180

TUBE

SN: 10201-@

1шт.

39

198-60-32190

TUBE

SN: 10201-@

1шт.

40

01010-51235

BOLT

SN: 10201-@

4шт.

41

01643-31232

WASHER

SN: 10201-@

4шт.

42

01010-51240

BOLT

SN: 10201-@

4шт.

43

01643-31232

WASHER

SN: 10201-@

4шт.

44

198-60-32210

TUBE

SN: 10201-@

2шт.

45

01010-51235

BOLT

SN: 10201-@

4шт.

46

01643-31232

WASHER

SN: 10201-@

4шт.

47

01010-51265

BOLT

SN: 10201-@

4шт.

48

01643-31232

WASHER

SN: 10201-@

4шт.

49

195-60-41261

GASKET

SN: 10350-@

1шт.

|49

0

GASKET

SN: 10201-10349

1шт.

50

198-60-32121

TANK

SN: 10201-@

1шт.

51

07040-13618

PLUG

SN: 10201-@

1шт.

52

195-60-41240

VALVE

SN: 10201-@

1шт.

53

01010-51025

BOLT

SN: 10201-@

59шт.

54

01643-31032

WASHER

SN: 10201-@

59шт.

Выбрано товаров: 57