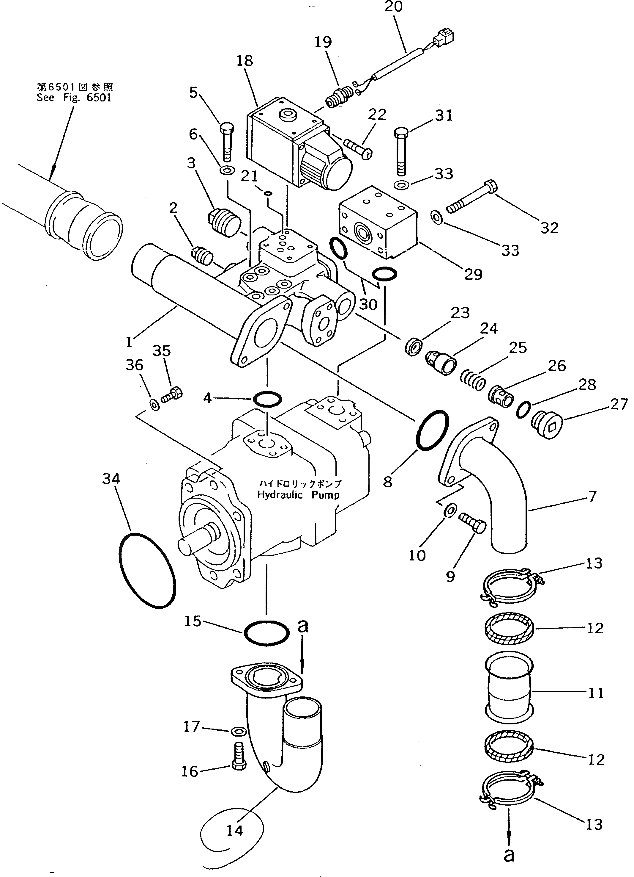
Запчасти Komatsu D475A-2 SOLENOIED КЛАПАН КОМПОНЕНТЫ ДВИГАТЕЛЯ И ЭЛЕКТРИКА

Схема запчастей Komatsu D475A-2 - SOLENOIED КЛАПАН КОМПОНЕНТЫ ДВИГАТЕЛЯ И ЭЛЕКТРИКА
FIT
1:1
100%

Артикул

Название

Примечание

Количество

|1

198-03-56100

VALVE ASS'Y,SOLENOID

SN: 10201-UP

1шт.

1

198-03-52110

BODY

SN: 10201-UP

1шт.

2

07042-30312

PLUG

SN: 10201-UP

2шт.

3

07042-31019

PLUG

SN: 10201-UP

1шт.

4

07000-23035

O-RING

SN: 10241-UP

1шт.

|4

0

O-RING

SN: 10201-10240

1шт.

5

01010-81070

BOLT

SN: 10467-UP

4шт.

|5

01010-51065

BOLT

SN: 10201-10466

4шт.

6

01643-31032

WASHER

SN: 10201-UP

4шт.

7

198-03-52220

TUBE

SN: 10201-UP

1шт.

8

07000-32060

O-RING

SN: 10201-UP

1шт.

9

01010-51235

BOLT

SN: 10201-UP

2шт.

10

01643-31232

WASHER

SN: 10201-UP

2шт.

11

07332-02000

COUPLING

SN: 10201-UP

1шт.

12

07332-52000

GASKET

SN: 10201-UP

1шт.

13

07332-62000

CLAMP

SN: 10201-UP

2шт.

14

198-03-52230

TUBE

SN: 10201-UP

1шт.

15

07000-32060

O-RING

SN: 10201-UP

1шт.

16

01010-81240

BOLT

SN: 10467-UP

2шт.

|16

01010-51235

BOLT

SN: 10201-10466

2шт.

17

01643-31232

WASHER

SN: 10201-UP

2шт.

|18

198-03-00340

VALVE ASS'Y

SN: 10249-UP

1шт.

18

198-03-52250

VALVE

SN: 10201-UP

1шт.

19

21T-06-12530

CONNECTOR

SN: 10201-UP

1шт.

20

0

WIRING HARNESS

SN: 10249-UP

1шт.

|20

0

WIRING HARNESS

SN: 10201-10248

1шт.

21

198-03-52270

O-RING

SN: 10201-UP

5шт.

22

01252-40635

BOLT

SN: 10201-UP

4шт.

23

198-03-52120

BUSHING

SN: 10201-UP

1шт.

24

205-60-51290

POPPET

SN: 10201-UP

1шт.

25

205-60-51310

SPRING

SN: 10201-UP

1шт.

26

198-03-52130

SLEEVE

SN: 10201-UP

1шт.

27

07040-13016

PLUG

SN: 10201-UP

1шт.

28

07002-23034

O-RING

SN: 10201-UP

1шт.

29

198-03-52210

BLOCK

SN: 10201-UP

1шт.

30

07000-23035

O-RING

SN: 10241-UP

2шт.

|30

0

O-RING

SN: 10201-10240

2шт.

31

01010-81085

BOLT

SN: 10467-UP

4шт.

|31

01010-51080

BOLT

SN: 10201-10466

4шт.

32

01010-51090

BOLT

SN: 10201-UP

4шт.

33

01643-31032

WASHER

SN: 10201-UP

8шт.

34

07000-32130

O-RING

SN: 10201-UP

1шт.

35

01010-51240

BOLT

SN: 10201-UP

4шт.

36

01643-31232

WASHER

SN: 10201-UP

4шт.

Выбрано товаров: 44