Запчасти Komatsu D475A-2 THERMO КЛАПАН КОМПОНЕНТЫ ДВИГАТЕЛЯ И ЭЛЕКТРИКА

Схема запчастей Komatsu D475A-2 - THERMO КЛАПАН КОМПОНЕНТЫ ДВИГАТЕЛЯ И ЭЛЕКТРИКА
FIT
1:1
100%

Артикул

Название

Примечание

Количество

|1

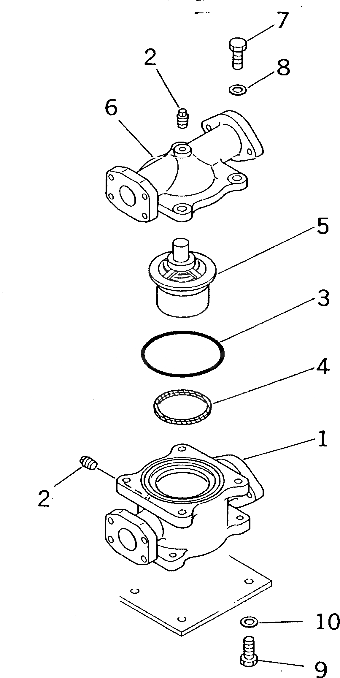
198-03-52301

THERMO VALVE ASS'Y,THERMO

SN: 10201-UP

1шт.

1

198-03-52320

VALVE

SN: 10201-UP

1шт.

2

07042-00108

PLUG

SN: 10201-UP

2шт.

3

07000-32115

O-RING

SN: 10201-UP

1шт.

4

198-03-52340

SEAL

SN: 10201-UP

1шт.

5

198-03-52331

ELEMENT

SN: 10201-UP

1шт.

6

198-03-52310

TEE

SN: 10201-UP

1шт.

7

01010-51235

BOLT

SN: 10201-UP

4шт.

8

01643-31232

WASHER

SN: 10201-UP

4шт.

9

01010-51230

BOLT

SN: 10201-UP

4шт.

10

01643-31232

WASHER

SN: 10201-UP

4шт.

Выбрано товаров: 0