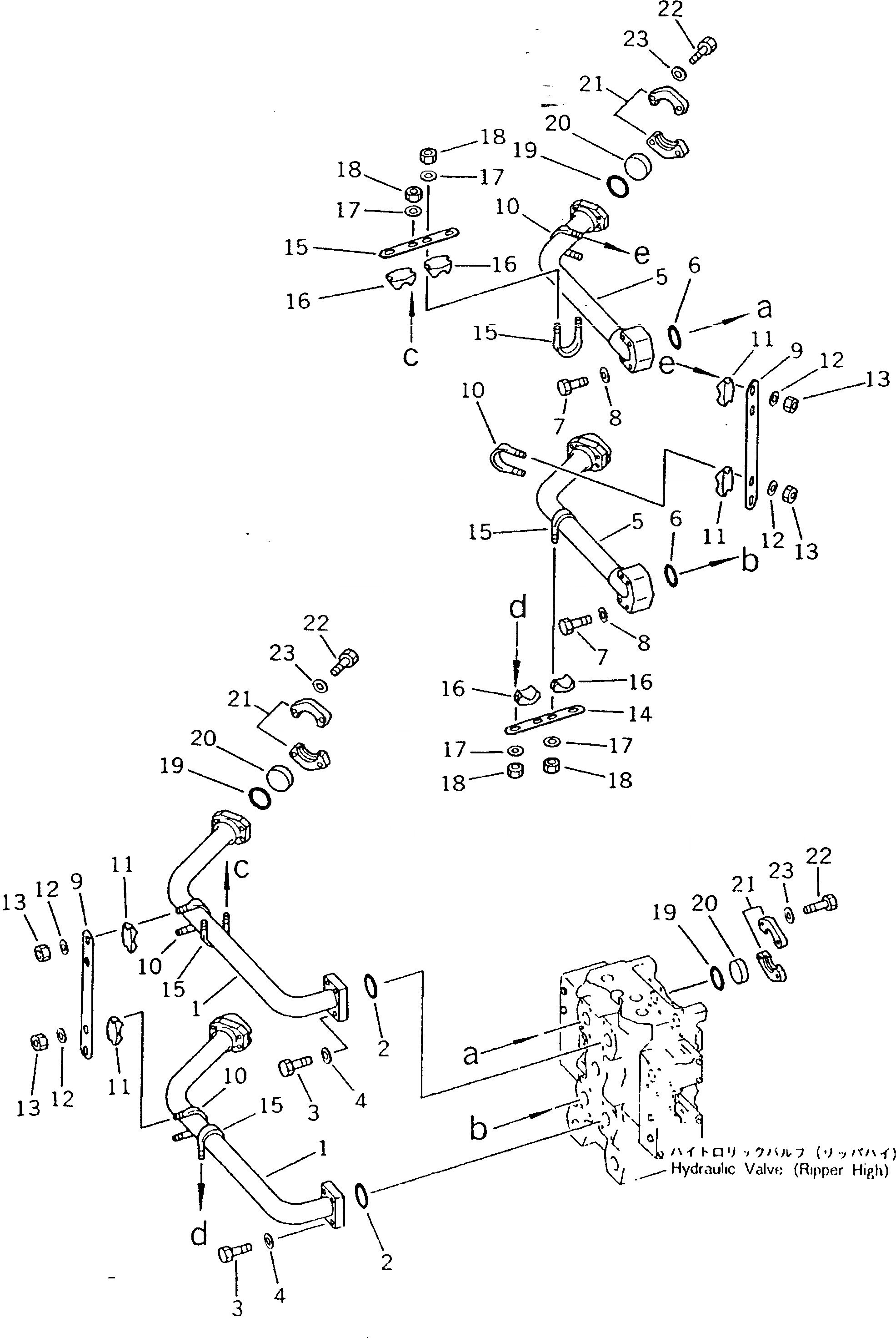
Запчасти Komatsu D475A-2 ГИДРОЛИНИЯ (РЫХЛИТЕЛЬ LIFT И ЛИНИЯ ПЕРЕКОСА) (/) УПРАВЛ-Е РАБОЧИМ ОБОРУДОВАНИЕМ

Схема запчастей Komatsu D475A-2 - ГИДРОЛИНИЯ (РЫХЛИТЕЛЬ LIFT И ЛИНИЯ ПЕРЕКОСА) (/) УПРАВЛ-Е РАБОЧИМ ОБОРУДОВАНИЕМ
FIT
1:1
100%

Артикул

Название

Примечание

Количество

G-1

0

RIPPER PIPING GROUP

SN: 10201-UP

1шт.

|$$2

====================

-1шт.

1

198-78-22110

TUBE

SN: 10201-UP

2шт.

2

07000-23035

O-RING

SN: 10201-UP

2шт.

3

07372-21045

BOLT

SN: 10201-UP

8шт.

4

01643-51032

WASHER

SN: 10201-UP

8шт.

5

198-78-22120

TUBE

SN: 10201-UP

2шт.

6

07000-23035

O-RING

SN: 10201-UP

2шт.

7

07372-21060

BOLT

SN: 10201-UP

8шт.

8

01643-51032

WASHER

SN: 10201-UP

8шт.

9

198-78-21270

PLATE

SN: 10201-UP

2шт.

10

07283-33450

CLIP

SN: 10201-UP

4шт.

11

07283-53444

SEAT

SN: 10201-UP

4шт.

12

01643-31032

WASHER

SN: 10201-UP

8шт.

13

01599-01011

NUT

SN: 10201-UP

8шт.

14

198-78-21280

PLATE

SN: 10201-UP

2шт.

15

07283-33450

CLIP

SN: 10201-UP

4шт.

16

07283-53444

SEAT

SN: 10201-UP

4шт.

17

01643-31032

WASHER

SN: 10201-UP

8шт.

18

01599-01011

NUT

SN: 10201-UP

8шт.

|$$21

====================

-1шт.

G-2

0

BLANK PARTS GROUP

SN: 10201-UP

8шт.

|$$23

====================

-1шт.

19

07000-23038

O-RING

SN: 10201-UP

1шт.

20

07378-11200

HEAD,SLEEVE

SN: 10201-UP

1шт.

21

07371-31255

FLANGE,SPLIT

SN: 10201-UP

2шт.

22

07372-21035

BOLT

SN: 10201-UP

4шт.

23

01643-51032

WASHER

SN: 10201-UP

4шт.

|$$29

====================

-1шт.

Выбрано товаров: 0