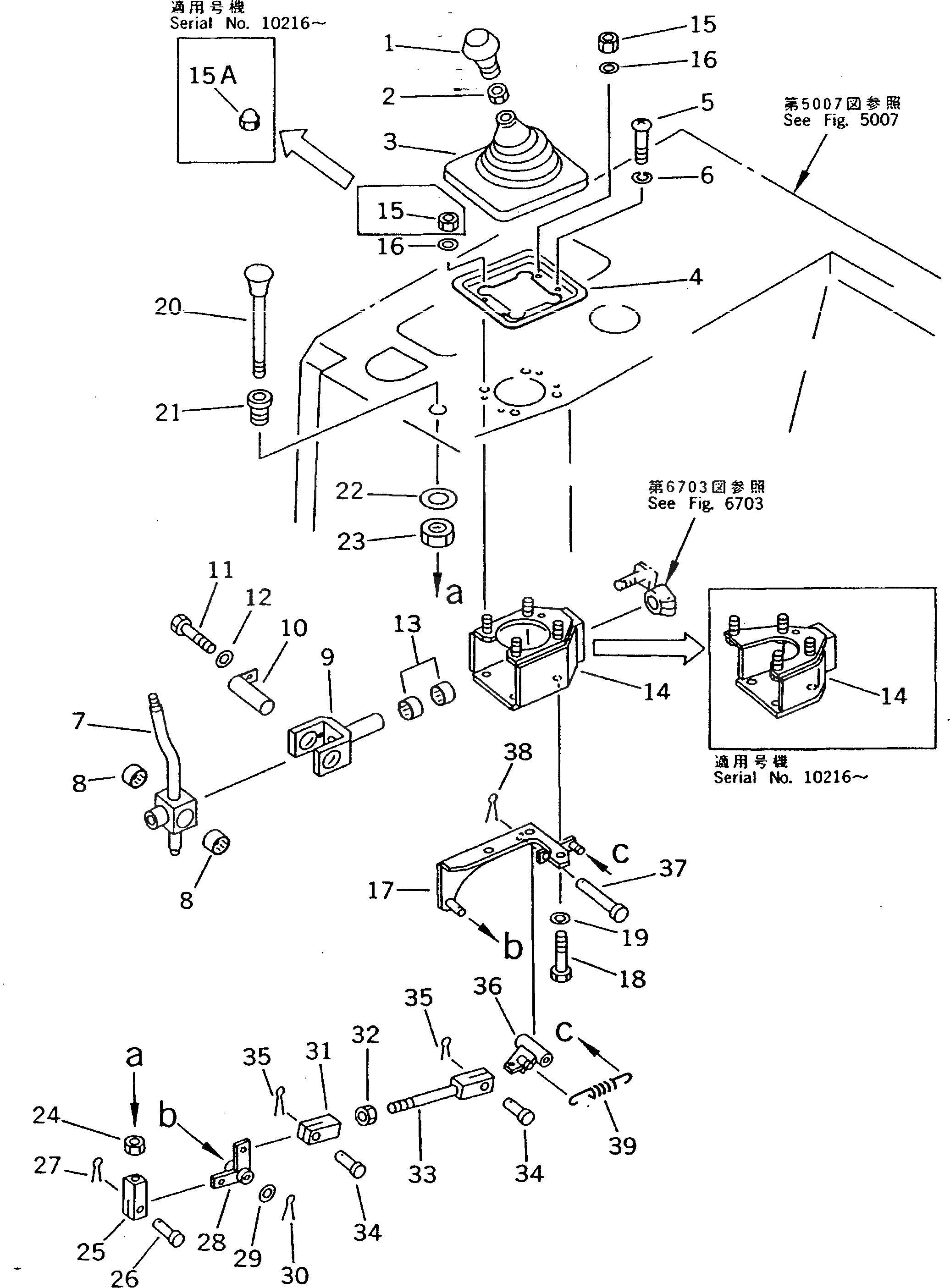
Запчасти Komatsu D475A-2 РЫЧАГ УПРАВЛЕНИЯ ОТВАЛОМ УПРАВЛ-Е РАБОЧИМ ОБОРУДОВАНИЕМ

Схема запчастей Komatsu D475A-2 - РЫЧАГ УПРАВЛЕНИЯ ОТВАЛОМ УПРАВЛ-Е РАБОЧИМ ОБОРУДОВАНИЕМ
FIT
1:1
100%

Артикул

Название

Примечание

Количество

G-1

0

CONTROL LEVER GROUP,BLADE

SN: 10216-UP

1шт.

G-1

0

CONTROL LEVER GROUP,BLADE

SN: 10201-10215

1шт.

|$$3

====================

-1шт.

1

195-61-45150

KNOB

SN: 10201-UP

1шт.

2

195-43-44220

NUT

SN: 10201-UP

1шт.

3

195-61-45140

BOOT

SN: 10201-UP

1шт.

4

195-61-45130

BASE

SN: 10201-UP

1шт.

5

01220-40508

SCREW

SN: 10201-UP

4шт.

6

01601-20513

WASHER,SPRING

SN: 10201-UP

4шт.

7

195-61-45160

LEVER

SN: 10201-UP

1шт.

8

195-61-41270

BEARING,NEEDLE

SN: 10201-UP

2шт.

9

195-61-45180

YOKE

SN: 10201-UP

1шт.

10

195-61-45170

PIN

SN: 10201-UP

1шт.

11

01010-50816

BOLT

SN: 10201-UP

1шт.

12

01643-30823

WASHER

SN: 10201-UP

1шт.

13

195-61-41280

BEARING,NEEDLE

SN: 10201-UP

2шт.

14

195-61-45710

BRACKET

SN: 10216-UP

1шт.

|14

195-61-45110

BRACKET

SN: 10201-10215

1шт.

15

01580-10806

NUT

SN: 10216-UP

3шт.

|15

01580-10806

NUT

SN: 10201-10215

4шт.

15A

235-54-15150

NUT

SN: 10216-UP

1шт.

16

01643-30823

WASHER

SN: 10201-UP

4шт.

17

195-61-45240

BRACKET

SN: 10201-UP

1шт.

18

01010-50816

BOLT

SN: 10201-UP

3шт.

19

01643-30823

WASHER

SN: 10201-UP

3шт.

20

195-61-45211

KNOB

SN: 10201-UP

1шт.

21

175-61-31750

BOSS

SN: 10201-UP

1шт.

22

01640-22232

WASHER

SN: 10201-UP

1шт.

23

195-61-45230

NUT

SN: 10201-UP

1шт.

24

01580-10806

NUT

SN: 10201-UP

1шт.

25

04211-20844

YOKE

SN: 10201-UP

1шт.

26

04205-10822

PIN

SN: 10201-UP

1шт.

27

04050-12012

PIN,COTTER

SN: 10201-UP

1шт.

28

195-61-45260

LEVER

SN: 10201-UP

1шт.

29

01641-20812

WASHER

SN: 10201-UP

1шт.

30

04050-12015

PIN,COTTER

SN: 10201-UP

1шт.

31

04210-20832

YOKE

SN: 10201-UP

1шт.

32

01580-10806

NUT

SN: 10201-UP

1шт.

33

04244-40810

ROD

SN: 10201-UP

1шт.

34

04205-10822

PIN

SN: 10201-UP

2шт.

35

04050-12015

PIN,COTTER

SN: 10201-UP

2шт.

36

195-61-45270

LEVER

SN: 10201-UP

1шт.

37

195-61-45280

PIN

SN: 10201-UP

1шт.

38

04050-12015

PIN,COTTER

SN: 10201-UP

1шт.

39

195-61-45290

SPRING

SN: 10201-UP

1шт.

|$$46

====================

-1шт.

Выбрано товаров: 46