Запчасти Komatsu D475A-2 TORQHE CONVERTER КЛАПАН (/) ГТР CONVERTOR¤ ТРАНСМИССИЯ¤ РУЛЕВ. УПРАВЛЕНИЕ И КОНЕЧНАЯ ПЕРЕДАЧА

Схема запчастей Komatsu D475A-2 - TORQHE CONVERTER КЛАПАН (/) ГТР CONVERTOR¤ ТРАНСМИССИЯ¤ РУЛЕВ. УПРАВЛЕНИЕ И КОНЕЧНАЯ ПЕРЕДАЧА
FIT
1:1
100%

Артикул

Название

Примечание

Количество

|1

198-00-00030

POWER LINE ASS'Y,(WITHOUT SHOE SLIP CONTROL)

SN: 10201-UP

1шт.

|1

198-00-00040

POWER LINE ASS'Y,(WITH SHOE SLIP CONTROL)

SN: 10201-UP

1шт.

|$$3

THESE ASSEMBLIES CONSIST OF ALL PARTS SHOWN IN FIGS.2301 TO 2515¤2603 TO 2622¤ AND 4501 T0 4622.

-1шт.

|1

711-66-00053

TORQUE CONVERTER A.,(TCS52-1D)

SN: 10201-UP

1шт.

|$$5

THIS ASSEMBLY CONSISTS OF ALL PARTS SHOWN IN FIGS.2301 TO 2352.

-1шт.

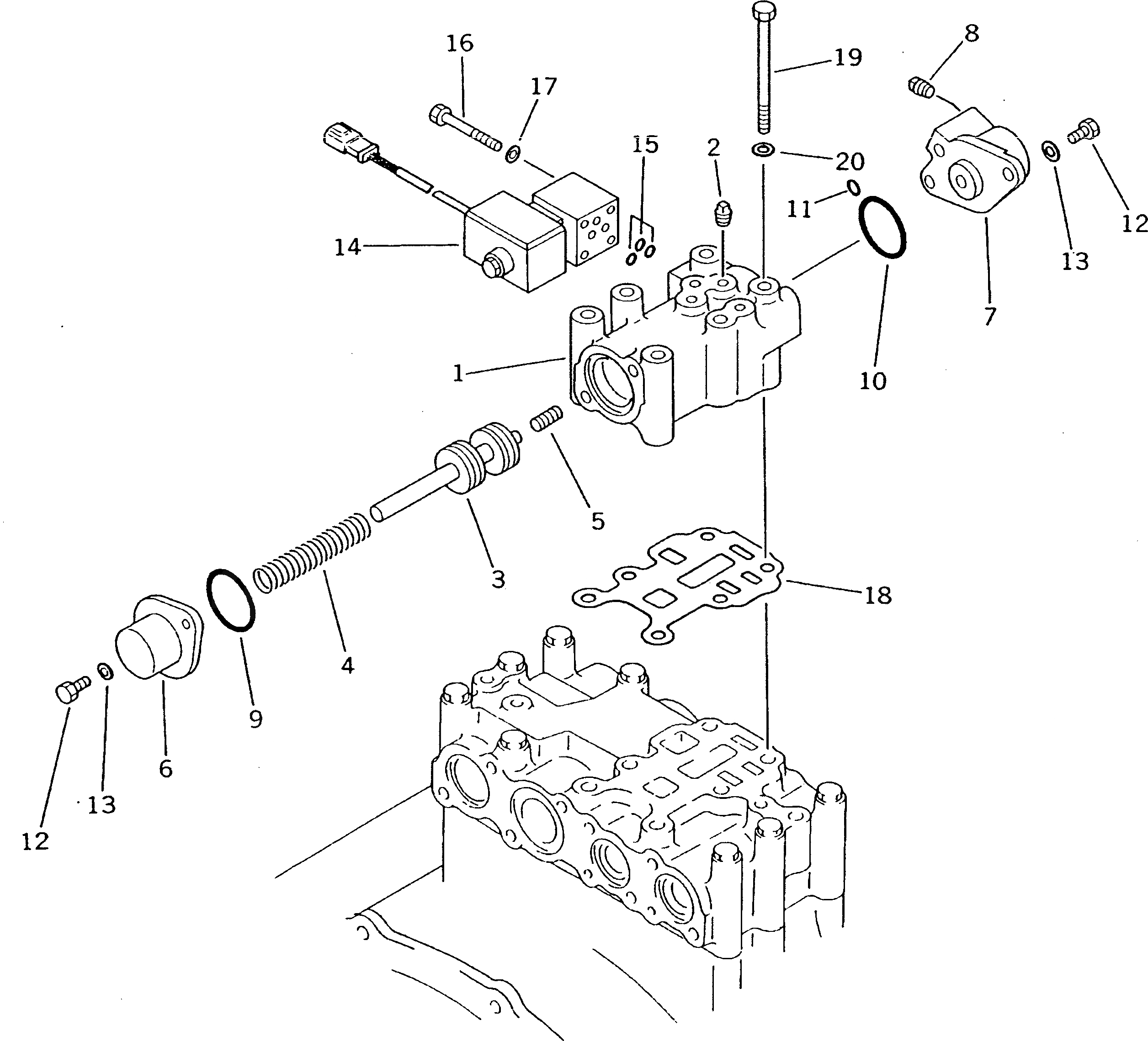
|1

711-66-00302

VALVE ASS'Y

SN: 10201-UP

1шт.

1

0

BODY

SN: 10201-UP

1шт.

2

07042-20108

PLUG

SN: 10201-UP

4шт.

3

711-66-16721

SPOOL

SN: 10201-UP

1шт.

4

711-66-16741

SPRING

SN: 10201-UP

1шт.

5

711-66-16731

PISTON

SN: 10201-UP

1шт.

6

711-66-16751

COVER

SN: 10201-UP

1шт.

|7

711-66-00330

COVER ASS'Y

SN: 10201-UP

1шт.

7

0

COVER

SN: 10201-UP

1шт.

8

07042-20108

PLUG

SN: 10201-UP

1шт.

9

07000-63048

O-RING (KIT)

SN: 10201-UP

1шт.

10

07000-63045

O-RING (KIT)

SN: 10201-UP

1шт.

11

07000-62010

O-RING (KIT)

SN: 10201-UP

1шт.

12

01010-51025

BOLT

SN: 10201-UP

4шт.

13

01643-31032

WASHER

SN: 10201-UP

4шт.

14

711-67-11310

VALVE ASS'Y,SOLENOID

SN: 10201-UP

1шт.

15

07000-21006

O-RING (KIT)

SN: 10201-UP

3шт.

16

01010-30655

BOLT

SN: 10201-UP

4шт.

17

01643-30623

WASHER

SN: 10201-UP

4шт.

18

711-66-16920

GASKET (KIT)

SN: 10201-UP

1шт.

19

01011-51090

BOLT

SN: 10201-UP

6шт.

20

01643-31032

WASHER

SN: 10201-UP

6шт.

Выбрано товаров: 27