Запчасти Komatsu D475A-2 КЛАПАН РУЛЕВОГО УПРАВЛЕНИЯ (/) СИСТЕМА УПРАВЛЕНИЯ

Схема запчастей Komatsu D475A-2 - КЛАПАН РУЛЕВОГО УПРАВЛЕНИЯ (/) СИСТЕМА УПРАВЛЕНИЯ
FIT
1:1
100%

Артикул

Название

Примечание

Количество

|1

198-00-00030

POWER LINE ASS'Y,(WITHOUT SHOE SLIP CONTROL)

SN: 10201-UP

1шт.

|1

198-00-00040

POWER LINE ASS'Y,(WITH SHOE SLIP CONTROL)

SN: 10201-UP

1шт.

|$$3

THESE ASSEMBLIES CONSIST OF ALL PARTS SHOWN IN FIGS.2301 TO 2515¤2603 TO 2622¤ AND 4501 T0 4622.

-1шт.

|1

195-40-00600

STEERING VALVE ASS'Y

SN: 10350-UP

1шт.

|1

0

STEERING VALVE ASS'Y

SN: 10201-10349

1шт.

|$$6

THESE ASSEMBLIES CONSIST OF ALL PARTS SHOWN IN FIGS.4501 TO 4503.

-1шт.

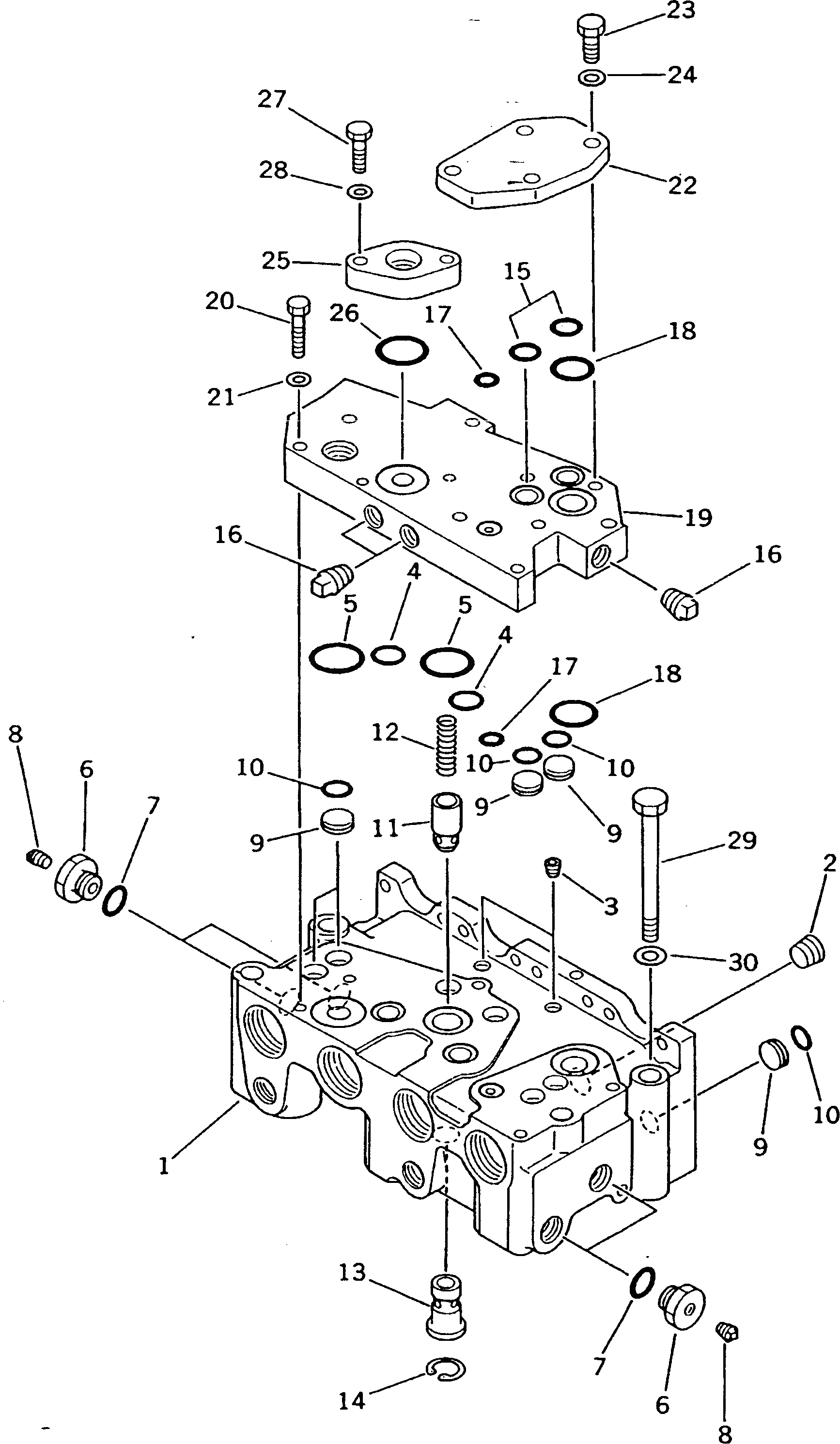
1

195-40-31110

BODY

SN: 10201-UP

1шт.

2

07043-70312

PLUG

SN: 10201-UP

1шт.

3

07043-70108

PLUG

SN: 10201-UP

2шт.

4

07000-72018

O-RING

SN: 10201-UP

2шт.

5

07000-73028

O-RING

SN: 10201-UP

2шт.

6

195-40-31670

PLUG

SN: 10201-UP

6шт.

7

07002-01823

O-RING

SN: 10201-UP

6шт.

8

07042-30108

PLUG

SN: 10201-UP

7шт.

9

195-40-31660

PLUG

SN: 10201-UP

8шт.

10

07000-02012

O-RING

SN: 10201-UP

8шт.

11

07750-02037

VALVE,CHECK

SN: 10201-UP

1шт.

12

07750-02038

SPRING

SN: 10201-UP

1шт.

13

195-40-31680

VALVE

SN: 10201-UP

1шт.

14

04065-02412

RING

SN: 10201-UP

1шт.

15

07000-72018

O-RING

SN: 10201-UP

2шт.

16

07042-30312

PLUG

SN: 10201-UP

5шт.

17

07000-72012

O-RING

SN: 10201-UP

2шт.

18

07000-73025

O-RING

SN: 10201-UP

2шт.

19

195-40-31690

SEAT

SN: 10201-UP

1шт.

20

01010-50840

BOLT

SN: 10201-UP

5шт.

21

01643-30823

WASHER

SN: 10201-UP

5шт.

22

195-40-31730

PLATE

SN: 10201-UP

1шт.

23

01010-51025

BOLT

SN: 10201-UP

4шт.

24

01643-31032

WASHER

SN: 10201-UP

4шт.

25

195-40-31710

FLANGE

SN: 10201-UP

1шт.

26

07000-73028

O-RING

SN: 10201-UP

1шт.

27

01010-50830

BOLT

SN: 10201-UP

2шт.

28

01643-30823

WASHER

SN: 10201-UP

2шт.

29

01011-51215

BOLT

SN: 10201-UP

4шт.

30

01643-31232

WASHER

SN: 10201-UP

4шт.

Выбрано товаров: 36