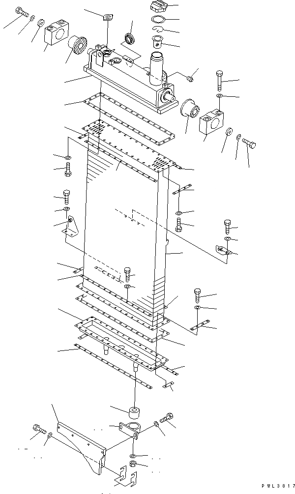
Запчасти Komatsu D475A-3 SUB РАДИАТОР (ДЛЯ SIGHT GAUGE) ЧАСТИ КОРПУСА

Схема запчастей Komatsu D475A-3 - SUB РАДИАТОР (ДЛЯ SIGHT GAUGE) ЧАСТИ КОРПУСА
1
2
3
4
4
5
5
5
5
6
6
6
6
7
7
8
9
9
10
11
11
12
12
12
12
12
13
14
15
16
17
18
18
19
19
20
20
21
21
22
22
23
24
25
26
27
28
29
30
31
32
33
34
35
36
37
38
39
40
FIT
1:1
100%

Артикул

Название

Примечание

Количество

|$2

198-03-62600

RADIATOR ASS'Y

SN: 10601-UP

1шт.

1

198-03-62410

CORE

SN: 10601-UP

1шт.

2

198-03-62670

TANK UPPER

SN: 10601-UP

1шт.

3

198-03-62430

TANK, LOWER

SN: 10601-UP

1шт.

4

198-03-62440

GASKET

SN: 10601-UP

1шт.

5

198-03-62450

PLATE

SN: 10601-UP

4шт.

6

198-03-62460

PLATE

SN: 10601-UP

4шт.

7

198-03-62470

PLATE

SN: 10601-UP

2шт.

8

198-03-62480

PLATE

SN: 10601-UP

2шт.

9

01010-81040

BOLT

SN: 10601-UP

32шт.

10

01010-81045

BOLT

SN: 10601-UP

2шт.

11

01010-81035

BOLT

SN: 10601-UP

34шт.

12

01643-31032

WASHER

SN: 10601-UP

68шт.

13

07042-70108

PLUG

SN: 10601-UP

1шт.

14

198-03-64630

BRACKET

SN: 10601-UP

1шт.

15

01010-81060

BOLT

SN: 10601-UP

2шт.

16

01643-31032

WASHER

SN: 10601-UP

2шт.

17

198-03-64640

BRACKET

SN: 10601-UP

1шт.

18

198-03-62521

BLOCK

SN: 10601-UP

2шт.

19

17A-03-11281

RUBBER

SN: 10601-UP

2шт.

20

565-43-14630

SPACER

SN: 10601-UP

2шт.

21

01010-81225

BOLT

SN: 10601-UP

2шт.

22

01643-31232

WASHER

SN: 10601-UP

2шт.

23

201-03-51310

CAP

SN: 10601-UP

1шт.

24

07053-00002

GASKET

SN: 10601-UP

1шт.

25

07053-10000

CAP

SN: 10601-UP

1шт.

26

07056-00048

STRAINER

SN: 10601-UP

1шт.

27

07057-03271

RING,SNAP

SN: 10601-UP

1шт.

28

01011-82040

BOLT

SN: 10601-UP

4шт.

29

01643-32060

WASHER

SN: 10601-UP

4шт.

30

198-03-62922

BRACKET

SN: 10601-UP

1шт.

31

41H-N03-1480

SHIM, 1.0MM

SN: 10601-UP

10шт.

32

01010-82060

BOLT

SN: 10601-UP

2шт.

33

01643-32060

WASHER

SN: 10601-UP

2шт.

34

19M-03-11440

CUSHION

SN: 10601-UP

2шт.

35

198-03-51272

BRACKET

SN: 10601-UP

2шт.

36

01643-32460

WASHER

SN: 10601-UP

2шт.

37

01580-12419

NUT

SN: 10601-UP

2шт.

38

01010-81240

BOLT

SN: 10601-UP

4шт.

39

01643-31232

WASHER

SN: 10601-UP

4шт.

40

198-03-62490

GAUGE

SN: 10601-UP

1шт.

Выбрано товаров: 41