Запчасти Komatsu D475A-5 КЛАПАН PPC(ДЛЯ ОТВАЛ УПРАВЛ-Е) ОСНОВН. КОМПОНЕНТЫ И РЕМКОМПЛЕКТЫ

Схема запчастей Komatsu D475A-5 - КЛАПАН PPC(ДЛЯ ОТВАЛ УПРАВЛ-Е) ОСНОВН. КОМПОНЕНТЫ И РЕМКОМПЛЕКТЫ
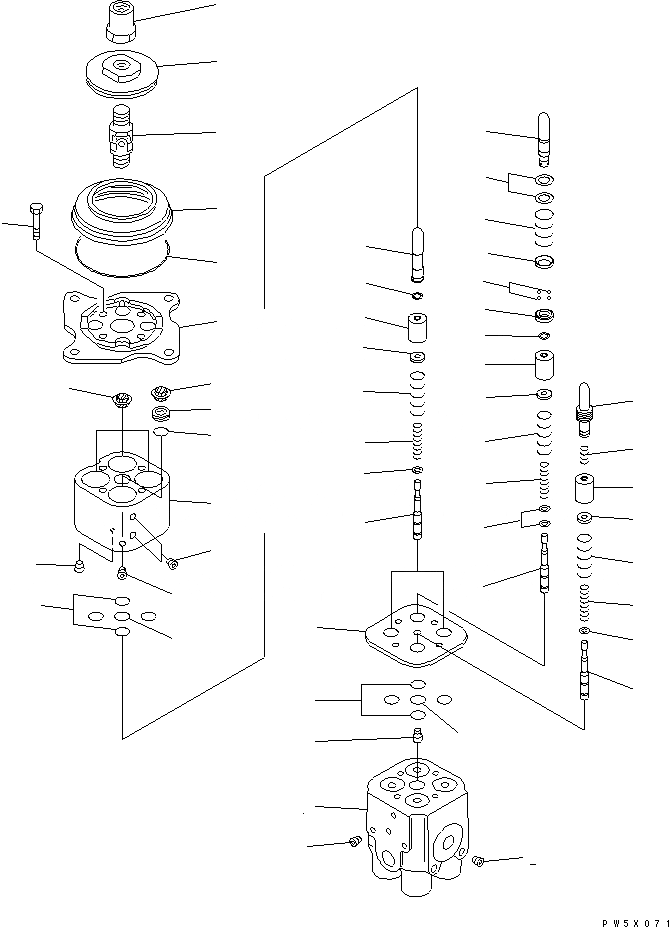
1
2
3
4
4
4
5
5
5
6
7
7
8
8
8
9
10
11
12
12
13
14
15
16
17
18
19
20
21
22
23
23
23
24
25
26
27
28
29
30
30
31
32
33
34
35
36
36
36
37
37
38
38
FIT
1:1
100%

Артикул

Название

Примечание

Количество

|1

702-16-03870

PILOT VALVE

SN: 20001-UP

1шт.

1

0

BODY,VALVE

SN: 20001-UP

1шт.

2

0

PLUG

SN: 20001-UP

2шт.

3

0

PLUG

SN: 20001-UP

2шт.

4

0

VALVE

SN: 20001-UP

4шт.

5

702-16-51140

SHIM¤ 0.30MM

SN: 20001-UP

4шт.

|5

702-16-54670

SHIM¤ 0.20MM

SN: 20001-UP

1шт.

6

702-16-53420

SPRING

SN: 20001-UP

2шт.

7

702-16-55620

SPRING

SN: 20001-UP

2шт.

8

702-16-53140

RETAINER

SN: 20001-UP

4шт.

9

702-16-56560

SPRING

SN: 20001-UP

1шт.

10

702-16-53460

SPRING

SN: 20001-UP

1шт.

11

702-16-54420

SPRING

SN: 20001-UP

2шт.

12

702-16-51270

SEAL

SN: 20001-UP

4шт.

13

07000-12020

O-RING

SN: 20001-UP

1шт.

14

702-16-58820

BOOT

SN: 20001-UP

1шт.

15

07000-02070

O-RING

SN: 20001-UP

1шт.

16

0

PLATE

SN: 20001-UP

1шт.

17

702-16-51240

JOINT,UNIVERSAL

SN: 20001-UP

1шт.

18

0

DISC

SN: 20001-UP

1шт.

19

702-16-53230

NUT

SN: 20001-UP

1шт.

20

0

PISTON

SN: 20001-UP

1шт.

21

0

PISTON

SN: 20001-UP

1шт.

22

0

PISTON

SN: 20001-UP

2шт.

23

0

PISTON

SN: 20001-UP

4шт.

24

0

BODY,VALVE

SN: 20001-UP

1шт.

25

0

SPRING

SN: 20001-UP

1шт.

26

0

PLATE

SN: 20001-UP

1шт.

27

0

ORIFICE

SN: 20001-UP

1шт.

28

0

COLLAR

SN: 20001-UP

1шт.

29

0

SPRING

SN: 20001-UP

1шт.

30

0

SHIM

SN: 20001-UP

4шт.

31

0

RETAINER

SN: 20001-UP

1шт.

32

702-16-55570

COLLAR

SN: 20001-UP

1шт.

33

0

SPACER

SN: 20001-UP

4шт.

34

01010-80670

BOLT

SN: 20001-UP

4шт.

35

0

BALL

SN: 20001-UP

13шт.

36

0

SCREW

SN: 20001-UP

4шт.

37

0

O-RING

SN: 20001-UP

8шт.

38

0

O-RING

SN: 20001-UP

2шт.

Выбрано товаров: 40