Запчасти Komatsu D475A-5 SUB РАДИАТОР (БЕЗ SIGHT GAUGE) ЧАСТИ КОРПУСА

Схема запчастей Komatsu D475A-5 - SUB РАДИАТОР (БЕЗ SIGHT GAUGE) ЧАСТИ КОРПУСА
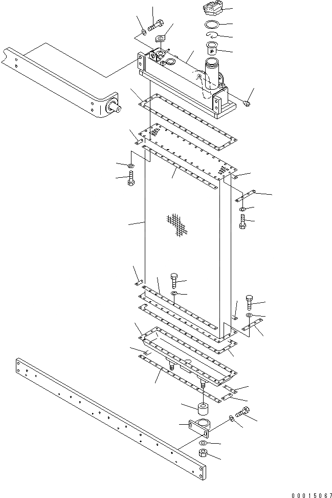
1
2
3
4
4
5
5
5
5
6
6
6
6
7
7
8
8
9
10
10
11
11
12
12
12
12
13
14
15
16
17
18
19
20
21
22
23
24
25
FIT
1:1
100%

Артикул

Название

Примечание

Количество

|$9

198-03-71501

RADIATOR ASS'Y

SN: 20001-UP

1шт.

1

198-03-71510

CORE

SN: 20001-UP

1шт.

2

198-03-71521

TANK,UPPER

SN: 20001-UP

1шт.

3

198-03-62430

TANK, LOWER

SN: 20001-UP

1шт.

4

198-03-62441

GASKET

SN: 20001-UP

2шт.

5

198-03-62450

PLATE

SN: 20001-UP

4шт.

6

198-03-62460

PLATE

SN: 20001-UP

4шт.

7

198-03-62470

PLATE

SN: 20001-UP

2шт.

8

198-03-62480

PLATE

SN: 20001-UP

2шт.

9

201-03-51310

CAP

SN: 20001-UP

1шт.

10

01010-81035

BOLT

SN: 20001-UP

34шт.

11

01010-81040

BOLT

SN: 20001-UP

34шт.

12

01643-31232

WASHER

SN: 20001-UP

68шт.

13

07042-70108

PLUG

SN: 20001-UP

1шт.

14

07053-00002

GASKET

SN: 20001-UP

1шт.

15

07093-20000

CAP

SN: 20001-UP

1шт.

16

07056-00048

STRAINER

SN: 20001-UP

1шт.

17

07057-03271

RING,SNAP

SN: 20001-UP

1шт.

18

01010-81650

BOLT

SN: 20001-UP

4шт.

19

01643-31645

WASHER

SN: 20001-UP

4шт.

20

19M-03-11440

CUSHION

SN: 20001-UP

2шт.

21

198-03-51272

BRACKET

SN: 20001-UP

2шт.

22

01643-32460

WASHER

SN: 20001-UP

2шт.

23

01580-12419

NUT

SN: 20001-UP

2шт.

24

01010-81240

BOLT

SN: 20001-UP

4шт.

25

01643-31232

WASHER

SN: 20001-UP

4шт.

Выбрано товаров: 26