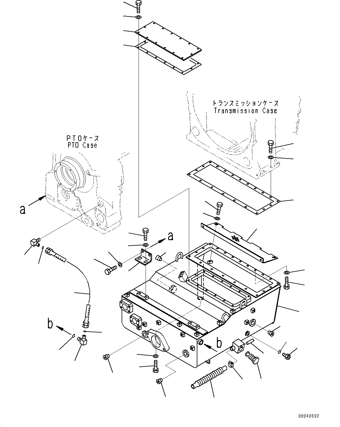
Запчасти Komatsu D475A-5E0 СИЛОВАЯ ПЕРЕДАЧА, БАК (№7-) СИЛОВАЯ ПЕРЕДАЧА

Схема запчастей Komatsu D475A-5E0 - СИЛОВАЯ ПЕРЕДАЧА, БАК (№7-) СИЛОВАЯ ПЕРЕДАЧА
28
20
15
12
13
19
5
14
22
1
29
25
24
25
24
23
4
17
3
2
18
16
21
6
8
7
26
10
10
10
10
9
27
30
27
11
FIT
1:1
100%

Артикул

Название

Примечание

Количество

|$0

198-22-60002

Power Train Assembly

SN: 30147-UP

1шт.

1

198-49-51113

Tank

SN: 30147-UP

1шт.

2

198-49-51190

Plate

SN: 30147-UP

1шт.

3

01010-81020

Bolt

SN: 30147-UP

4шт.

4

01643-31032

Washer

SN: 30147-UP

4шт.

5

195-60-41240

Valve

SN: 30147-UP

1шт.

6

6164-21-6510

Cover

SN: 30147-UP

1шт.

7

6164-21-6351

Gasket

SN: 30147-UP

1шт.

8

01010-81025

Bolt

SN: 30147-UP

14шт.

9

01643-31032

Washer

SN: 30147-UP

14шт.

10

02720-11616

Plug, Tapered

SN: 30147-UP

4шт.

11

07040-12412

Plug

SN: 30147-UP

1шт.

12

07002-62434

O-ring

SN: 30147-UP

1шт.

13

154-43-14650

Pin

SN: 30147-UP

1шт.

14

198-49-35210

Hose

SN: 30147-UP

1шт.

15

07281-00359

Clamp, Hose

SN: 30147-UP

1шт.

16

198-49-35181

Gasket

SN: 30147-UP

1шт.

17

01010-81230

Bolt

SN: 30147-UP

8шт.

18

01643-31232

Washer

SN: 30147-UP

8шт.

19

01010-81250

Bolt

SN: 30147-UP

8шт.

20

01643-31232

Washer

SN: 30147-UP

8шт.

21

01010-81250

Bolt

SN: 30147-UP

5шт.

22

01643-31232

Washer

SN: 30147-UP

5шт.

23

198-49-51210

Bracket

SN: 30147-UP

2шт.

24

01010-81235

Bolt

SN: 30147-UP

8шт.

25

01643-31232

Washer

SN: 30147-UP

8шт.

26

02762-00604

Hose, Face Seal Type

SN: 30147-UP

1шт.

27

02896-61018

O-ring

SN: 30147-UP

2шт.

28

198-04-65220

Elbow

SN: 30147-UP

1шт.

29

02782-10628

Elbow

SN: 30147-UP

1шт.

30

07002-62434

O-ring

SN: 30147-UP

1шт.

Выбрано товаров: 31