Запчасти Komatsu D475A-5E0 КРЫЛО, УПРАВЛЯЮЩ. КЛАПАН (/) (№7-) КРЫЛО, ДВИГАТЕЛЬ PRE-СМАЗКА СИСТЕМА, EXTRA BAD ТОПЛИВН. И ПЛОХ. ТОПЛИВО СПЕЦ-ЯIFICATION, ВОДН.+DUST, ДОПОЛН. ФИЛЬТР., УРОВЕНЬ ДАТЧИК

Схема запчастей Komatsu D475A-5E0 - КРЫЛО, УПРАВЛЯЮЩ. КЛАПАН (/) (№7-) КРЫЛО, ДВИГАТЕЛЬ PRE-СМАЗКА СИСТЕМА, EXTRA BAD ТОПЛИВН. И ПЛОХ. ТОПЛИВО СПЕЦ-ЯIFICATION, ВОДН.+DUST, ДОПОЛН. ФИЛЬТР., УРОВЕНЬ ДАТЧИК
15
13
9
3
7
5
10
5
7
8
4
5
8
6
7
8
7
8
13
10
5
7
8
4
8
6
7
9
11
9
15
14
12
9
9
15
11
14
12
1
12
9
8
2
5
7
5
8
7
15
9
3
5
7
2
7
5
8
9
8
8
5
7
8
7
5
12
15
8
9
3
7
5
8
5
7
FIT
1:1
100%

Артикул

Название

Примечание

Количество

|$0

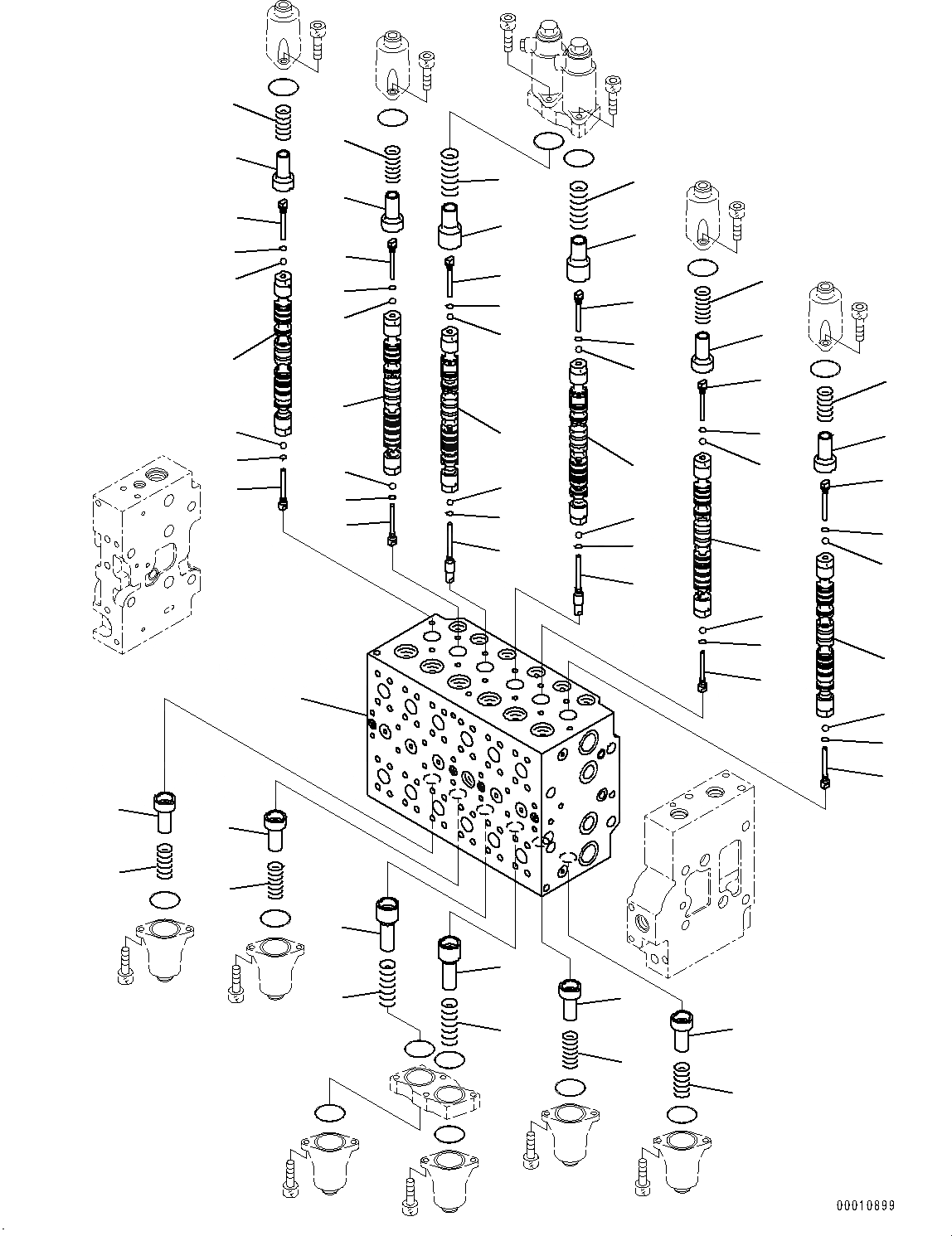
723-46-27200

Valve, Control

SN: 30147-UP

1шт.

1

Block, Valve

SN: 30147-UP

1шт.

2

Spool

SN: 30147-UP

2шт.

3

Spool

SN: 30147-UP

2шт.

4

Spool

SN: 30147-UP

2шт.

5

723-46-15130

Plug

SN: 30147-UP

10шт.

6

723-46-16350

Plug

SN: 30147-UP

2шт.

7

07002-10823

O-ring

SN: 30147-UP

12шт.

8

708-7T-16460

Ball

SN: 30147-UP

12шт.

9

723-46-15120

Retainer

SN: 30147-UP

8шт.

10

723-46-16320

Retainer

SN: 30147-UP

2шт.

11

723-46-16310

Retainer

SN: 30147-UP

2шт.

12

723-46-14110

Spring

SN: 30147-UP

4шт.

13

723-46-14390

Spring

SN: 30147-UP

2шт.

14

723-46-14310

Spring

SN: 30147-UP

2шт.

15

723-46-14340

Spring

SN: 30147-UP

4шт.

Выбрано товаров: 16