Запчасти Komatsu D475A-5E0 ПРОТИВОВЕС (№7-) ПРОТИВОВЕС

Схема запчастей Komatsu D475A-5E0 - ПРОТИВОВЕС (№7-) ПРОТИВОВЕС
6
7
8
9
10
11
12
13
1
2
3
4
5
FIT
1:1
100%

Артикул

Название

Примечание

Количество

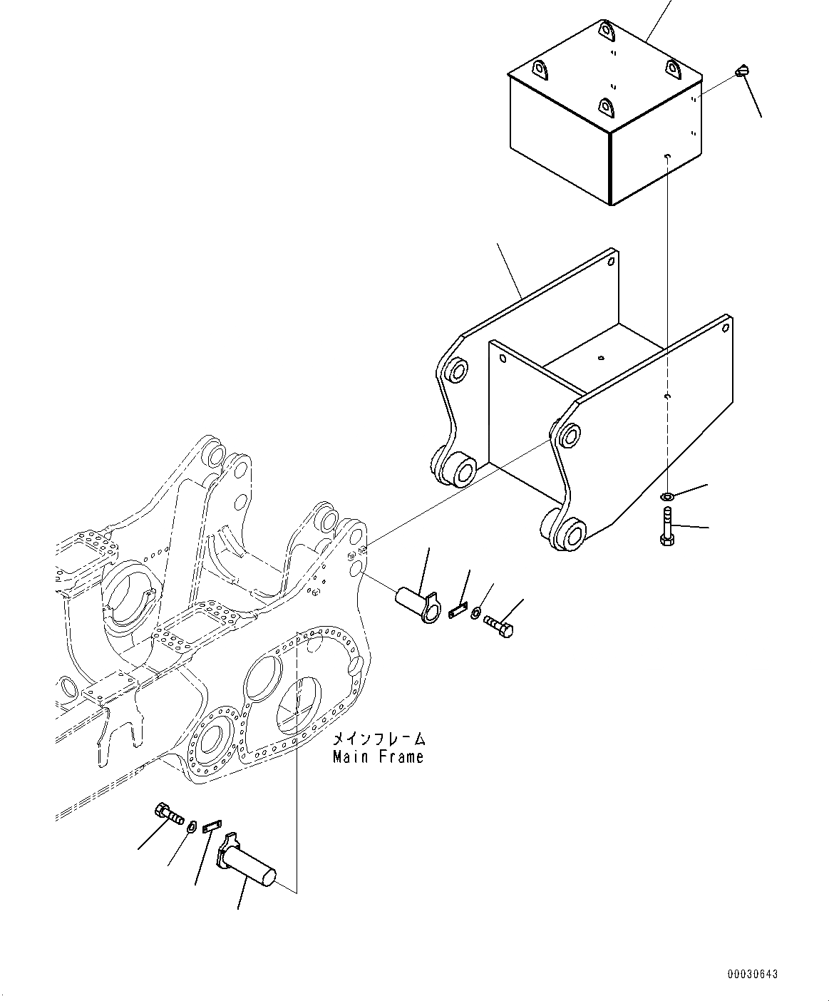
1

198-69-51111

Bracket

SN: 30147-UP

1шт.

2

198-69-51120

Weight

SN: 30147-UP

1шт.

3

01011-83025

Bolt

SN: 30147-UP

4шт.

4

01643-33080

Washer

SN: 30147-UP

4шт.

5

07049-03342

Plug, Cork

SN: 30147-UP

4шт.

6

198-78-21180

Pin

SN: 30147-UP

2шт.

7

205-70-61560

Plate

SN: 30147-UP

2шт.

8

01010-82045

Bolt

SN: 30147-UP

4шт.

9

01643-32060

Washer

SN: 30147-UP

4шт.

10

198-78-21140

Pin

SN: 30147-UP

2шт.

11

195-78-21171

Plate

SN: 30147-UP

2шт.

12

01010-82040

Bolt

SN: 30147-UP

4шт.

13

01643-32060

Washer

SN: 30147-UP

4шт.

Выбрано товаров: 13