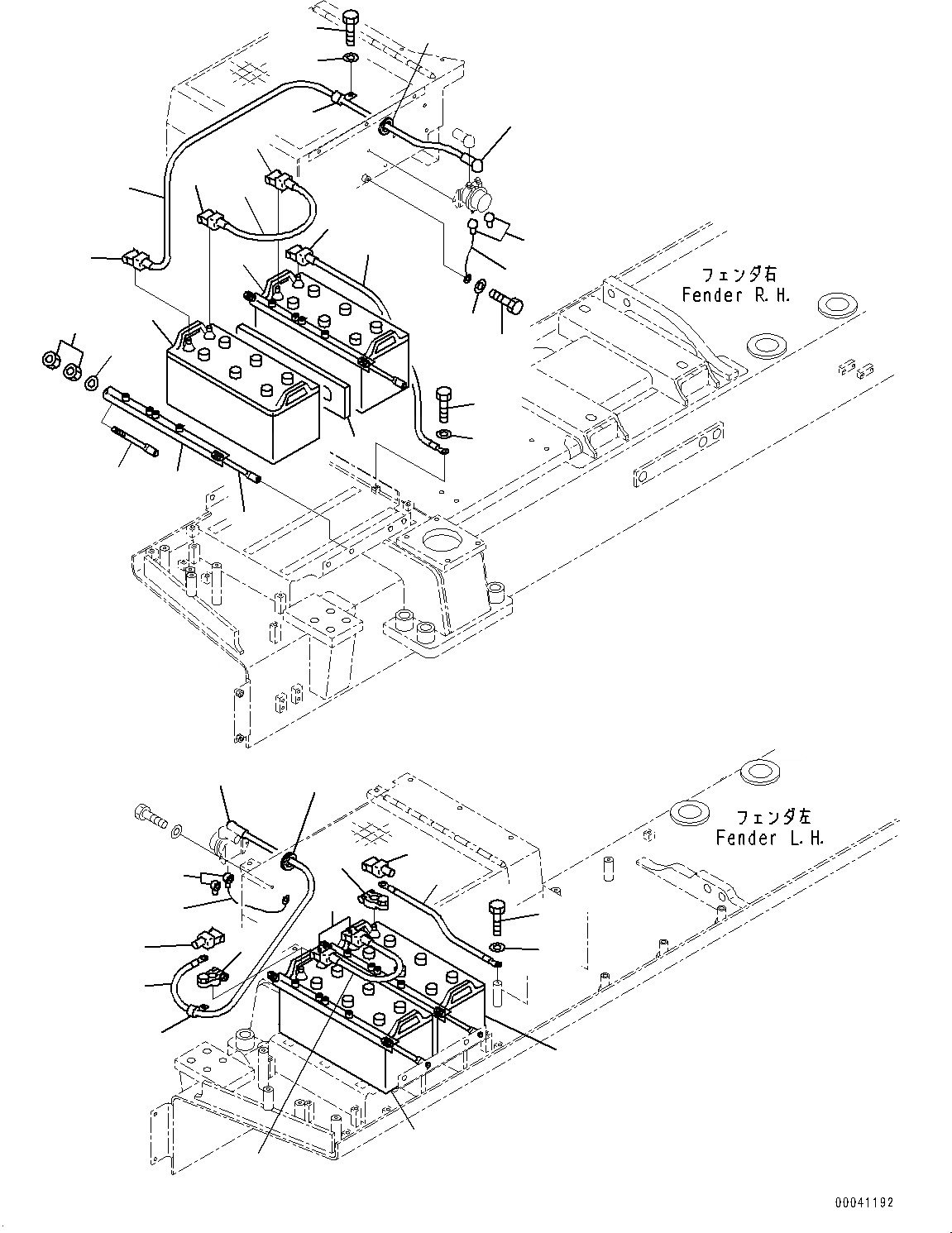
Запчасти Komatsu D475ASD-5E0 КРЫЛО, АККУМУЛЯТОР И ПРОВОДКА (№7-) КРЫЛО, ДВИГАТЕЛЬ PRE-СМАЗКА СИСТЕМА, РЕГУЛИР. DIGGING ANGLE МНОГОСТОЕЧН. РЫХЛИТ., EXTRA BAD ТОПЛИВН. И ПЛОХ. ТОПЛИВО СПЕЦ-ЯIFICATION, ВОДН.+DU

Схема запчастей Komatsu D475ASD-5E0 - КРЫЛО, АККУМУЛЯТОР И ПРОВОДКА (№7-) КРЫЛО, ДВИГАТЕЛЬ PRE-СМАЗКА СИСТЕМА, РЕГУЛИР. DIGGING ANGLE МНОГОСТОЕЧН. РЫХЛИТ., EXTRA BAD ТОПЛИВН. И ПЛОХ. ТОПЛИВО СПЕЦ-ЯIFICATION, ВОДН.+DU
11
9
24
12
13
23
10
15
10
10
10
20
3
18
10
12
16
11
9
1
27
17
15
1
5
7
2
8
26
25
6
4
5
14
22
1
1
27
28
29
21
30
19
FIT
1:1
100%

Артикул

Название

Примечание

Количество

1

08000-02221

Battery, Wet, C200

SN: 30147-UP

4шт.

2

08000-00000

Terminal, (+)

SN: 30147-UP

4шт.

3

08000-00001

Terminal, (-)

SN: 30147-UP

4шт.

4

198-06-46480

Holder

SN: 30147-UP

4шт.

5

08006-40255

Rod

SN: 30147-UP

8шт.

6

01643-31032

Washer

SN: 30147-UP

8шт.

7

01580-11008

Nut

SN: 30147-UP

16шт.

8

154-06-13262

Seat

SN: 30147-UP

2шт.

9

08038-22511

Cap

SN: 30147-UP

2шт.

10

08038-42511

Cap

SN: 30147-UP

6шт.

11

08038-00035

Cap, Terminal

SN: 30147-UP

2шт.

12

209-06-19680

Wire

SN: 30147-UP

2шт.

13

01010-80816

Bolt

SN: 30147-UP

2шт.

14

01643-30823

Washer

SN: 30147-UP

2шт.

15

195-06-23190

Cap

SN: 30147-UP

4шт.

16

08028-BE095

Cable, Battery

SN: 30147-UP

1шт.

17

01010-81025

Bolt

SN: 30147-UP

1шт.

18

01643-31032

Washer

SN: 30147-UP

1шт.

19

08037-03614

Grommet

SN: 30147-UP

1шт.

20

08028-75045

Cable, Battery

SN: 30147-UP

1шт.

21

08028-75060

Cable, Battery

SN: 30147-UP

1шт.

22

08028-75060

Cable, Battery

SN: 30147-UP

1шт.

23

08028-75045

Cable, Battery

SN: 30147-UP

1шт.

24

08028-55065

Cable, Ground

SN: 30147-UP

1шт.

25

01010-81025

Bolt

SN: 30147-UP

1шт.

26

01643-31032

Washer

SN: 30147-UP

1шт.

27

04434-51910

Clip

SN: 30147-UP

2шт.

28

01010-81016

Bolt

SN: 30147-UP

2шт.

29

01643-31032

Washer

SN: 30147-UP

2шт.

30

08037-03614

Grommet

SN: 30147-UP

1шт.

Выбрано товаров: 30