Запчасти Komatsu D475ASD-5E0 ОСНОВН. КОНСТРУКЦИЯ, ПОДЛОКОТНИК, ЛЕВ. (№7-) ОСНОВН. КОНСТРУКЦИЯ, ОТВАЛ С ДВОЙН. ПЕРЕКОСОМ, MINING СПЕЦ-ЯIFICATION, OPERATOR COMДЛЯT IMPROVEMENT ДЛЯ KAL

Схема запчастей Komatsu D475ASD-5E0 - ОСНОВН. КОНСТРУКЦИЯ, ПОДЛОКОТНИК, ЛЕВ. (№7-) ОСНОВН. КОНСТРУКЦИЯ, ОТВАЛ С ДВОЙН. ПЕРЕКОСОМ, MINING СПЕЦ-ЯIFICATION, OPERATOR COMДЛЯT IMPROVEMENT ДЛЯ KAL
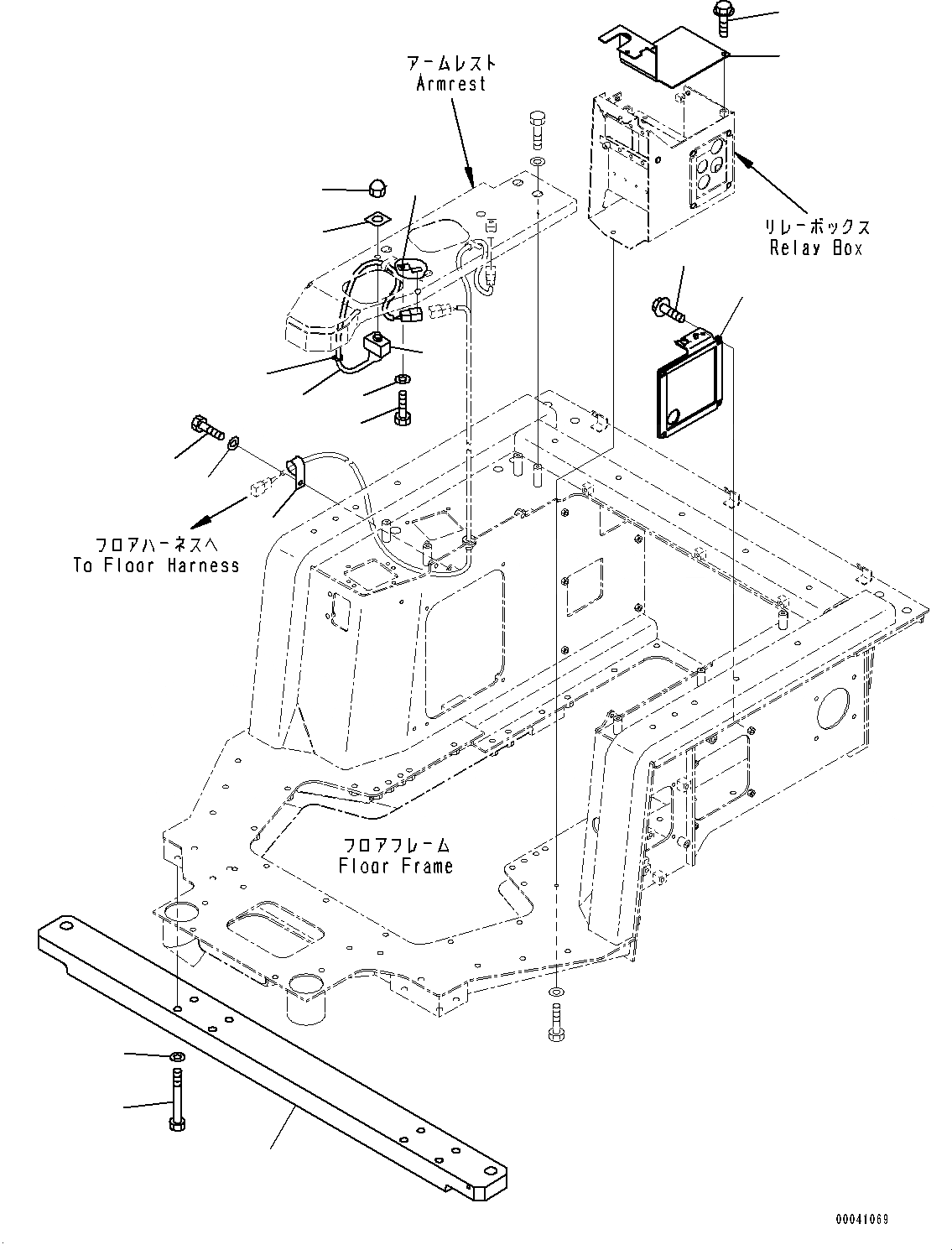
1
2
3
4
6
7
8
9
10
11
13
14
5
12
15
17
16
11
FIT
1:1
100%

Артикул

Название

Примечание

Количество

1

198-06-62180

Plate

SN: 30147-UP

1шт.

2

01435-00814

Bolt

SN: 30147-UP

3шт.

3

198-54-74521

Bracket

SN: 30147-UP

1шт.

4

01435-00825

Bolt

SN: 30147-UP

4шт.

5

198-54-74111

Support

SN: 30147-UP

1шт.

6

01010-81695

Bolt

SN: 30147-UP

8шт.

7

01643-31645

Washer

SN: 30147-UP

8шт.

8

04434-51010

Clip

SN: 30147-UP

1шт.

9

01010-81020

Bolt

SN: 30147-UP

1шт.

10

01643-31032

Washer

SN: 30147-UP

1шт.

11

08064-10000

Switch, Horn

SN: 30147-UP

1шт.

12

17A-06-41860

Wiring Harness

SN: 30147-UP

1шт.

13

08034-20310

Band, Black

SN: 30147-UP

1шт.

14

198-54-61780

Cover

SN: 30147-UP

1шт.

15

08193-21012

Clip

SN: 30147-UP

1шт.

16

01010-81016

Bolt

SN: 30147-UP

1шт.

17

01643-31032

Washer

SN: 30147-UP

1шт.

Выбрано товаров: 17