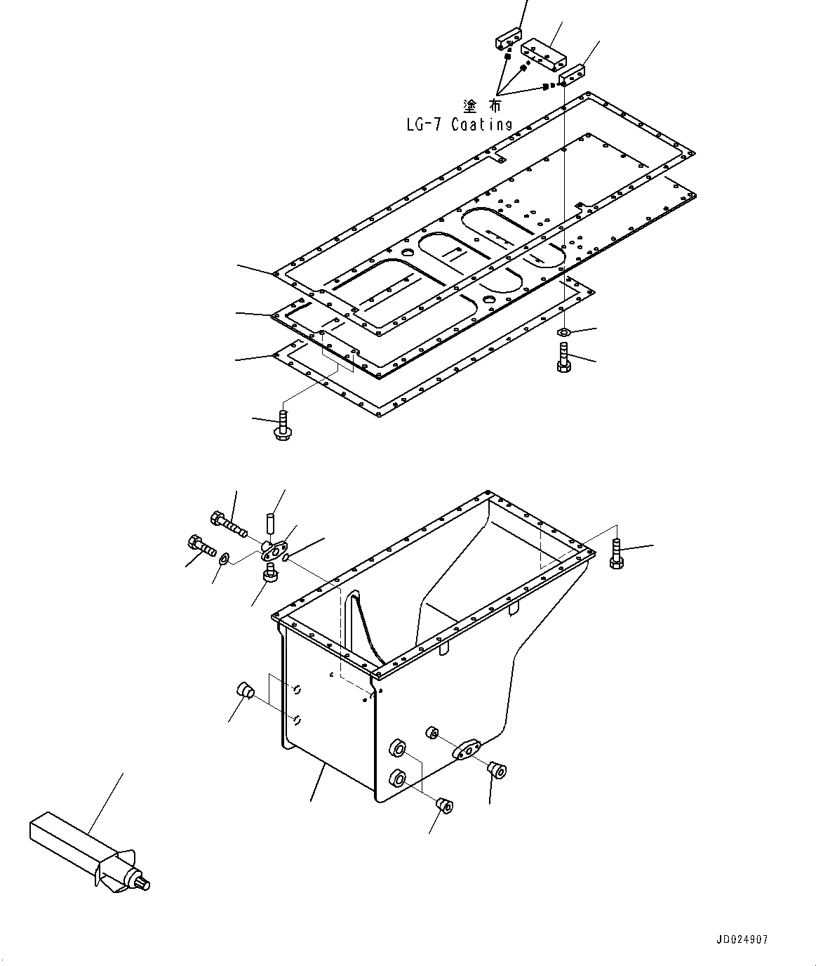
Запчасти Komatsu SAA12V140E-3A МАСЛЯНЫЙ ПОДДОН И ВСАСЫВАЮЩИЙ ПАТРУБОК, ОБОГРЕВ. МАСЛ. ПОДДОНА (№77-) МАСЛЯНЫЙ ПОДДОН И ВСАСЫВАЮЩИЙ ПАТРУБОК, МАСЛ. И ХЛАДАГЕНТ БЫСТР. ЗАПРАВ.

Схема запчастей Komatsu SAA12V140E-3A - МАСЛЯНЫЙ ПОДДОН И ВСАСЫВАЮЩИЙ ПАТРУБОК, ОБОГРЕВ. МАСЛ. ПОДДОНА (№77-) МАСЛЯНЫЙ ПОДДОН И ВСАСЫВАЮЩИЙ ПАТРУБОК, МАСЛ. И ХЛАДАГЕНТ БЫСТР. ЗАПРАВ.
9
10
1
4
3
4
2
6
17
15
11
13
16
14
18
12
12
19
7
8
5
20
9
10
1
4
3
4
2
6
17
15
11
13
16
14
18
12
12
19
7
8
5
20
FIT
1:1
100%

Артикул

Название

Примечание

Количество

1

6215-21-5210

Pan, Oil

SN: 505477-UP

1шт.

2

6215-21-5121

Plate, Under

SN: 505477-UP

1шт.

3

6215-21-5130

Plate

SN: 505477-UP

1шт.

4

6215-21-5140

Plate

SN: 505477-UP

2шт.

5

6215-21-5811

Gasket

SN: 505477-UP

1шт.

6

6215-21-5820

Gasket

SN: 505477-UP

1шт.

7

01010-81025

Bolt

SN: 505477-UP

23шт.

8

01643-31032

Washer

SN: 505477-UP

23шт.

9

01010-81035

Bolt

SN: 505477-UP

37шт.

10

01435-01020

Bolt

SN: 505477-UP

2шт.

11

07043-70211

Plug

SN: 505477-UP

1шт.

12

02720-41616

Plug

SN: 505477-UP

4шт.

|$12

6693-22-5600

Valve Assembly

SN: 505477-UP

1шт.

13

Body

SN: 505477-UP

1шт.

14

Valve

SN: 505477-UP

1шт.

15

07040-02412

Plug

SN: 505477-UP

1шт.

16

04020-00514

Pin, Dowel

SN: 505477-UP

1шт.

17

07000-73028

O-ring

SN: 505477-UP

1шт.

18

01010-81025

Bolt

SN: 505477-UP

2шт.

19

01643-31032

Washer

SN: 505477-UP

2шт.

20

09920-00150

Liquid gasket, LG-7, 150G

SN: 505477-UP

-2шт.

1

6215-21-5210

Pan, Oil

SN: 505477-UP

1шт.

2

6215-21-5121

Plate, Under

SN: 505477-UP

1шт.

3

6215-21-5130

Plate

SN: 505477-UP

1шт.

4

6215-21-5140

Plate

SN: 505477-UP

2шт.

5

6215-21-5811

Gasket

SN: 505477-UP

1шт.

6

6215-21-5820

Gasket

SN: 505477-UP

1шт.

7

01010-81025

Bolt

SN: 505477-UP

23шт.

8

01643-31032

Washer

SN: 505477-UP

23шт.

9

01010-81035

Bolt

SN: 505477-UP

37шт.

10

01435-01020

Bolt

SN: 505477-UP

2шт.

11

07043-70211

Plug

SN: 505477-UP

1шт.

12

02720-41616

Plug

SN: 505477-UP

4шт.

|$12

6693-22-5600

Valve Assembly

SN: 505477-UP

1шт.

13

Body

SN: 505477-UP

1шт.

14

Valve

SN: 505477-UP

1шт.

15

07040-02412

Plug

SN: 505477-UP

1шт.

16

04020-00514

Pin, Dowel

SN: 505477-UP

1шт.

17

07000-73028

O-ring

SN: 505477-UP

1шт.

18

01010-81025

Bolt

SN: 505477-UP

2шт.

19

01643-31032

Washer

SN: 505477-UP

2шт.

20

09920-00150

Liquid gasket, LG-7, 150G

SN: 505477-UP

-2шт.

Выбрано товаров: 42