Запчасти Komatsu D500E Turbo РУЛЕВ. УПРАВЛЕНИЕ И УПРАВЛ-Е ТОРМОЗОМ СИСТЕМАУПРАВЛЕНИЯ ПОВОРОТОМ, ПЕРЕДНИЙ МОСТ, ТОРМОЗ. СИСТЕМА

Схема запчастей Komatsu D500E Turbo - РУЛЕВ. УПРАВЛЕНИЕ И УПРАВЛ-Е ТОРМОЗОМ СИСТЕМАУПРАВЛЕНИЯ ПОВОРОТОМ, ПЕРЕДНИЙ МОСТ, ТОРМОЗ. СИСТЕМА
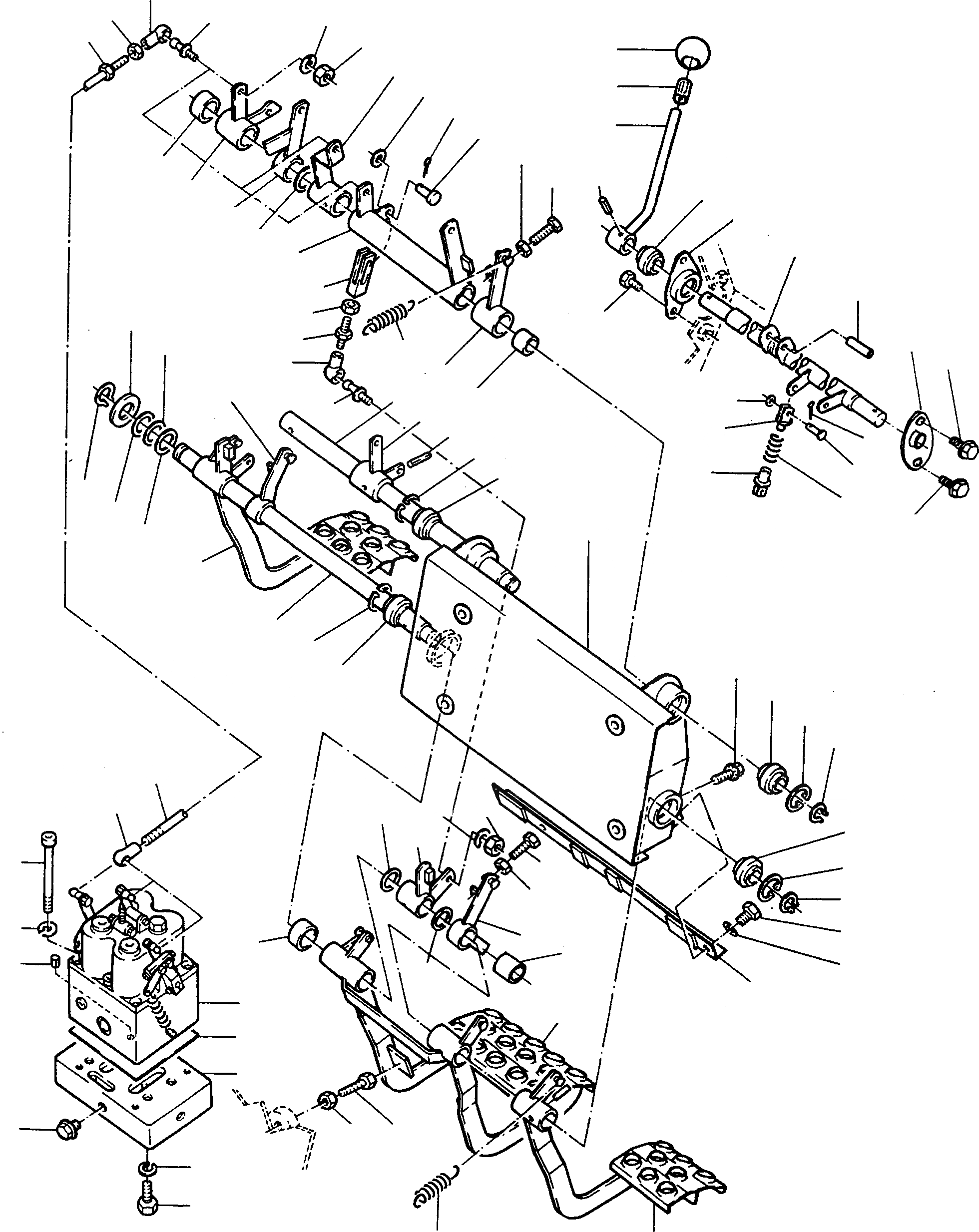
11
43
12
24
38
8
39
16A
9
40
68
62
29
42
63
56
41
50
58
49
69
54
31
55
30
46
53
28
34
44
35
22
67
36
55
26
45
67
37
17
19
33
66
14
38
32
71
21
65
61
57
70
64
23
72
27
13
25
20
61
47
57
54
60
59
9
10
39
40
46
54
18
4
60
49
50
59
5
74
48
58
75
46
73
1
16
2
3
7
52
51
5
6
45
15
FIT
1:1
100%

Артикул

Название

Примечание

Количество

1

2903136M93

CONTROL VALVE

DeutschDesc: STEUERVENTIL

1шт.

|$78

CONTROL VALVE

DeutschDesc: STEUERVENTIL

-3шт.

2

2903015M2

GASKET

DeutschDesc: DICHTUNG

1шт.

3

2985758M1

PLATE

DeutschDesc: PLATTE

1шт.

4

1444197X1

SCREW

DeutschDesc: SCHRAUBE

4шт.

5

1443790X1

SPRING WASHER

DeutschDesc: FEDERRING

4шт.

6

1444133X1

SCREW

DeutschDesc: SCHRAUBE

4шт.

7

3004779X1

PLUG

DeutschDesc: VERSCHLUSSSTOPFEN

2шт.

8

1444430X1

PEG

DeutschDesc: STIFT

1шт.

9

2985715M91

ROD

DeutschDesc: STANGE

3шт.

10

1444503X1

BALL SOCKET

DeutschDesc: KUGELPFANNE

3шт.

11

1444507X1

BALL SOCKET

DeutschDesc: KUGELPFANNE

3шт.

12

1442842X1

NUT

DeutschDesc: MUTTER

3шт.

13

2985706M91

BEARING PLATE

DeutschDesc: LAGERPLATTE

1шт.

14

2994628M1

BUSHING

DeutschDesc: BUCHSE

11шт.

15

2987289M91

LEVER

EnglischBem: LEFT

1шт.

15A

2985748M1

TUBE

DeutschDesc: ROHR

1шт.

16

2987290M91

PEDAL

DeutschDesc: PEDAL

1шт.

17

2985741M91

LEVER

EnglischBem: LEFT

1шт.

18

2999747M91

BEARING

DeutschDesc: LAGER

1шт.

19

2985745M91

LEVER

DeutschDesc: HEBEL

1шт.

20

2987288M91

LEVER

EnglischBem: RIGHT

1шт.

21

1444422X1

GROOVE PIN

DeutschDesc: KERBSTIFT

4шт.

22

4001101M1

DISC

DeutschDesc: SCHEIBE

1шт.

23

395565X1

CIRCLIP

DeutschDesc: SICHERUNGSRING

1шт.

24

2985752M1

SHAFT

DeutschDesc: WELLE

1шт.

25

1444381X1

DISC

EnglischBem: THICKNESS 0,1 MM

6шт.

25A

2995585X1

DISC

EnglischBem: THICKNESS 0,3 MM

6шт.

26

1444374X1

DISC

EnglischBem: THICKNESS O,5 MM

4шт.

27

1444376X1

DISC

EnglischBem: THICKNESS 1,0 MM

2шт.

28

2985735M91

LEVER

DeutschDesc: HEBEL

1шт.

29

2985738M91

LEVER

DeutschDesc: HEBEL

1шт.

30

2985740M91

LEVER

EnglischBem: RIGHT

1шт.

31

2985734M91

LEVER

DeutschDesc: HEBEL

1шт.

32

2985733M91

LEVER

DeutschDesc: HEBEL

1шт.

33

2985753M1

SHAFT

DeutschDesc: WELLE

1шт.

34

2985749M1

FORK HEAD

DeutschDesc: GABELKOPF

3шт.

35

390345X1

NUT

DeutschDesc: MUTTER

3шт.

36

2985751M91

ROD

DeutschDesc: STANGE

3шт.

37

1444507X1

BALL SOCKET

DeutschDesc: KUGELPFANNE

3шт.

38

1443816X1

BALL PIVOT

DeutschDesc: KUGELZAPFEN

6шт.

39

1443789X1

SPRING WASHER

DeutschDesc: FEDERRING

6шт.

40

339169X1

NUT

DeutschDesc: MUTTER

6шт.

41

3003114X1

PIN

DeutschDesc: BOLZEN

3шт.

42

339424X1

PLAIN WASHER

DeutschDesc: UNTERLEGSCHEIBE

3шт.

43

1444465X1

COTTER

DeutschDesc: SPLINT

3шт.

44

339513X1

PEG

DeutschDesc: STIFT

1шт.

45

2985754M1

SPRING

DeutschDesc: FEDER

3шт.

45A

2989385M1

SPRING

DeutschDesc: FEDER

4шт.

46

2889503M1

DISC

DeutschDesc: SCHEIBE

10шт.

47

3000827X1

SCREW

DeutschDesc: SCHRAUBE

4шт.

48

2985761M91

LEVER

DeutschDesc: HEBEL

1шт.

49

339287X1

SCREW

DeutschDesc: SCHRAUBE

2шт.

50

339169X1

NUT

DeutschDesc: MUTTER

2шт.

51

391561X1

SCREW

DeutschDesc: SCHRAUBE

4шт.

52

339402X1

NUT

DeutschDesc: MUTTER

4шт.

53

2987071M92

SHAFT

DeutschDesc: WELLE

1шт.

54

2988644M1

BALL AND SOCKET JOIN

DeutschDesc: GELENKLAGER

3шт.

55

2987293M91

BRACKET

DeutschDesc: HALTER

2шт.

56

2987078M91

LEVER

DeutschDesc: HEBEL

2шт.

57

2988645M1

BEARING

DeutschDesc: LAGER

1шт.

58

2988642M1

DISTANCE PIECE

DeutschDesc: DISTANZSTUECK

1шт.

59

1440475X1

CIRCLIP

DeutschDesc: SICHERUNGSRING

1шт.

60

339657X1

CIRCLIP

DeutschDesc: SICHERUNGSRING

1шт.

61

339895X1

CIRCLIP

DeutschDesc: SICHERUNGSRING

1шт.

62

1444598X1

BALL HEAD

DeutschDesc: KUGELKNOPF

2шт.

63

1444448X1

SLEEVE

DeutschDesc: HUELSE

2шт.

64

3003129X1

PIN

DeutschDesc: BOLZEN

2шт.

65

1444465X1

COTTER

DeutschDesc: SPLINT

2шт.

66

390734X1

PLAIN WASHER

DeutschDesc: UNTERLEGSCHEIBE

2шт.

67

391357X1

SCREW

DeutschDesc: SCHRAUBE

3шт.

68

2995685X1

SCREW

DeutschDesc: SCHRAUBE

1шт.

69

339783X1

PEG

DeutschDesc: STIFT

2шт.

70

2987080M1

FORK

DeutschDesc: GABEL

1шт.

71

2987081M1

FORK

DeutschDesc: GABEL

1шт.

72

2987296M1

SPRING

DeutschDesc: FEDER

1шт.

73

2988638M91

BRACKET

DeutschDesc: HALTER

1шт.

74

391357X1

SCREW

DeutschDesc: SCHRAUBE

2шт.

Выбрано товаров: 78