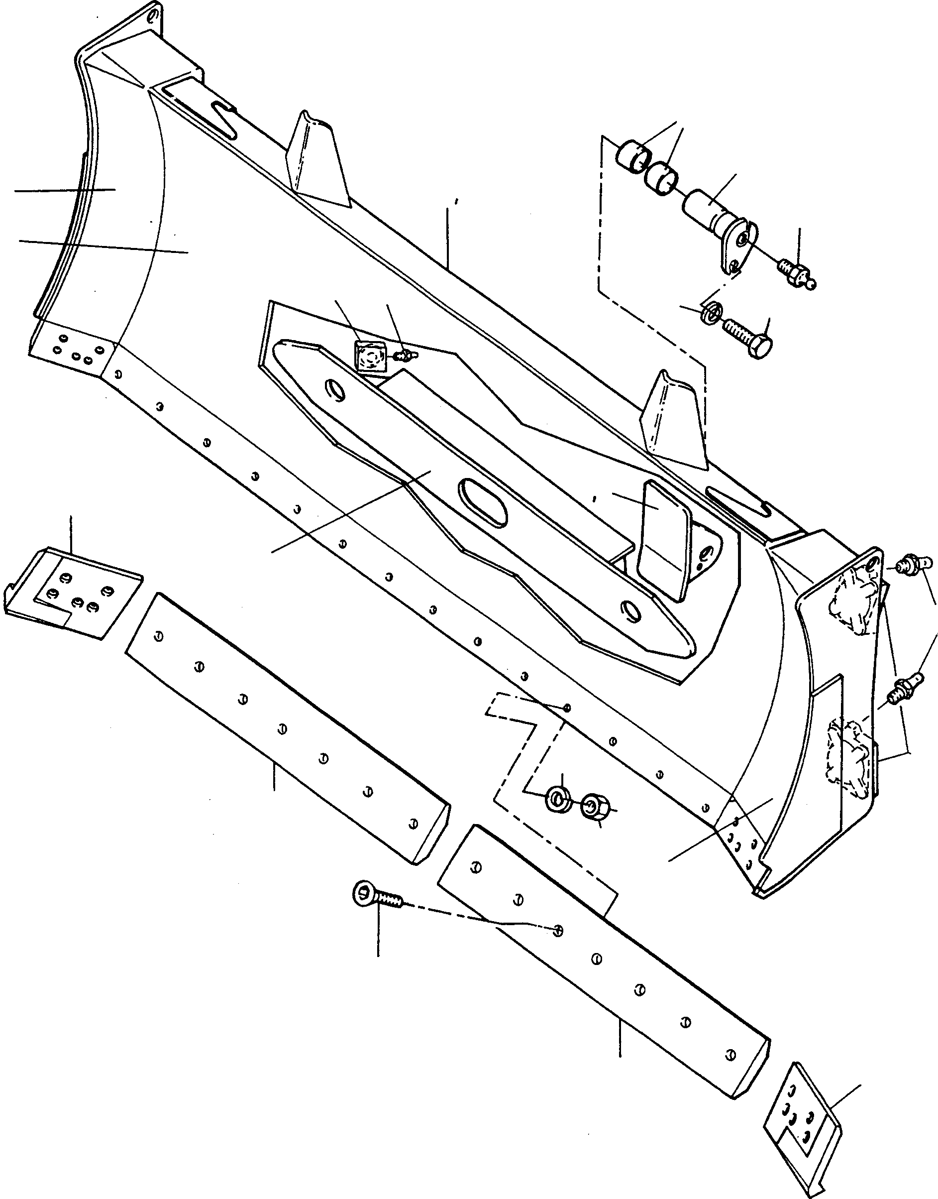
Запчасти Komatsu D500E Turbo ПОЛУ-U-НАКЛОН.-ОТВАЛ ОБОРУД-Е

Схема запчастей Komatsu D500E Turbo - ПОЛУ-U-НАКЛОН.-ОТВАЛ ОБОРУД-Е
14
19
6
7
18
4
1
2
20
3
10
11
21
22
9
11
8
16
12
17
5
15
12
13
FIT
1:1
100%

Артикул

Название

Примечание

Количество

1

2988193M91

U TILT BLADE

EnglischBem: D500E

1шт.

2

4001815M91

U TILT BLADE

EnglischBem: D500E LC

1шт.

3

2983753M1

TRAY

EnglischBem: NOTE: Pos. (3) included in Pos. (1) and (2) Kit

1шт.

4

2988188M1

TRAY

EnglischBem: NOTE: Pos. (4) included in Pos. (1) and (2) Kit

1шт.

5

2988187M1

TRAY

EnglischBem: NOTE: Pos. (5) included in Pos. (1) and (2) Kit

1шт.

6

4001933M91

BED BRACKET

EnglischBem: D500E

2шт.

7

4001934M91

BED BRACKET

EnglischBem: D500E LC

2шт.

8

3094544M1

FLANGE

EnglischBem: NOTE: Pos. (8) included in Pos. (1) and (2) Kit

4шт.

9

3095609M1

BED BRACKET

EnglischBem: NOTE: Pos. (9) included in Pos. (1) and (2) Kit

1шт.

10

3094545M1

FLANGE

DeutschDesc: FLANSCH

2шт.

11

339608X1

LUBRICATION NIPPLE

DeutschDesc: SCHMIERNIPPEL

6шт.

12

2983745M1

KNIFE

DeutschDesc: MESSER

2шт.

13

2988185M1

CORNER CUTTER

EnglischBem: LEFT

1шт.

14

2988184M1

CORNER CUTTER

EnglischBem: RIGHT

1шт.

15

3005779X1

SCREW

DeutschDesc: SCHRAUBE

24шт.

16

2994704M1

SPRING WASHER

EnglischBem: REPAIRS AND REPLACES 1443 796 X1

24шт.

17

2995299X1

NUT

DeutschDesc: MUTTER

24шт.

18

4001930M91

PIN

DeutschDesc: BOLZEN

2шт.

19

2739131M1

TUBE

DeutschDesc: ROHR

4шт.

20

339608X1

LUBRICATION NIPPLE

DeutschDesc: SCHMIERNIPPEL

2шт.

21

1443796X1

SPRING WASHER

DeutschDesc: FEDERRING

2шт.

22

391419X1

SCREW

DeutschDesc: SCHRAUBE

2шт.

Выбрано товаров: 22