Запчасти Komatsu D500E Turbo АККУМУЛЯТОР ДВИГАТЕЛЬ, АКСЕССУАРЫ И ЭЛЕКТРИЧ. СИСТЕМА

Схема запчастей Komatsu D500E Turbo - АККУМУЛЯТОР ДВИГАТЕЛЬ, АКСЕССУАРЫ И ЭЛЕКТРИЧ. СИСТЕМА
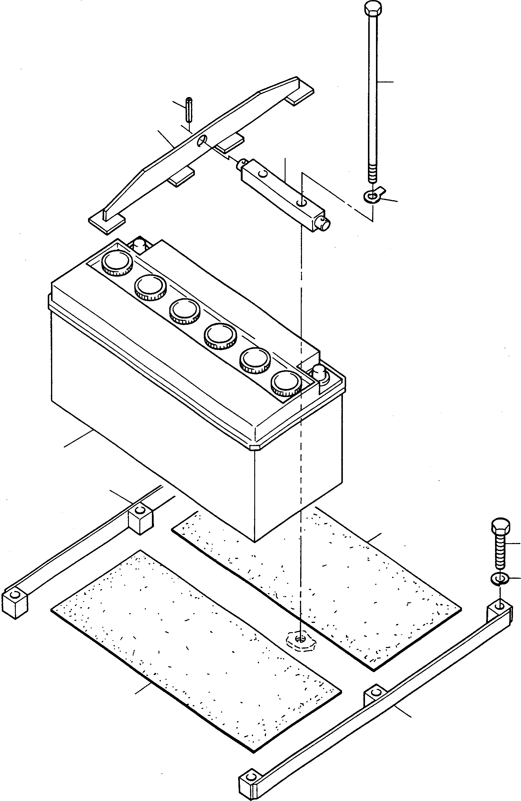
7
6
4
5
8
1
2
3
9
10
3
2
FIT
1:1
100%

Артикул

Название

Примечание

Количество

1

2995083X1

BATTERY

DeutschDesc: BATTERIE

2шт.

2

2987837M91

BRACKET

DeutschDesc: HALTER

2шт.

3

NOT USED

DeutschDesc: NICHT VERWENDET

-1шт.

4

2987842M91

BRACKET

SN: 336420060

2шт.

4A

2989410M91

BRACKET

SN: 336420061-UP

2шт.

5

2987844M1

DISTANCE PIECE

SN: 336420060

1шт.

5A

2989407M91

BRACKET

SN: 336420061-UP

1шт.

6

391015X1

GROOVE PIN

SN: 336420060

2шт.

6A

3002168X1

ADAPTER SLEEVES

SN: 336420061-UP

4шт.

7

2995249X1

SCREW

SN: 336420060

2шт.

7A

2998512M1

SCREW

SN: 336420061-UP

2шт.

8

3002143X1

TAB WASHER

SN: 336420060

2шт.

9

390799X1

SCREW

DeutschDesc: SCHRAUBE

6шт.

10

1443790X1

SPRING WASHER

DeutschDesc: FEDERRING

6шт.

11

2995553X1

CAP

SN: 336420061-UP

-1шт.

Выбрано товаров: 15