Запчасти Komatsu D50A-16 ПЕДАЛЬ ТОРМОЗА И МЕХАНИЗМ (/)(№7-8) СИСТЕМАУПРАВЛЕНИЯ ПОВОРОТОМ И КОНЕЧНАЯ ПЕРЕДАЧА

Схема запчастей Komatsu D50A-16 - ПЕДАЛЬ ТОРМОЗА И МЕХАНИЗМ (/)(№7-8) СИСТЕМАУПРАВЛЕНИЯ ПОВОРОТОМ И КОНЕЧНАЯ ПЕРЕДАЧА
FIT
1:1
100%

Артикул

Название

Примечание

Количество

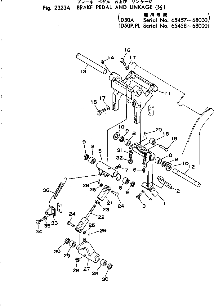
1

130-43-63540

LEVER

SN: 65457-68000

1шт.

2

130-43-63260

PEDAL

SN: 65001-68000

1шт.

3

01010-31220

BOLT

SN: 65001-68000

2шт.

4

01602-01236

WASHER

SN: 65001-68000

2шт.

5

130-43-63690

LEVER

SN: 65457-68000

1шт.

6

07020-00000

FITTING

SN: 65001-68000

1шт.

7

07020-00900

FITTING

SN: 65457-68000

1шт.

8

06120-03020

BEARING

SN: 65001-@

4шт.

9

06122-03004

SEAL

SN: 65001-@

4шт.

10

130-814-5250

COLLAR

SN: 65001-@

2шт.

11

130-43-63530

BRACKET

SN: 65457-68000

1шт.

12

130-43-63270

SHAFT

SN: 65001-68000

1шт.

13

130-43-63560

SHAFT

SN: 65457-68000

1шт.

14

01322-40820

SCREW

SN: 65457-68000

1шт.

15

01010-31250

BOLT

SN: 65457-68000

4шт.

16

01010-31270

BOLT

SN: 65457-@

4шт.

17

01602-01236

WASHER

SN: 65457-68000

8шт.

18

125-43-22280

ROLLER

SN: 65457-68000

1шт.

19

125-43-22290

PIN

SN: 65457-68000

1шт.

20

04050-04035

PIN

SN: 65457-68000

1шт.

21

04211-21478

YOKE

SN: 65457-68000

1шт.

22

04244-51413

ROD

SN: 65457-68000

1шт.

23

01582-01411

NUT

SN: 65457-68000

1шт.

24

04205-11438

PIN

SN: 65457-@

2шт.

25

01641-21423

WASHER

SN: 65457-@

2шт.

26

04050-04022

PIN

SN: 65457-@

2шт.

27

130-43-63550

LEVER

SN: 65457-68000

1шт.

28

07020-00900

FITTING

SN: 65457-68000

1шт.

29

06120-03020

BEARING

SN: 65001-68000

2шт.

30

06122-03004

SEAL

SN: 65001-@

2шт.

31

09311-31237

BUMPER

SN: 65001-68000

1шт.

32

01580-01210

NUT

SN: 65001-68000

1шт.

33

130-43-63280

PLATE

SN: 65001-68000

1шт.

34

01010-31016

BOLT

SN: 65001-68000

2шт.

35

01602-01030

WASHER

SN: 65001-68000

2шт.

36

111-43-15240

SPRING

SN: 65001-68000

1шт.

Выбрано товаров: 36