Запчасти Komatsu D50A-16 ГИДР. БАК. (/)(№-.) УПРАВЛ-Е РАБОЧИМ ОБОРУДОВАНИЕМ

Схема запчастей Komatsu D50A-16 - ГИДР. БАК. (/)(№-.) УПРАВЛ-Е РАБОЧИМ ОБОРУДОВАНИЕМ
FIT
1:1
100%

Артикул

Название

Примечание

Количество

|$0

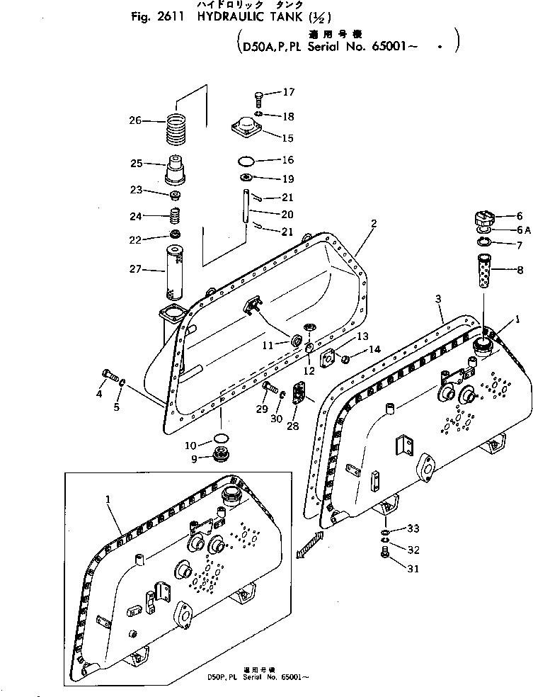
130-60-61001

HYDRAULIC TANK ASS'Y

SN: 65001-@

1шт.

|$1

0

HYDRAULIC TANK ASS'Y

SN: (65001-.)

1шт.

|$2

130-Z20-5101

HYDRAULIC TANK ASS'Y

SN: 65000-65000

1шт.

|$3

0

HYDRAULIC TANK ASS'Y

SN: (65000-65000)

1шт.

1

130-60-61112

TANK

SN: 65001-@

1шт.

1

0

TANK

SN: (.-..)

1шт.

1

0

TANK

SN: (65001-.)

1шт.

1

130-Z20-5112

TANK

SN: 65000-65000

1шт.

1

0

TANK

SN: (65000-65000)

1шт.

1

0

TANK

SN: (65000-65000)

1шт.

2

130-60-61121

TANK

SN: 65001-@

1шт.

2

0

TANK

SN: (65001-.)

1шт.

3

144-60-13170

GASKET

SN: 65001-@

1шт.

4

01010-31025

BOLT

SN: 65001-@

49шт.

5

01602-01030

WASHER

SN: 65001-@

49шт.

6

07051-00000

CAP

SN: 65001-@

1шт.

6A

07051-00003

GASKET

SN: 65001-@

1шт.

7

04065-04518

RING

SN: 65001-.

1шт.

8

131-60-13170

STRAINER

SN: 65001-.

1шт.

9

07044-13620

PLUG

SN: 65001-@

1шт.

10

07002-03634

O-RING

SN: 65001-@

1шт.

11

07715-11257

RING

SN: 65001-@

1шт.

12

07715-00651

COVER

SN: 65001-@

1шт.

13

07715-21074

CASE

SN: 65001-@

1шт.

14

01598-11011

NUT

SN: 65001-@

4шт.

15

130-60-42190

COVER

SN: 65001-@

1шт.

16

07000-02080

O-RING

SN: 65001-@

1шт.

17

01010-31025

BOLT

SN: 65001-@

4шт.

18

01602-01030

WASHER

SN: 65001-@

4шт.

19

130-60-42240

PLATE

SN: 65001-@

1шт.

20

130-60-42310

ROD

SN: 65001-@

1шт.

21

04050-03015

PIN

SN: 65001-@

2шт.

22

130-60-42230

SEAT

SN: 65001-@

1шт.

23

130-60-42220

VALVE

SN: 65001-@

1шт.

24

130-60-42320

SPRING

SN: 65001-@

1шт.

25

130-60-42211

SEAT

SN: 65001-@

1шт.

26

111-60-13370

SPRING

SN: 65001-@

1шт.

27

130-60-48210

ELEMENT

SN: 65001-@

1шт.

28

144-60-13311

STRAINER

SN: 65001-@

1шт.

29

01010-31020

BOLT

SN: 65001-@

2шт.

30

01602-01030

WASHER

SN: 65001-@

2шт.

31

01010-31440

BOLT

SN: 65001-@

5шт.

32

01602-01442

WASHER

SN: 65001-@

5шт.

33

01643-31445

WASHER

SN: 65001-@

5шт.

Выбрано товаров: 44