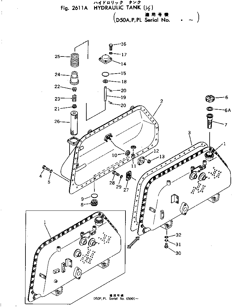
Запчасти Komatsu D50A-16 ГИДР. БАК. (/)(№.-) УПРАВЛ-Е РАБОЧИМ ОБОРУДОВАНИЕМ

Схема запчастей Komatsu D50A-16 - ГИДР. БАК. (/)(№.-) УПРАВЛ-Е РАБОЧИМ ОБОРУДОВАНИЕМ
FIT
1:1
100%

Артикул

Название

Примечание

Количество

|$0

130-60-61001

HYDRAULIC TANK ASS'Y

SN: 65001-UP

1шт.

|$1

130-Z20-5101

HYDRAULIC TANK ASS'Y

SN: 65000-65000

1шт.

1

130-60-61112

TANK

SN: 65001-UP

1шт.

1

130-Z20-5112

TANK

SN: 65000-65000

1шт.

2

130-60-61121

TANK

SN: 65001-UP

1шт.

3

144-60-13170

GASKET

SN: 65001-UP

1шт.

4

01010-31025

BOLT

SN: 65001-UP

49шт.

5

01602-01030

WASHER

SN: 65001-UP

49шт.

6

07051-00000

CAP

SN: 65001-UP

1шт.

6A

07051-00003

GASKET

SN: 65001-UP

1шт.

7

141-60-33730

STRAINER

SN: .-UP

1шт.

8

07044-13620

PLUG

SN: 65001-UP

1шт.

9

07002-03634

O-RING

SN: 65001-UP

1шт.

10

07715-11257

RING

SN: 65001-UP

1шт.

11

07715-00651

COVER

SN: 65001-UP

1шт.

12

07715-21074

CASE

SN: 65001-UP

1шт.

13

01598-11011

NUT

SN: 65001-UP

4шт.

14

130-60-42190

COVER

SN: 65001-UP

1шт.

15

07000-02080

O-RING

SN: 65001-UP

1шт.

16

01010-31025

BOLT

SN: 65001-UP

4шт.

17

01602-01030

WASHER

SN: 65001-UP

4шт.

18

130-60-42240

PLATE

SN: 65001-UP

1шт.

19

130-60-42310

ROD

SN: 65001-UP

1шт.

20

04050-03015

PIN

SN: 65001-UP

2шт.

21

130-60-42230

SEAT

SN: 65001-UP

1шт.

22

130-60-42220

VALVE

SN: 65001-UP

1шт.

23

130-60-42320

SPRING

SN: 65001-UP

1шт.

24

130-60-42211

SEAT

SN: 65001-UP

1шт.

25

111-60-13370

SPRING

SN: 65001-UP

1шт.

26

130-60-48210

ELEMENT

SN: 65001-UP

1шт.

27

144-60-13311

STRAINER

SN: 65001-UP

1шт.

28

01010-31020

BOLT

SN: 65001-UP

2шт.

29

01602-01030

WASHER

SN: 65001-UP

2шт.

30

01010-31440

BOLT

SN: 65001-UP

5шт.

31

01602-01442

WASHER

SN: 65001-UP

5шт.

32

01643-31445

WASHER

SN: 65001-UP

5шт.

Выбрано товаров: 0