Запчасти Komatsu D50A-16 ПАНЕЛЬ ПРИБОРОВ КОМПОНЕНТЫ ДВИГАТЕЛЯ И ЭЛЕКТРИКА

Схема запчастей Komatsu D50A-16 - ПАНЕЛЬ ПРИБОРОВ КОМПОНЕНТЫ ДВИГАТЕЛЯ И ЭЛЕКТРИКА
FIT
1:1
100%

Артикул

Название

Примечание

Количество

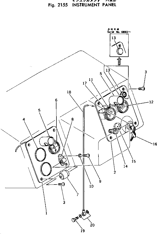
1

124-06-23120

PANEL,L.H.

SN: 65001-UP

1шт.

2

130-06-62131

PANEL,R.H.

SN: .-UP

1шт.

2

0

PANEL,R.H.

SN: 65001-.

1шт.

3

01225-40612

SCREW

SN: 65001-UP

8шт.

4

09414-00053

CAP

SN: 65001-UP

2шт.

5

08144-12400

LAMP

SN: 65001-UP

2шт.

6

08651-03000

AMMETER

SN: 65001-UP

1шт.

7

08670-50635

INDICATOR,DUST

SN: 65001-UP

1шт.

8

08671-00110

HOSE

SN: 65001-UP

1шт.

9

01220-40616

SCREW

SN: 65001-UP

2шт.

10

01601-20619

WASHER

SN: 65001-UP

2шт.

11

08655-00700

GAUGE,WATER TEMPERATURE

SN: 65001-UP

1шт.

12

08653-01000

GAUGE,OIL PRESSURE

SN: 65001-UP

1шт.

13

09415-01610

CAP,INDICATOR

SN: 68001-UP

1шт.

13

08147-22400

LAMP

SN: 65001-68000

1шт.

14

124-06-23140

SWITCH,LAMP

SN: 65001-UP

1шт.

14

08061-60010

SWITCH,LAMP (SEALED TYPE)

SN: 65001-UP

1шт.

15

6110-83-4812

SIGNAL,HEATER

SN: 65001-UP

1шт.

16

08086-00000

SWITCH,STARTING

SN: 65001-UP

1шт.

17

08669-00000

CLIP

SN: 65001-UP

2шт.

18

130-06-62120

TUBE

SN: 65001-UP

1шт.

19

07206-10610

BOLT

SN: 65001-UP

1шт.

20

07005-01012

GASKET

SN: 65001-UP

2шт.

Выбрано товаров: 23