Запчасти Komatsu D50A-17 СИГНАЛ. ЗАДНЕГО ХОДА(№8-8) ОПЦИОННЫЕ КОМПОНЕНТЫ

Схема запчастей Komatsu D50A-17 - СИГНАЛ. ЗАДНЕГО ХОДА(№8-8) ОПЦИОННЫЕ КОМПОНЕНТЫ
FIT
1:1
100%

Артикул

Название

Примечание

Количество

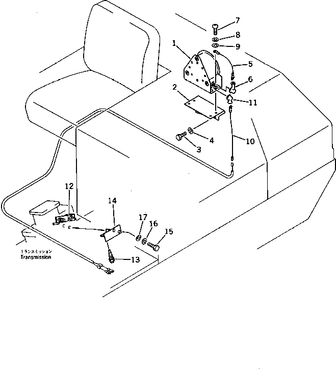
1

175-06-39151

ALARM

SN: 80001-82111

1шт.

2

120-06-35111

BRACKET

SN: 80001-82111

1шт.

3

01010-51230

BOLT

SN: 80001-82111

2шт.

4

01602-21236

WASHER,SPRING

SN: 80001-82111

2шт.

5

144-06-24630

WIRE

SN: 80001-82111

1шт.

6

08038-00518

CAP

SN: 80001-82111

1шт.

7

01220-40620

SCREW

SN: 80001-82111

4шт.

8

01602-20619

WASHER,SPRING

SN: 80001-82111

4шт.

9

01640-20610

WASHER

SN: 80001-82111

4шт.

10

120-06-35121

WIRE

SN: 80001-82111

1шт.

11

08038-00518

CAP

SN: 80001-82111

1шт.

12

130-A06-1130

LEVER

SN: 80001-82111

1шт.

13

08074-40000

SWITCH

SN: 80001-82111

1шт.

14

130-A06-1140

BRACKET

SN: 80001-82111

1шт.

15

01010-51030

BOLT

SN: 80001-82111

2шт.

16

01602-21030

WASHER,SPRING

SN: 80001-82111

2шт.

17

01643-31032

WASHER

SN: 80001-82111

2шт.

Выбрано товаров: 0