Запчасти Komatsu D50A-17 INERTIA ТОРМОЗ. ОСНОВН. МУФТА И ТРАНСМИССИЯ

Схема запчастей Komatsu D50A-17 - INERTIA ТОРМОЗ. ОСНОВН. МУФТА И ТРАНСМИССИЯ
FIT
1:1
100%

Артикул

Название

Примечание

Количество

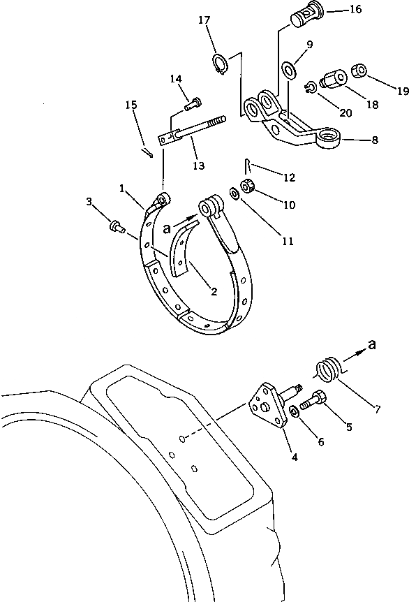
|1

141-10-33003

INERTIA BRAKE A.

SN: 82250-UP

1шт.

|1

141-10-00020

INERTIA BRAKE A.

SN: 80001-82249

1шт.

1

141-10-13110

BAND

SN: 80001-UP

1шт.

2

141-10-13121

LINING

SN: 82250-UP

4шт.

|2

141-10-13120

LINING

SN: 80001-82249

4шт.

3

141-10-33310

RIVET

SN: 80001-UP

12шт.

4

141-10-33290

SHAFT

SN: 80001-UP

1шт.

5

01010-31025

BOLT

SN: 80001-UP

3шт.

6

01602-01030

WASHER,SPRING

SN: 80001-UP

3шт.

7

141-10-13160

SPRING

SN: 80001-UP

1шт.

8

141-10-32390

LEVER

SN: 80001-UP

1шт.

9

01640-21626

WASHER

SN: 80001-UP

1шт.

10

01593-01008

NUT

SN: 80001-UP

1шт.

11

01640-21016

WASHER

SN: 80001-UP

1шт.

12

04050-02022

PIN,COTTER

SN: 80001-UP

1шт.

13

141-10-33220

ROD

SN: 80001-UP

1шт.

14

04205-00822

PIN

SN: 80001-UP

1шт.

15

04050-02012

PIN,COTTER

SN: 80001-UP

1шт.

16

141-10-33150

PIN

SN: 80001-UP

1шт.

17

04064-02512

RING,SNAP

SN: 80001-UP

1шт.

18

141-10-33161

NUT

SN: 80001-UP

1шт.

19

01580-01008

NUT

SN: 80001-UP

1шт.

20

04064-01610

RING,SNAP

SN: 80001-UP

1шт.

Выбрано товаров: 23