Запчасти Komatsu D50A-18 ТОПЛИВН. БАК.(№89-) ТОПЛИВН. БАК. AND КОМПОНЕНТЫ

Схема запчастей Komatsu D50A-18 - ТОПЛИВН. БАК.(№89-) ТОПЛИВН. БАК. AND КОМПОНЕНТЫ
FIT
1:1
100%

Артикул

Название

Примечание

Количество

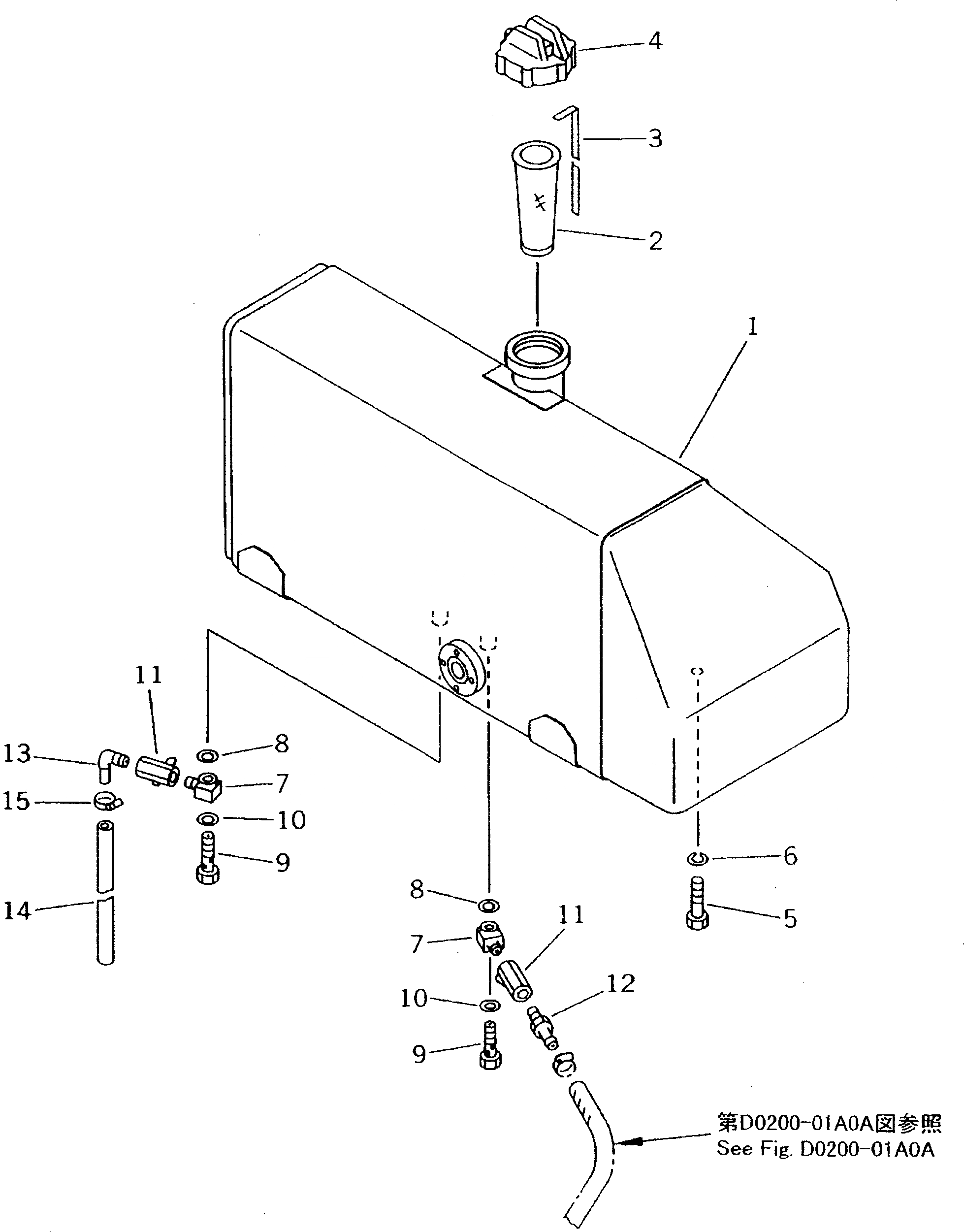
1

130-04-81120

TANK,FUEL

SN: 83195-UP

1шт.

2

07056-18416

STRAINER

SN: 83195-UP

1шт.

3

130-04-81130

GAUGE,LEVEL

SN: 83195-UP

1шт.

4

07050-41200

CAP

SN: 83195-UP

1шт.

|4

07050-21202

GASKET

SN: 83195-UP

1шт.

5

01010-81435

BOLT

SN: 83195-UP

6шт.

6

01602-21442

WASHER,SPRING

SN: 83195-UP

6шт.

7

113-04-22130

NIPPLE

SN: 83195-UP

2шт.

8

07005-02012

GASKET

SN: 83195-UP

2шт.

9

113-04-22190

BOLT,JOINT

SN: 83195-UP

2шт.

10

07005-01412

GASKET

SN: 83195-UP

2шт.

11

07700-40240

VALVE

SN: 83195-UP

2шт.

12

120-04-41130

NIPPLE

SN: 83195-UP

1шт.

13

124-04-21250

ELBOW

SN: 83195-UP

1шт.

14

07270-01260

TUBE

SN: 83195-UP

1шт.

15

07281-00197

CLAMP

SN: 83195-UP

1шт.

Выбрано товаров: 16