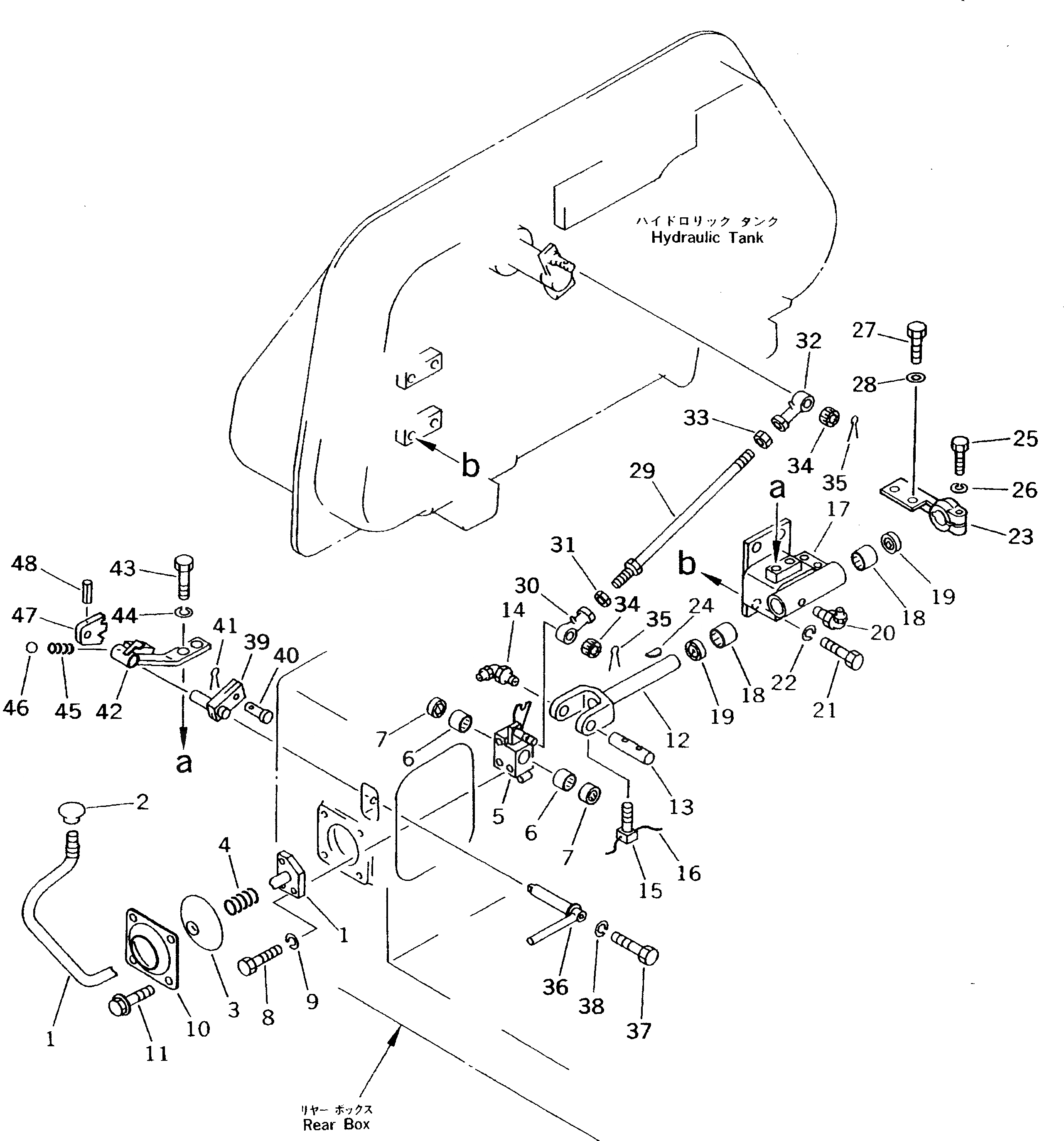
Запчасти Komatsu D50A-18 РЫЧАГ УПРАВЛЕНИЯ ОТВАЛОМ (ДЛЯ ПОВОРОТНОГО ОТВАЛА) (С СТАЛЬНАЯ КАБИНА)(№87-8) КАБИНА ОПЕРАТОРА И СИСТЕМА УПРАВЛЕНИЯ

Схема запчастей Komatsu D50A-18 - РЫЧАГ УПРАВЛЕНИЯ ОТВАЛОМ (ДЛЯ ПОВОРОТНОГО ОТВАЛА) (С СТАЛЬНАЯ КАБИНА)(№87-8) КАБИНА ОПЕРАТОРА И СИСТЕМА УПРАВЛЕНИЯ
FIT
1:1
100%

Артикул

Название

Примечание

Количество

1

130-43-72130

LEVER

SN: 83071-@

1шт.

2

09304-01250

KNOB

SN: 83071-@

1шт.

3

130-43-62140

COVER

SN: 83071-83120

1шт.

4

09340-10130

SPRING

SN: 83071-83120

1шт.

5

13F-43-31140

LEVER

SN: 83071-@

1шт.

6

06120-01612

BEARING,NEEDLE

SN: 83071-@

2шт.

7

06122-01603

SEAL,BEARING

SN: 83071-@

2шт.

8

07372-21030

BOLT

SN: 83071-@

3шт.

9

01602-21030

WASHER,SPRING

SN: 83071-@

3шт.

10

120-43-37293

COVER

SN: 83071-83120

1шт.

11

01439-00814

BOLT

SN: 83071-83120

4шт.

12

130-43-62320

SHAFT

SN: 83071-@

1шт.

13

135-43-11171

SHAFT

SN: 83071-@

1шт.

14

07020-00900

FITTING,GREASE

SN: 83071-@

1шт.

15

01306-00616

SCREW

SN: 83071-@

1шт.

16

04059-01012

WIRE,LOCK

SN: 83071-@

1шт.

17

130-43-62330

BRACKET

SN: 83071-@

1шт.

18

06120-02016

BEARING,NEEDLE

SN: 83071-@

2шт.

19

06122-02004

SEAL,BEARING

SN: 83071-@

2шт.

20

07020-00900

FITTING,GREASE

SN: 83071-@

1шт.

21

01010-51225

BOLT

SN: 83071-@

4шт.

22

01602-21236

WASHER,SPRING

SN: 83071-@

4шт.

23

144-43-16670

BRACKET

SN: 83071-@

1шт.

24

04010-00519

KEY

SN: 83071-@

1шт.

25

01010-50830

BOLT

SN: 83071-@

1шт.

26

01602-20825

WASHER,SPRING

SN: 83071-@

1шт.

27

01010-51020

BOLT

SN: 83071-@

2шт.

28

01602-21030

WASHER

SN: 83071-@

2шт.

29

04248-31032

ROD

SN: 83071-@

1шт.

30

04250-41056

END,ROD

SN: 83071-@

1шт.

31

01582-11008

NUT

SN: 83071-@

1шт.

32

04250-61056

END,ROD¤ L.H. THREAD

SN: 83071-@

1шт.

33

01508-21006

NUT,L.H. THREAD

SN: 83071-@

1шт.

34

01593-11008

NUT

SN: 83071-@

2шт.

35

04050-12018

PIN,COTTER

SN: 83071-@

2шт.

36

120-43-37261

LEVER,LOCK

SN: 83071-@

1шт.

37

01010-50655

BOLT

SN: 83071-@

1шт.

38

01602-20619

WASHER,SPRING

SN: 83071-@

1шт.

39

130-43-62360

SHAFT

SN: 83071-@

1шт.

40

04205-10822

PIN

SN: 83071-@

1шт.

41

04050-12012

PIN,COTTER

SN: 83071-@

1шт.

42

13F-43-31130

BRACKET

SN: 83071-@

1шт.

43

01010-51025

BOLT

SN: 83071-@

2шт.

44

01602-21030

WASHER,SPRING

SN: 83071-@

2шт.

45

131-60-42160

SPRING

SN: 83071-@

1шт.

46

04260-01270

BALL

SN: 83071-@

1шт.

47

125-43-34521

NOTCH

SN: 83071-@

1шт.

48

04025-00432

PIN,SPRING

SN: 83071-@

1шт.

Выбрано товаров: 48