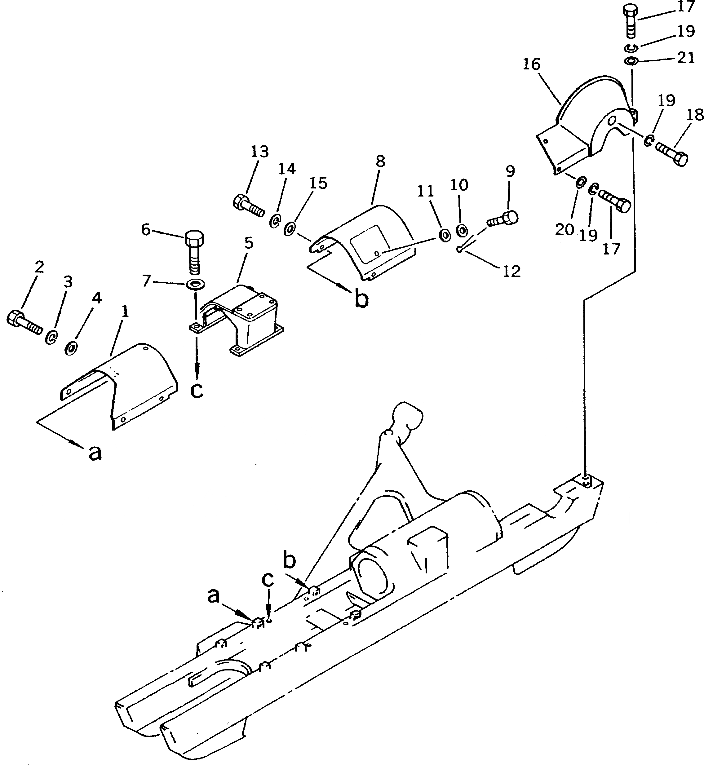
Запчасти Komatsu D50A-18 КРЫШКИ (ДЛЯ ПОВОРОТНОГО ОТВАЛА) ХОДОВАЯ

Схема запчастей Komatsu D50A-18 - КРЫШКИ (ДЛЯ ПОВОРОТНОГО ОТВАЛА) ХОДОВАЯ
FIT
1:1
100%

Артикул

Название

Примечание

Количество

1

130-30-75130

COVER,L.H.

SN: 83001-UP

1шт.

|1

130-30-75140

COVER,R.H.

SN: 83001-UP

1шт.

2

01010-51430

BOLT

SN: 83001-UP

10шт.

3

01602-21442

WASHER,SPRING

SN: 83001-UP

10шт.

4

01643-31445

WASHER

SN: 83001-UP

10шт.

5

130-30-57110

SUPPORT

SN: 83001-UP

2шт.

6

01010-52055

BOLT

SN: 83001-UP

8шт.

7

01643-32060

WASHER

SN: 83001-UP

8шт.

8

130-30-75110

COVER,L.H.

SN: 83001-UP

1шт.

|8

130-30-75120

COVER,R.H.

SN: 83001-UP

1шт.

9

141-30-17160

BOLT

SN: 83001-UP

2шт.

10

01640-21016

WASHER

SN: 83001-UP

2шт.

11

01641-21016

WASHER

SN: 83001-UP

2шт.

12

04050-13015

PIN,COTTER

SN: 83001-UP

2шт.

13

01010-51430

BOLT

SN: 83001-UP

8шт.

14

01602-21442

WASHER,SPRING

SN: 83001-UP

8шт.

15

01643-31445

WASHER

SN: 83001-UP

8шт.

16

131-30-65130

COVER,L.H.

SN: 83001-UP

1шт.

|16

131-30-65140

COVER,R.H.

SN: 83001-UP

1шт.

17

01010-51430

BOLT

SN: 83001-UP

8шт.

18

01010-51450

BOLT

SN: 83001-UP

2шт.

19

01602-21442

WASHER,SPRING

SN: 83001-UP

10шт.

20

01643-31445

WASHER

SN: 83001-UP

4шт.

21

01640-21426

WASHER

SN: 83001-UP

4шт.

Выбрано товаров: 24