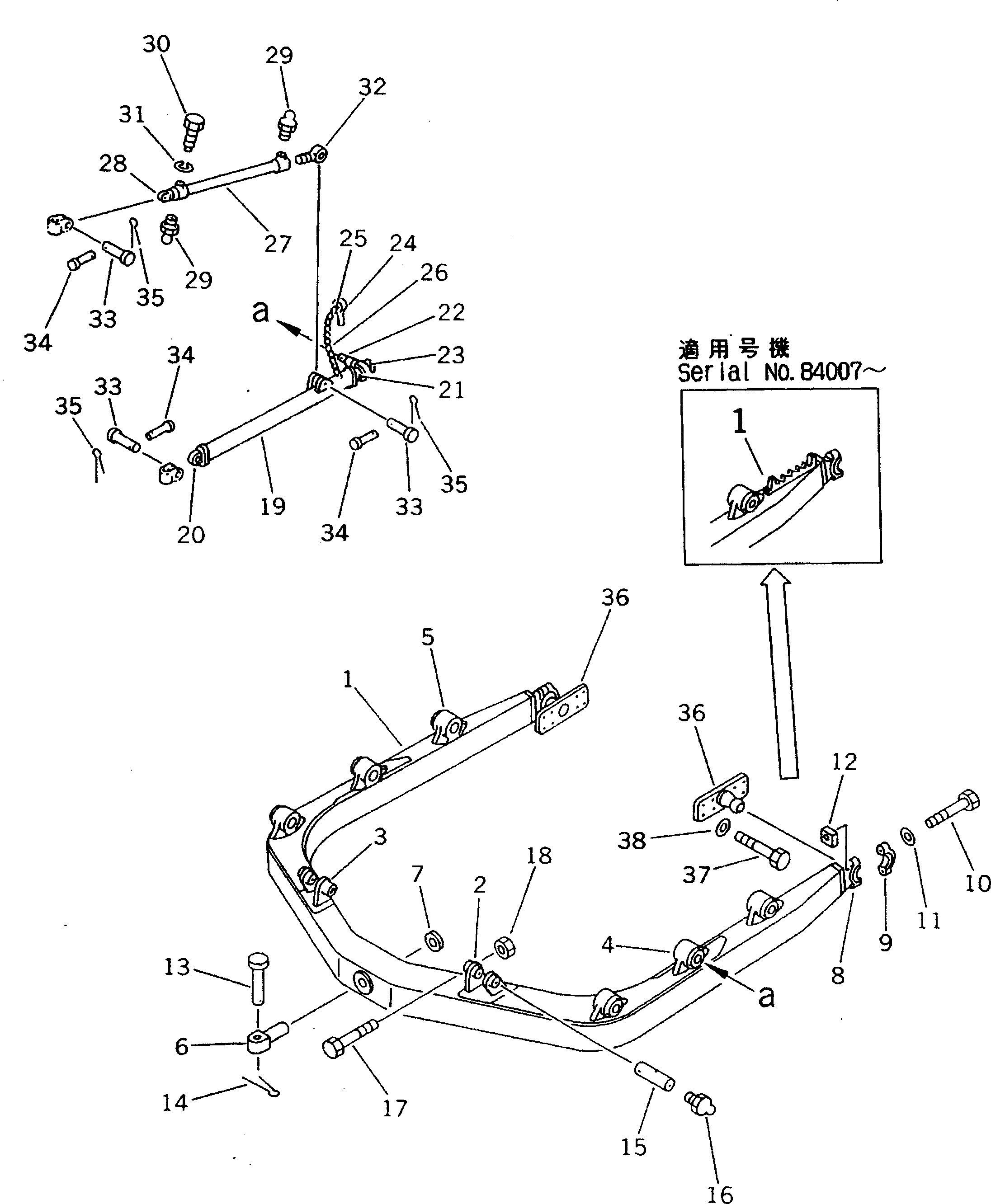
Запчасти Komatsu D50A-18 С-ОБРАЗН. РАМА (ДЛЯ ПОВОРОТНОГО ОТВАЛА) РАБОЧЕЕ ОБОРУДОВАНИЕ

Схема запчастей Komatsu D50A-18 - С-ОБРАЗН. РАМА (ДЛЯ ПОВОРОТНОГО ОТВАЛА) РАБОЧЕЕ ОБОРУДОВАНИЕ
FIT
1:1
100%

Артикул

Название

Примечание

Количество

1

130-70-62210

C-FRAME,(D53A)

SN: 83195-UP

1шт.

|1

130-70-62110

C-FRAME,(D53A)

SN: 83001-83194

1шт.

|1

130-70-62110

C-FRAME,(D50A)

SN: 83001-UP

1шт.

2

130-70-62130

BRACKET (WELDED)

SN: 83001-UP

1шт.

3

130-70-62140

BRACKET (WELDED)

SN: 83001-UP

1шт.

4

130-70-43210

BRACKET (WELDED)

SN: 83001-UP

3шт.

5

130-70-43220

BRACKET (WELDED)

SN: 83001-UP

3шт.

6

130-70-13125

SHAFT

SN: 83001-UP

1шт.

7

130-70-13132

COLLAR

SN: 83001-UP

1шт.

8

0

PIVOT (WELDED)

SN: 83001-UP

2шт.

9

130-70-13231

CAP

SN: 83001-UP

2шт.

10

01011-82440

BOLT

SN: 83001-UP

4шт.

11

01643-32460

WASHER

SN: 83001-UP

4шт.

12

130-70-13241

NUT

SN: 83001-UP

4шт.

13

130-70-41120

PIN

SN: 83001-UP

1шт.

14

04050-18070

PIN,COTTER

SN: 83001-UP

1шт.

15

130-817-5461

SHAFT

SN: 83001-UP

2шт.

16

07020-00000

FITTING,GREASE

SN: 83001-UP

2шт.

17

01010-51080

BOLT

SN: 83001-UP

2шт.

18

01598-01011

NUT

SN: 83001-UP

2шт.

19

130-70-62240

ARM ASS'Y

SN: 83001-UP

2шт.

|19

130-Z40-7310

ARM ASS'Y,(FOR REINFORCED TYPE)

SN: 83001-UP

2шт.

20

130-70-12150

BOSS (WELDED)

SN: 83001-UP

1шт.

|20

140-70-12161

BOSS,(FOR REINFORCED TYPE)

SN: 83001-UP

1шт.

21

130-70-12160

BOSS (WELDED)

SN: 83001-UP

1шт.

|21

140-70-12171

SHAFT,(FOR REINFORCED TYPE)

SN: 83001-UP

1шт.

22

130-70-12180

PIN (WELDED)

SN: 83001-UP

1шт.

23

130-70-12170

COLLAR (WELDED)

SN: 83001-UP

1шт.

24

130-70-12190

PIN (WELDED)

SN: 83001-UP

1шт.

25

09245-50060

HOOK (WELDED)

SN: 83001-UP

2шт.

26

09245-04830

CHAIN (WELDED)

SN: 83001-UP

1шт.

27

130-70-62251

BRACE,TILT

SN: 83001-UP

2шт.

|27

130-Z40-7320

BRACE,(FOR REINFORCED TYPE)

SN: 83001-UP

2шт.

28

130-70-12250

END (WELDED)

SN: 83001-UP

1шт.

29

07020-00000

FITTING,GREASE

SN: 83001-UP

4шт.

30

130-70-52110

SCREW,SET

SN: 83001-UP

2шт.

31

01602-01442

WASHER,SPRING

SN: 83001-UP

2шт.

32

124-70-21310

SCREW

SN: 83001-UP

2шт.

|32

130-Z40-7330

BOLT,(FOR REINFORCED TYPE)

SN: 83001-UP

2шт.

33

130-70-12221

PIN

SN: 83001-UP

6шт.

34

130-70-12231

PIN

SN: 83001-UP

6шт.

35

04050-05030

PIN,COTTER

SN: 83001-UP

6шт.

36

130-70-53250

TRUNNION

SN: 83001-UP

2шт.

|36

130-817-5830

SHAFT (WELDED)

SN: 83001-UP

1шт.

37

01010-52045

BOLT

SN: 83001-UP

16шт.

38

01643-32060

WASHER

SN: 83001-UP

16шт.

|$$47

SERVICE KIT

-1шт.

|8

130-70-00072

PIVOT ASS'Y

SN: 83001-UP

2шт.

8

0

PIVOT (WELDED)

SN: 83001-UP

1шт.

9

130-70-13231

CAP

SN: 83001-UP

1шт.

10

01011-82440

BOLT

SN: 83001-UP

2шт.

11

01643-32460

WASHER

SN: 83001-UP

2шт.

12

130-70-13241

NUT

SN: 83001-UP

2шт.

Выбрано товаров: 53