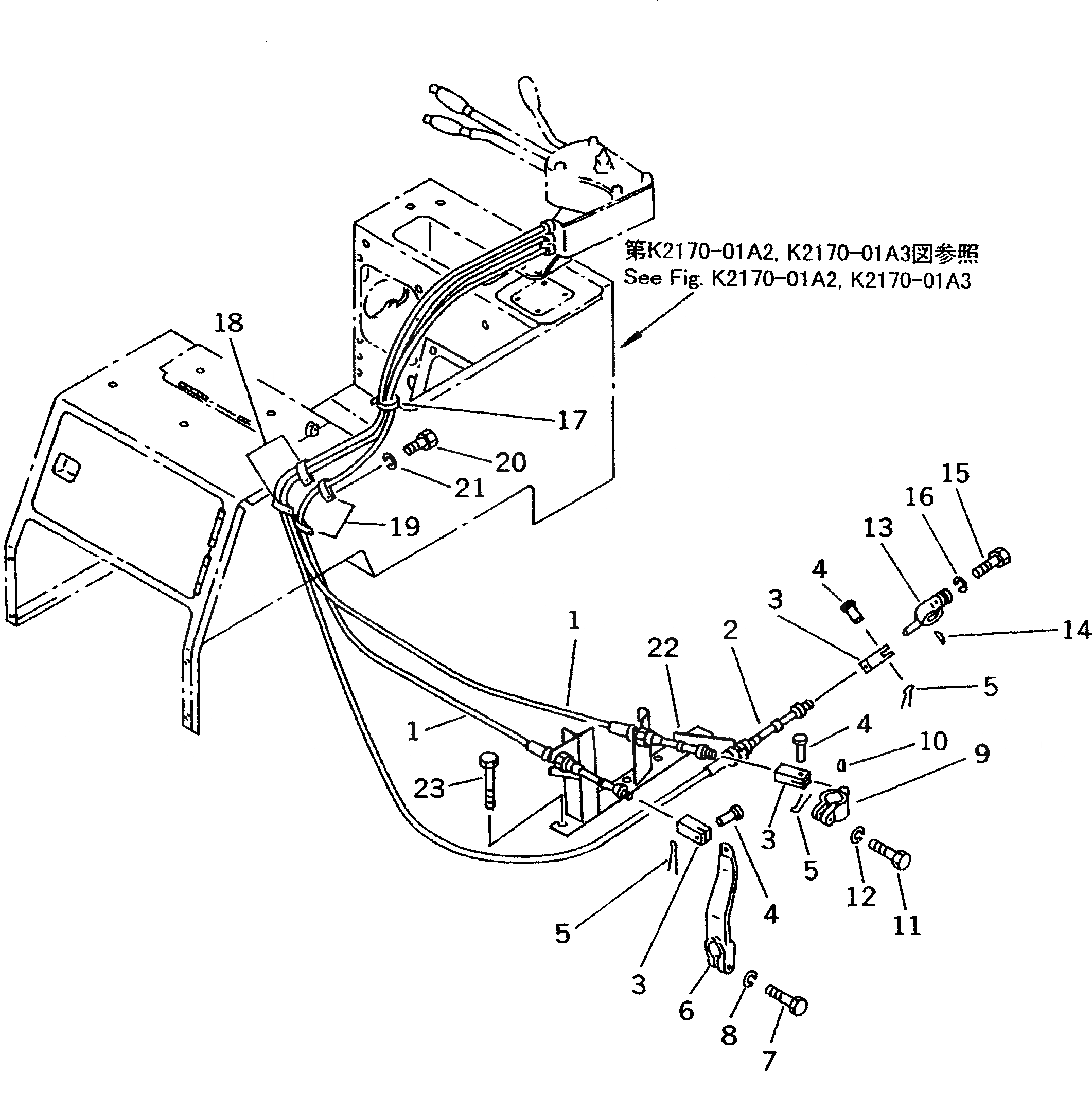
Запчасти Komatsu D50A-18 ТЯГОВ. ЛЕБЕДКА МЕХ-М УПРАВЛ-Я РАБОЧЕЕ ОБОРУДОВАНИЕ

Схема запчастей Komatsu D50A-18 - ТЯГОВ. ЛЕБЕДКА МЕХ-М УПРАВЛ-Я РАБОЧЕЕ ОБОРУДОВАНИЕ
FIT
1:1
100%

Артикул

Название

Примечание

Количество

1

130-961-6210

CABLE

SN: 83001-UP

2шт.

2

130-961-6220

CABLE

SN: 83001-UP

1шт.

3

04211-20844

YOKE

SN: 83001-UP

6шт.

4

04205-10822

PIN

SN: 83001-UP

6шт.

5

04050-02012

PIN,COTTER

SN: 83001-UP

6шт.

6

130-961-2192

LEVER

SN: 83001-UP

1шт.

7

01010-81245

BOLT

SN: 83001-UP

1шт.

8

01602-21236

WASHER,SPRING

SN: 83001-UP

1шт.

9

130-961-6150

LEVER

SN: 83001-UP

1шт.

10

04010-00722

KEY

SN: 83001-UP

1шт.

11

01010-81245

BOLT

SN: 83001-UP

1шт.

12

01602-21236

WASHER,SPRING

SN: 83001-UP

1шт.

13

130-961-5620

LEVER

SN: 83001-UP

1шт.

14

04010-00722

KEY

SN: 83001-UP

1шт.

15

01010-81245

BOLT

SN: 83001-UP

1шт.

16

01602-21236

WASHER,SPRING

SN: 83001-UP

1шт.

17

08034-00414

BAND

SN: 83001-UP

1шт.

18

04434-01208

CLIP

SN: 83001-UP

2шт.

19

04435-01208

CLIP

SN: 83001-UP

2шт.

20

01010-80816

BOLT

SN: 83001-UP

4шт.

21

01602-20825

WASHER,SPRING

SN: 83001-UP

4шт.

22

130-961-6140

BRACKET

SN: 83001-UP

1шт.

23

01010-81450

BOLT

SN: 83001-UP

5шт.

Выбрано товаров: 23