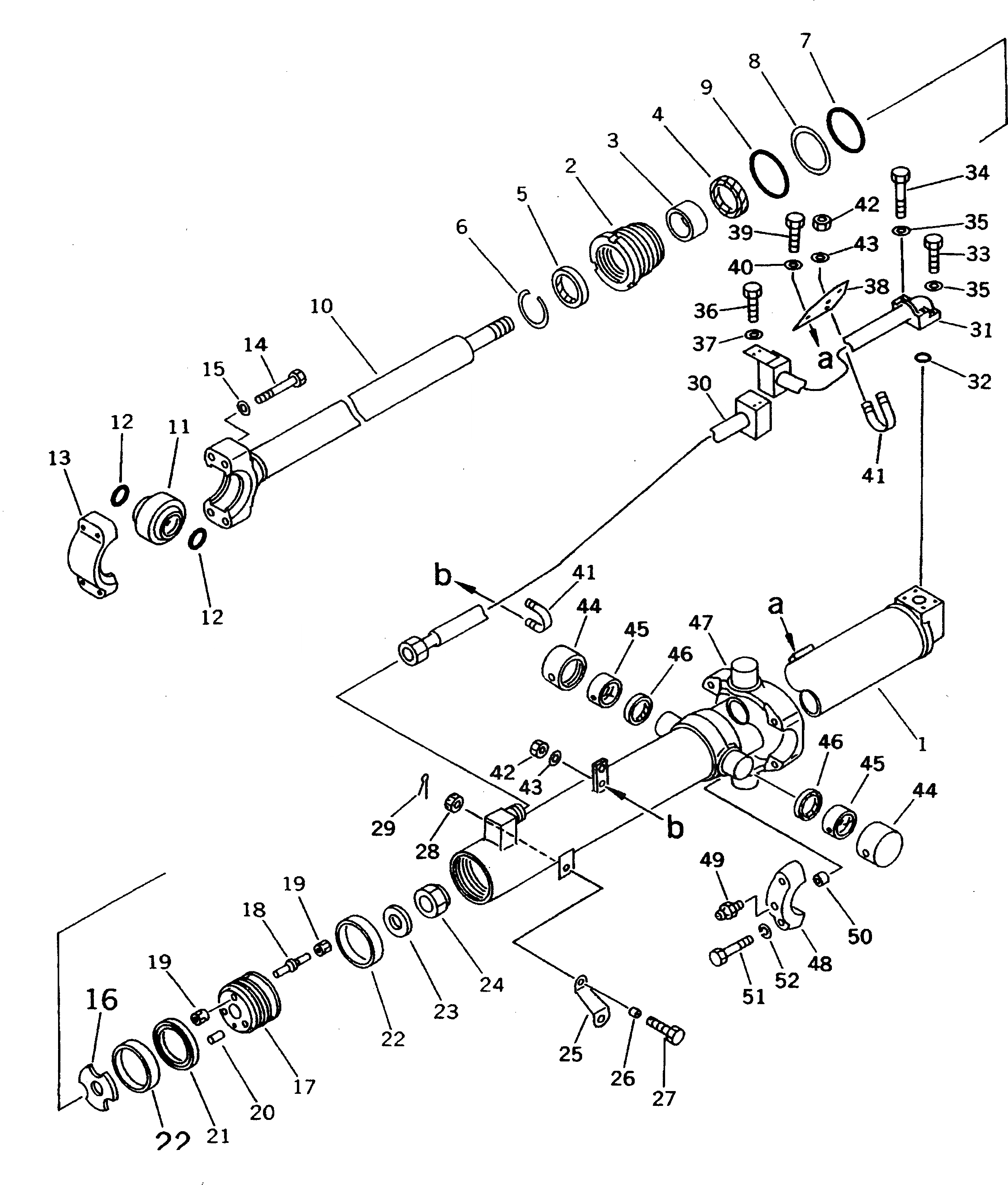
Запчасти Komatsu D50A-18 ЦИЛИНДР ПОДЪЕМА ОТВАЛА (ДЛЯ ANGLE И ПРЯМ. ОТВАЛ С ПЕРЕКОСОМ)(№8-) ОСНОВН. КОМПОНЕНТЫ И РЕМКОМПЛЕКТЫ

Схема запчастей Komatsu D50A-18 - ЦИЛИНДР ПОДЪЕМА ОТВАЛА (ДЛЯ ANGLE И ПРЯМ. ОТВАЛ С ПЕРЕКОСОМ)(№8-) ОСНОВН. КОМПОНЕНТЫ И РЕМКОМПЛЕКТЫ
FIT
1:1
100%

Артикул

Название

Примечание

Количество

G-1

0

CYLINDER GROUP,LIFT¤ L.H.

SN: 83065-UP

1шт.

G-1

0

CYLINDER GROUP,LIFT¤ R.H.

SN: 83065-UP

1шт.

|$$3

====================

-1шт.

|1

130-63-03030

CYLINDER ASS'Y,LIFT¤ L.H.

SN: 83065-UP

1шт.

|1

130-63-03040

CYLINDER ASS'Y,LIFT¤ R.H.

SN: 83065-UP

1шт.

1

130-63-15140

CYLINDER,L.H.

SN: 83001-UP

1шт.

|1

130-63-15240

CYLINDER,R.H.

SN: 83001-UP

1шт.

2

707-29-90940

HEAD,CYLINDER

SN: 83001-UP

1шт.

3

07177-05530

BUSHING

SN: 83001-UP

1шт.

4

707-51-55210

PACKING,ROD

SN: 83001-UP

1шт.

5

707-56-55510

SEAL,DUST

SN: 83065-UP

1шт.

6

07179-12069

RING,SNAP

SN: 83001-UP

1шт.

7

07000-12085

O-RING

SN: 83001-UP

1шт.

8

07001-02085

RING,BACK-UP

SN: 83001-UP

1шт.

9

07000-02090

O-RING

SN: 83001-UP

1шт.

10

130-63-15120

ROD,PISTON

SN: 83001-UP

1шт.

11

07137-03505

BUSHING

SN: 83001-UP

1шт.

|11

07137-00030

SEAL,DUST

SN: 83001-UP

2шт.

12

07000-03035

O-RING

SN: 83001-UP

2шт.

13

130-63-12260

CAP

SN: 83001-UP

1шт.

14

01010-51675

BOLT

SN: 83001-UP

4шт.

15

01643-31645

WASHER

SN: 83001-UP

4шт.

16

707-40-90050

RETAINER

SN: 83001-UP

1шт.

|17

13F-63-13430

PISTON ASS'Y

SN: 83065-UP

1шт.

17

0

PISTON

SN: 83065-UP

1шт.

18

0

VALVE¤ 56MM

SN: 83001-UP

1шт.

|18

0

VALVE¤ 59MM

SN: 83001-UP

1шт.

|18

0

VALVE¤ 62MM

SN: 83001-UP

1шт.

19

0

SEAT

SN: 83001-UP

6шт.

20

130-63-12761

PIN,DOWEL

SN: 83001-UP

1шт.

21

707-44-90070

RING,PISTON

SN: 83065-UP

1шт.

22

707-39-90110

RING,WEAR

SN: 83065-UP

2шт.

23

707-40-90040

RETAINER

SN: 83001-UP

1шт.

24

07165-12729

NUT

SN: 83001-UP

1шт.

25

130-63-13390

PLATE

SN: 83001-UP

1шт.

26

130-63-12490

COLLAR

SN: 83001-UP

1шт.

27

01012-51035

BOLT

SN: 83001-UP

1шт.

28

01590-11012

NUT

SN: 83001-UP

1шт.

29

04050-02018

PIN,COTTER

SN: 83001-UP

1шт.

30

130-63-15170

TUBE,L.H.

SN: 83001-UP

1шт.

|30

130-63-15270

TUBE,R.H.

SN: 83001-UP

1шт.

31

130-63-15180

TUBE,L.H.

SN: 83001-UP

1шт.

|31

130-63-15280

TUBE,R.H.

SN: 83001-UP

1шт.

32

07000-13030

O-RING

SN: 83001-UP

2шт.

33

01010-50835

BOLT

SN: 83001-UP

4шт.

34

01010-50850

BOLT

SN: 83001-UP

4шт.

35

01643-30823

WASHER

SN: 83001-UP

8шт.

36

01010-50820

BOLT

SN: 83001-UP

4шт.

37

01643-30823

WASHER

SN: 83001-UP

4шт.

38

13F-63-13370

PLATE

SN: 83001-UP

2шт.

39

01010-51025

BOLT

SN: 83001-UP

4шт.

40

01643-31032

WASHER

SN: 83001-UP

4шт.

41

07283-22738

CLIP

SN: 83001-UP

4шт.

42

01599-01011

NUT

SN: 83001-UP

8шт.

43

01643-31032

WASHER

SN: 83001-UP

8шт.

44

130-54-61440

HOUSING

SN: 83001-UP

4шт.

45

130-54-61450

BUSHING

SN: 83001-UP

4шт.

46

07145-00045

SEAL,DUST

SN: 83001-UP

4шт.

47

130-54-61430

SUPPORT

SN: 83001-UP

2шт.

48

130-54-61420

CAP

SN: 83001-UP

4шт.

49

07020-00000

FITTING,GREASE

SN: 83001-UP

4шт.

50

170-70-15190

PIN

SN: 83001-UP

4шт.

51

01010-51460

BOLT

SN: 83001-UP

8шт.

52

01643-31445

WASHER

SN: 83001-UP

8шт.

|$$65

====================

-1шт.

Выбрано товаров: 65