Запчасти Komatsu D50A-18 ГИДР. БАК. AND УПРАВЛЯЮЩ. КЛАПАН (/9) (ДЛЯ ПОВОР. ОТВАЛА С ИЗМ. УГЛОМ POWERОТВАЛ С ПЕРЕКОСОМ И РЫХЛИТЕЛЬ) ОСНОВН. КОМПОНЕНТЫ И РЕМКОМПЛЕКТЫ

Схема запчастей Komatsu D50A-18 - ГИДР. БАК. AND УПРАВЛЯЮЩ. КЛАПАН (/9) (ДЛЯ ПОВОР. ОТВАЛА С ИЗМ. УГЛОМ POWER  ОТВАЛ С ПЕРЕКОСОМ И РЫХЛИТЕЛЬ) ОСНОВН. КОМПОНЕНТЫ И РЕМКОМПЛЕКТЫ
FIT
1:1
100%

Артикул

Название

Примечание

Количество

|1

134-60-38200

TANK VALVE ASS'Y,D53A

SN: 83229-UP

1шт.

|1

130-78-82001

TANK VALVE ASS'Y,D50A

SN: 83158-UP

1шт.

|1

130-78-82000

TANK VALVE ASS'Y

SN: 83001-83157

1шт.

|$$4

THESE ASSEMBLIES CONSIST OF ALL PARTS SHOWN IN FIGS.Y1661-01A0 TO Y1661-09A0.

-1шт.

|1

701-23-24000

VALVE ASS'Y

SN: 83001-UP

1шт.

|$$6

THIS ASSEMBLY CONSISTS OF ALL PARTS SHOWN IN FIGS.Y1661-03A0 AND Y1661-04A0.

-1шт.

|1

701-20-77001

VALVE ASS'Y,SUCTION

SN: 83001-UP

1шт.

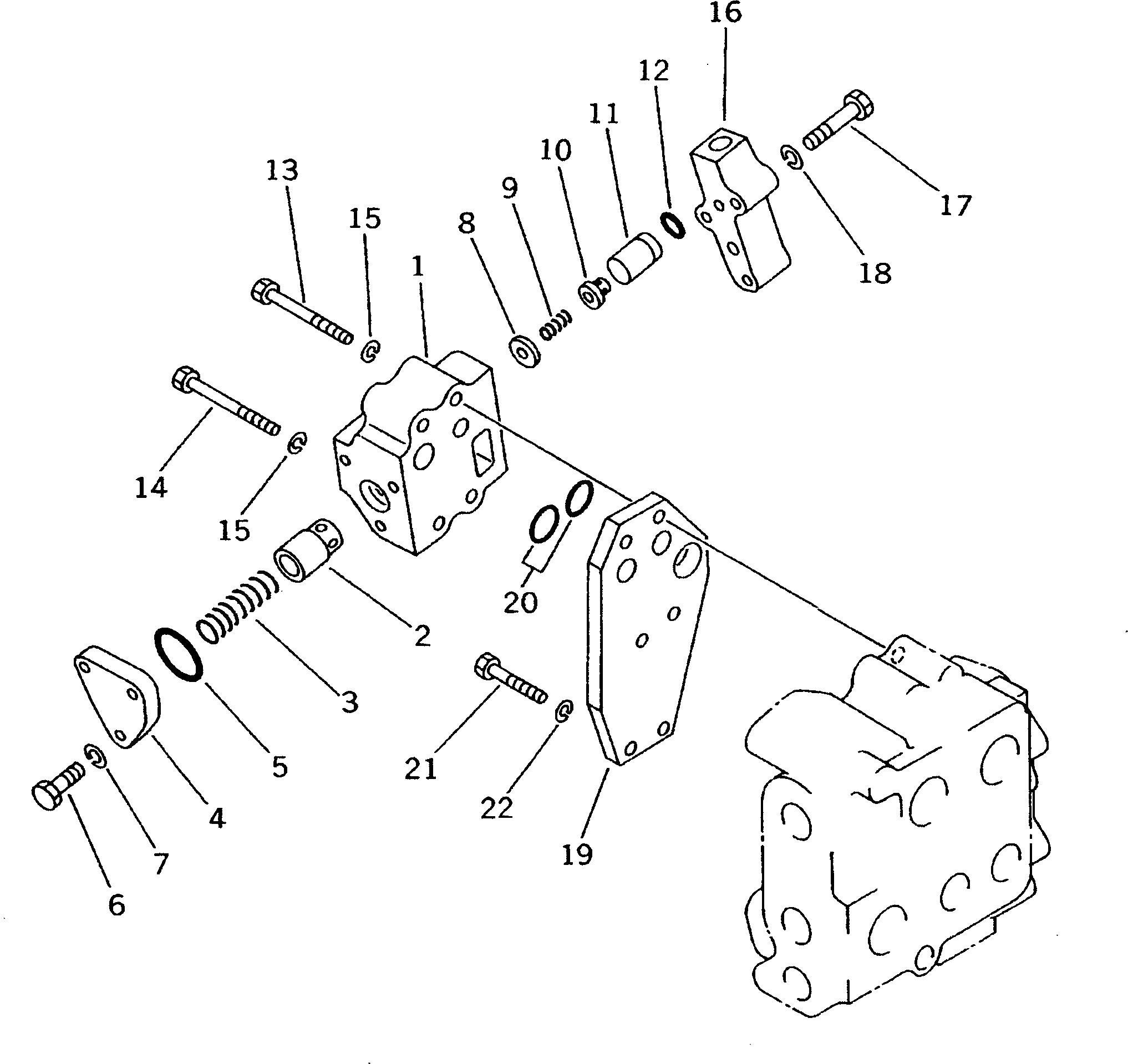
1

701-20-62112

HOUSING

SN: 83001-UP

1шт.

2

701-30-67121

VALVE

SN: 83001-UP

1шт.

3

701-21-31130

SPRING

SN: 83001-UP

1шт.

4

701-20-62120

PLATE

SN: 83001-UP

1шт.

5

07000-13040

O-RING

SN: 83001-UP

1шт.

6

01010-31035

BOLT

SN: 83001-UP

3шт.

7

01602-01030

WASHER,SPRING

SN: 83001-UP

3шт.

8

701-20-61240

SEAT

SN: 83001-UP

1шт.

9

701-20-61230

SPRING

SN: 83001-UP

1шт.

10

701-20-61221

VALVE

SN: 83001-UP

1шт.

11

701-20-61210

COLLAR

SN: 83001-UP

1шт.

12

07000-12018

O-RING

SN: 83001-UP

1шт.

13

01010-31085

BOLT

SN: 83001-UP

2шт.

14

01010-31090

BOLT

SN: 83001-UP

2шт.

15

01602-01030

WASHER,SPRING

SN: 83001-UP

4шт.

16

701-23-36150

BAFFLE

SN: 83001-UP

1шт.

17

01010-31055

BOLT

SN: 83001-UP

3шт.

18

01602-01030

WASHER,SPRING

SN: 83001-UP

3шт.

19

701-23-16110

PLATE

SN: 83001-UP

1шт.

20

07000-13028

O-RING

SN: 83001-UP

2шт.

21

01010-31035

BOLT

SN: 83001-UP

2шт.

22

01602-01030

WASHER,SPRING

SN: 83001-UP

2шт.

Выбрано товаров: 29