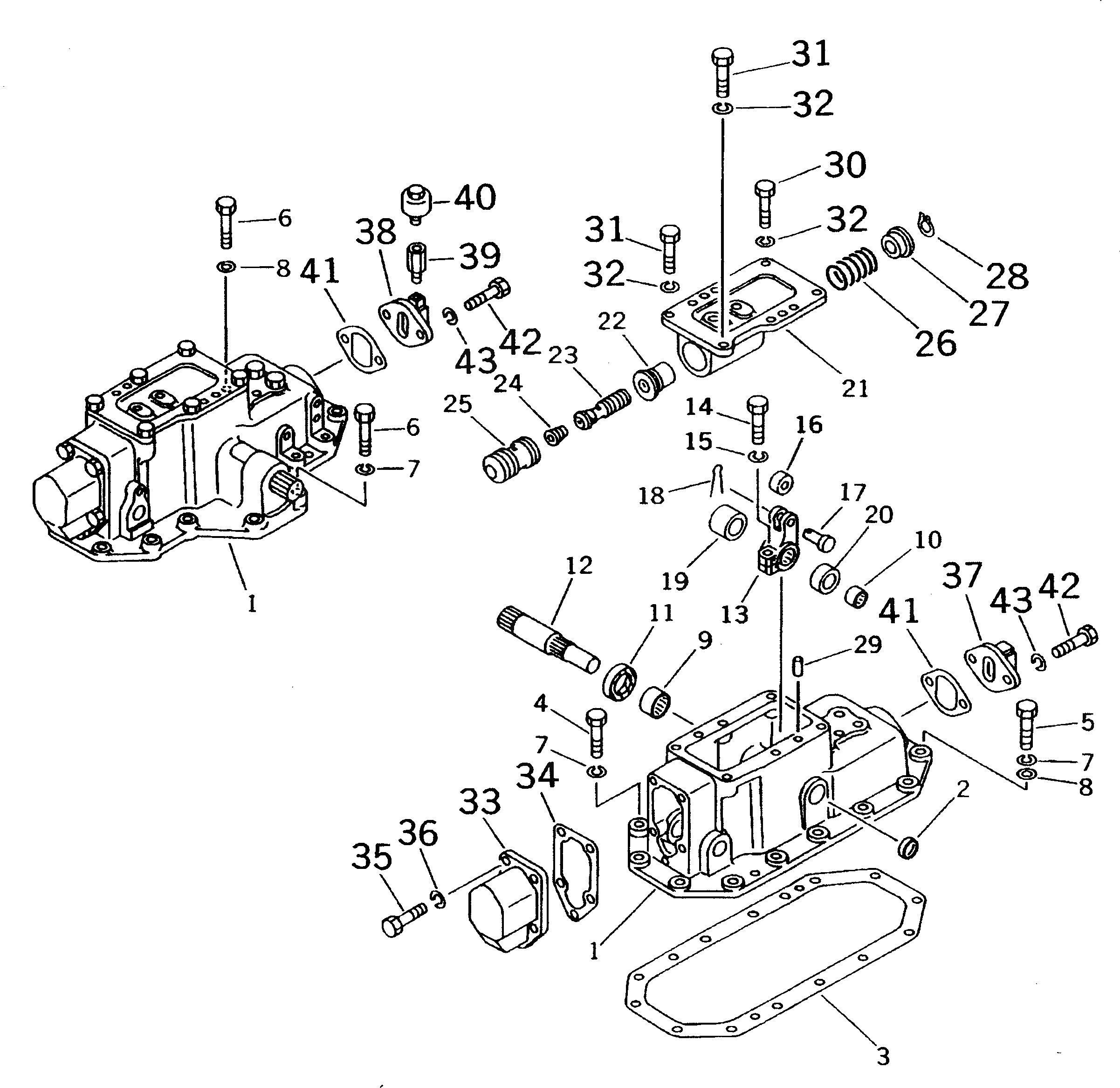
Запчасти Komatsu D50A-18 РУЛЕВ. УПРАВЛЕНИЕ КОРПУС COVER СИЛОВАЯ ПЕРЕДАЧА И КОНЕЧНАЯ ПЕРЕДАЧА

Схема запчастей Komatsu D50A-18 - РУЛЕВ. УПРАВЛЕНИЕ КОРПУС COVER СИЛОВАЯ ПЕРЕДАЧА И КОНЕЧНАЯ ПЕРЕДАЧА
FIT
1:1
100%

Артикул

Название

Примечание

Количество

1

130-33-62110

COVER,L.H.

SN: 83001-UP

1шт.

|1

130-33-62120

COVER,R.H.

SN: 83001-UP

1шт.

2

07046-23016

PLUG

SN: 83001-UP

2шт.

3

130-33-62131

GASKET,L.H.

SN: 83153-UP

1шт.

|3

130-33-62130

GASKET,L.H.

SN: 83001-83152

1шт.

|3

130-33-62141

GASKET,R.H.

SN: 83153-UP

1шт.

|3

130-33-62140

GASKET,R.H.

SN: 83001-83152

1шт.

4

01010-81455

BOLT

SN: 83001-UP

22шт.

5

01010-81465

BOLT

SN: 83001-UP

5шт.

6

01010-81475

BOLT

SN: 83001-UP

2шт.

7

01602-21442

WASHER,SPRING

SN: 83001-UP

28шт.

8

01643-31445

WASHER

SN: 83001-UP

6шт.

9

06120-03520

BEARING,NEEDLE

SN: 83001-UP

2шт.

10

06120-02520

BEARING,NEEDLE

SN: 83001-UP

2шт.

11

07012-00035

SEAL,OIL

SN: 83001-UP

2шт.

12

130-33-62210

SHAFT,L.H.

SN: 83001-UP

1шт.

|12

130-33-62220

SHAFT,R.H.

SN: 83001-UP

1шт.

13

144-33-21270

LEVER

SN: 83001-UP

2шт.

14

01010-81245

BOLT

SN: 83001-UP

2шт.

15

01602-21236

WASHER,SPRING

SN: 83001-UP

2шт.

16

170-33-13330

ROLLER

SN: 83001-UP

2шт.

17

04205-01645

PIN,COTTER

SN: 83001-UP

2шт.

18

04050-24028

PIN

SN: 83001-UP

2шт.

19

145-33-51150

COLLAR

SN: 83001-UP

2шт.

20

130-33-62230

COLLAR

SN: 83001-UP

2шт.

21

144-33-21410

COVER

SN: 83001-UP

2шт.

22

144-33-21430

BUSHING

SN: 83001-UP

2шт.

23

144-33-21440

SPOOL

SN: 83001-UP

2шт.

24

07043-00108

PLUG

SN: 83001-UP

2шт.

25

144-33-21420

PISTON

SN: 83001-UP

2шт.

26

170-33-13370

SPRING

SN: 83001-UP

2шт.

27

175-33-31310

RETAINER

SN: 83001-UP

2шт.

28

04064-02512

RING,SNAP

SN: 83001-UP

2шт.

29

04020-01228

PIN,DOWEL

SN: 83001-UP

4шт.

30

01010-81230

BOLT

SN: 83001-UP

10шт.

31

01010-81230

BOLT

SN: 83001-UP

2шт.

32

01602-21236

WASHER,SPRING

SN: 83001-UP

12шт.

33

144-33-21150

COVER

SN: 83001-UP

2шт.

34

144-33-21161

GASKET

SN: 83204-UP

2шт.

|34

144-33-21160

GASKET

SN: 83001-83203

2шт.

35

01010-81025

BOLT

SN: 83001-UP

10шт.

36

01602-21030

WASHER,SPRING

SN: 83001-UP

10шт.

37

145-33-51160

COVER,L.H.

SN: 83001-UP

1шт.

38

130-33-62260

COVER,R.H.

SN: 83001-UP

1шт.

39

130-33-62270

BOSS

SN: 83001-UP

1шт.

40

07030-00252

BREATHER

SN: 83001-UP

1шт.

41

144-33-21141

GASKET

SN: 83204-UP

2шт.

|41

144-33-21140

GASKET

SN: 83001-83203

2шт.

42

01010-81225

BOLT

SN: 83001-UP

4шт.

43

01602-21236

WASHER,SPRING

SN: 83001-UP

4шт.

Выбрано товаров: 50