Запчасти Komatsu D50A-18 РАДИАТОР (ДЛЯ ANGLE И ПРЯМ. ОТВАЛ С ПЕРЕКОСОМ) СИСТЕМА ОХЛАЖДЕНИЯ

Схема запчастей Komatsu D50A-18 - РАДИАТОР (ДЛЯ ANGLE И ПРЯМ. ОТВАЛ С ПЕРЕКОСОМ) СИСТЕМА ОХЛАЖДЕНИЯ
FIT
1:1
100%

Артикул

Название

Примечание

Количество

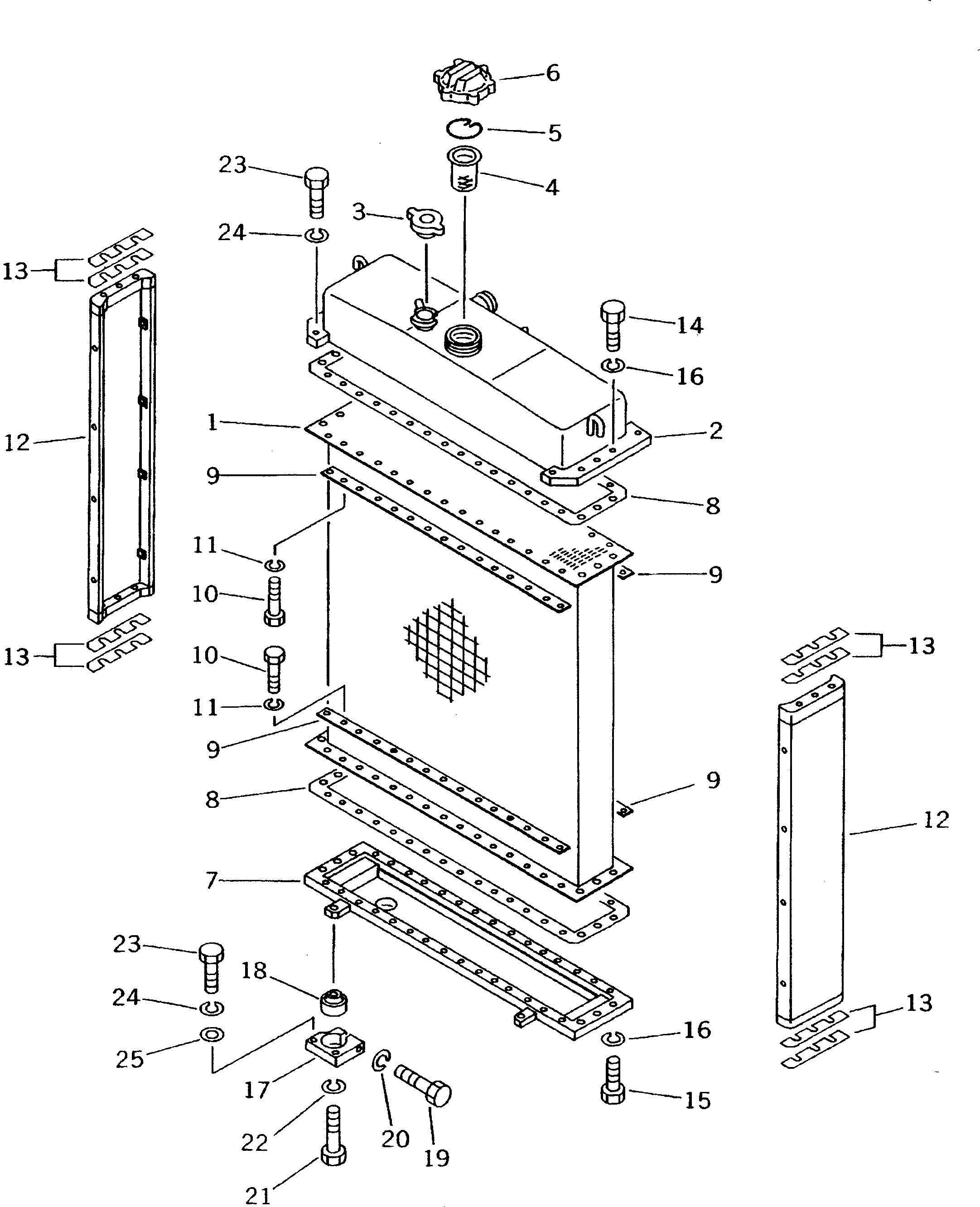
|1

130-03-00500

RADIATOR ASS'Y

SN: 83001-UP

1шт.

1

130-03-81120

CORE

SN: 83001-UP

1шт.

2

130-03-81110

TANK,UPPER

SN: 83001-UP

1шт.

3

125-03-21210

CAP

SN: 83001-UP

1шт.

4

07056-00048

STRAINER

SN: 83001-UP

1шт.

5

07057-03271

RING,SNAP

SN: 83001-UP

1шт.

6

07053-10000

CAP

SN: 83001-UP

1шт.

|6

07053-00002

GASKET

SN: 83001-UP

1шт.

7

130-03-81130

TANK,LOWER

SN: 83001-UP

1шт.

8

130-03-71141

GASKET

SN: 83156-UP

2шт.

|8

130-03-71140

GASKET

SN: 83001-83155

2шт.

9

134-03-21150

PLATE

SN: 83001-UP

4шт.

10

01010-81020

BOLT

SN: 83001-UP

60шт.

11

01602-21030

WASHER,SPRING

SN: 83001-UP

60шт.

12

130-03-81150

SUPPORT

SN: 83001-UP

2шт.

13

130-03-05010

SHIM KIT

SN: 83001-UP

2шт.

|13

0

SHIM¤ 0.5MM

SN: 83001-UP

4шт.

|13

0

SHIM¤ 0.2MM

SN: 83001-UP

4шт.

14

01010-81245

BOLT

SN: 83001-UP

6шт.

15

01010-81240

BOLT

SN: 83001-UP

6шт.

16

01602-21236

WASHER,SPRING

SN: 83001-UP

12шт.

17

130-03-71370

BRACKET

SN: 83001-UP

2шт.

18

135-03-12110

DAMPER

SN: 83001-UP

2шт.

19

01010-81280

BOLT

SN: 83001-UP

2шт.

20

01602-21236

WASHER,SPRING

SN: 83001-UP

2шт.

21

01010-81460

BOLT

SN: 83001-UP

2шт.

22

01602-21442

WASHER,SPRING

SN: 83001-UP

2шт.

23

01010-81245

BOLT

SN: 83001-UP

8шт.

24

01602-21236

WASHER,SPRING

SN: 83001-UP

8шт.

25

01643-31232

WASHER

SN: 83001-UP

4шт.

Выбрано товаров: 30