Запчасти Komatsu 6D125-1TT БЛОК ЦИЛИНДРОВ БЛОК ЦИЛИНДРОВ

Схема запчастей Komatsu 6D125-1TT - БЛОК ЦИЛИНДРОВ БЛОК ЦИЛИНДРОВ
1
1
2
3
4
5
6
7
7
7
7
7
8
9
10
11
12
12
12
13
13
14
15
16
17
18
19
20
20
21
22
23
24
24
24
25
26
27
28
29
30
31
32
33
34
35
36
37
38
39
40
1
1
2
3
4
5
6
7
7
7
7
7
8
9
10
11
12
12
12
13
13
14
15
16
17
18
19
20
20
21
22
23
24
24
24
25
26
27
28
29
30
31
32
33
34
35
36
37
38
39
40
FIT
1:1
100%

Артикул

Название

Примечание

Количество

|1

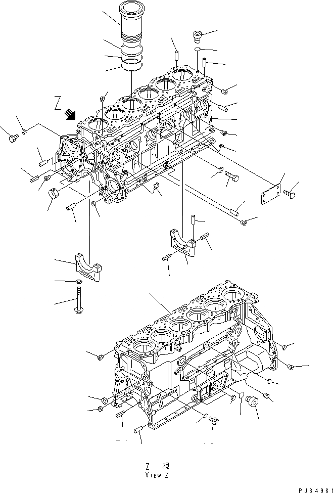
6150-21-1103

CYLINDER BLOCK ASS'Y

SN: 30938-UP

1шт.

|1

0

CYLINDER BLOCK ASS'Y

SN: 26679-30937

1шт.

|$$3

(6150-21-1103{6150-21-2411¤}

-1шт.

|$$4

6150-21-2421{6150-21-2431)}

-1шт.

1

0

BLOCK,CYLINDER

SN: 30938-UP

1шт.

|1

0

BLOCK,CYLINDER

SN: 26679-30937

1шт.

2

6150-21-1490

BUSHING,CAMSHAFT

SN: 26679-UP

7шт.

3

0

CAP,MAIN METAL¤ NO.1¤2¤3¤4¤5¤6

SN: 26679-UP

6шт.

4

0

CAP,MAIN METAL¤ NO.7

SN: 26679-UP

1шт.

5

6150-21-1710

BOLT

SN: 26679-UP

14шт.

6

01643-31645

WASHER

SN: 26679-UP

14шт.

7

07043-50108

PLUG

SN: 26679-UP

6шт.

8

07040-12414

PLUG

SN: 26679-UP

1шт.

9

07002-22434

O-RING (K2)

SN: 26679-UP

1шт.

10

07040-13016

PLUG

SN: 26679-UP

1шт.

11

07002-23034

O-RING (K2)

SN: 26679-UP

1шт.

12

07043-50617

PLUG

SN: 26679-UP

3шт.

13

07046-43016

PLUG

SN: 26679-UP

2шт.

14

07046-44016

PLUG

SN: 26679-UP

1шт.

15

07046-22516

PLUG

SN: 26679-UP

1шт.

16

07046-42816

PLUG

SN: 26679-UP

2шт.

17

07046-21210

PLUG

SN: 26679-UP

4шт.

18

04020-00820

PIN,DOWEL

SN: 26679-UP

12шт.

19

6150-21-1170

TUBE

SN: 26679-UP

1шт.

20

6150-41-2430

PIN,DOWEL

SN: 26679-UP

3шт.

21

6110-53-5910

PLUG

SN: 26679-UP

1шт.

22

07005-01412

GASKET (K2)

SN: 26679-UP

1шт.

23

04020-00514

PIN,DOWEL

SN: 26679-UP

2шт.

24

04025-00408

PIN,SPRING

SN: 26679-UP

6шт.

25

04025-00512

PIN,SPRING

SN: 26679-UP

1шт.

26

6150-41-2430

PIN,DOWEL

SN: 26679-UP

12шт.

27

04020-01024

PIN,DOWEL

SN: 26679-UP

2шт.

28

6150-21-4770

PIN,DOWEL

SN: 26679-UP

2шт.

29

01050-51012

BOLT

SN: 26679-UP

2шт.

30

07005-01012

GASKET (K2)

SN: 26679-UP

2шт.

31

6150-21-2222

LINER,CYLINDER

SN: 26679-UP

6шт.

32

6150-21-2230

O-RING,LOWER (K2)

SN: 26679-UP

6шт.

33

6150-21-2240

O-RING,UPPER (K2)

SN: 26679-UP

6шт.

34

6150-21-2250

SEAL,CREVICE (K2)

SN: 26679-UP

6шт.

35

07046-22010

PLUG

SN: 26679-UP

1шт.

36

6150-21-5910

BUSHING

SN: 26679-UP

1шт.

37

6150-21-1180

PLUG

SN: 26679-UP

2шт.

38

6150-21-1190

O-RING (K2)

SN: 26679-UP

2шт.

39

0

PLATE¤ NAME,(LIMITED SUPPLY)

SN: 26679-UP

1шт.

|39

6150-81-2220

PLATE¤ NAME,(FRENCH) (LIMITED SUPPLY)

SN: 26679-UP

1шт.

|39

0

PLATE¤ NAME,(CHINESE) (LIMITED SUPPLY)

SN: 26679-UP

1шт.

40

04418-02550

SCREW

SN: 26679-UP

4шт.

|1

6150-21-1103

CYLINDER BLOCK ASS'Y

SN: 30938-UP

1шт.

|1

0

CYLINDER BLOCK ASS'Y

SN: 26679-30937

1шт.

|$$3

(6150-21-1103{6150-21-2411¤}

-1шт.

|$$4

6150-21-2421{6150-21-2431)}

-1шт.

1

0

BLOCK,CYLINDER

SN: 30938-UP

1шт.

|1

0

BLOCK,CYLINDER

SN: 26679-30937

1шт.

2

6150-21-1490

BUSHING,CAMSHAFT

SN: 26679-UP

7шт.

3

0

CAP,MAIN METAL¤ NO.1¤2¤3¤4¤5¤6

SN: 26679-UP

6шт.

4

0

CAP,MAIN METAL¤ NO.7

SN: 26679-UP

1шт.

5

6150-21-1710

BOLT

SN: 26679-UP

14шт.

6

01643-31645

WASHER

SN: 26679-UP

14шт.

7

07043-50108

PLUG

SN: 26679-UP

6шт.

8

07040-12414

PLUG

SN: 26679-UP

1шт.

9

07002-22434

O-RING (K2)

SN: 26679-UP

1шт.

10

07040-13016

PLUG

SN: 26679-UP

1шт.

11

07002-23034

O-RING (K2)

SN: 26679-UP

1шт.

12

07043-50617

PLUG

SN: 26679-UP

3шт.

13

07046-43016

PLUG

SN: 26679-UP

2шт.

14

07046-44016

PLUG

SN: 26679-UP

1шт.

15

07046-22516

PLUG

SN: 26679-UP

1шт.

16

07046-42816

PLUG

SN: 26679-UP

2шт.

17

07046-21210

PLUG

SN: 26679-UP

4шт.

18

04020-00820

PIN,DOWEL

SN: 26679-UP

12шт.

19

6150-21-1170

TUBE

SN: 26679-UP

1шт.

20

6150-41-2430

PIN,DOWEL

SN: 26679-UP

3шт.

21

6110-53-5910

PLUG

SN: 26679-UP

1шт.

22

07005-01412

GASKET (K2)

SN: 26679-UP

1шт.

23

04020-00514

PIN,DOWEL

SN: 26679-UP

2шт.

24

04025-00408

PIN,SPRING

SN: 26679-UP

6шт.

25

04025-00512

PIN,SPRING

SN: 26679-UP

1шт.

26

6150-41-2430

PIN,DOWEL

SN: 26679-UP

12шт.

27

04020-01024

PIN,DOWEL

SN: 26679-UP

2шт.

28

6150-21-4770

PIN,DOWEL

SN: 26679-UP

2шт.

29

01050-51012

BOLT

SN: 26679-UP

2шт.

30

07005-01012

GASKET (K2)

SN: 26679-UP

2шт.

31

6150-21-2222

LINER,CYLINDER

SN: 26679-UP

6шт.

32

6150-21-2230

O-RING,LOWER (K2)

SN: 26679-UP

6шт.

33

6150-21-2240

O-RING,UPPER (K2)

SN: 26679-UP

6шт.

34

6150-21-2250

SEAL,CREVICE (K2)

SN: 26679-UP

6шт.

35

07046-22010

PLUG

SN: 26679-UP

1шт.

36

6150-21-5910

BUSHING

SN: 26679-UP

1шт.

37

6150-21-1180

PLUG

SN: 26679-UP

2шт.

38

6150-21-1190

O-RING (K2)

SN: 26679-UP

2шт.

39

0

PLATE¤ NAME,(LIMITED SUPPLY)

SN: 26679-UP

1шт.

|39

6150-81-2220

PLATE¤ NAME,(FRENCH) (LIMITED SUPPLY)

SN: 26679-UP

1шт.

|39

0

PLATE¤ NAME,(CHINESE) (LIMITED SUPPLY)

SN: 26679-UP

1шт.

40

04418-02550

SCREW

SN: 26679-UP

4шт.

Выбрано товаров: 94