Запчасти Komatsu D50P-10 АККУМУЛЯТОР КОМПОНЕНТЫ ДВИГАТЕЛЯ И ЭЛЕКТРИКА

Схема запчастей Komatsu D50P-10 - АККУМУЛЯТОР КОМПОНЕНТЫ ДВИГАТЕЛЯ И ЭЛЕКТРИКА
FIT
1:1
100%

Артикул

Название

Примечание

Количество

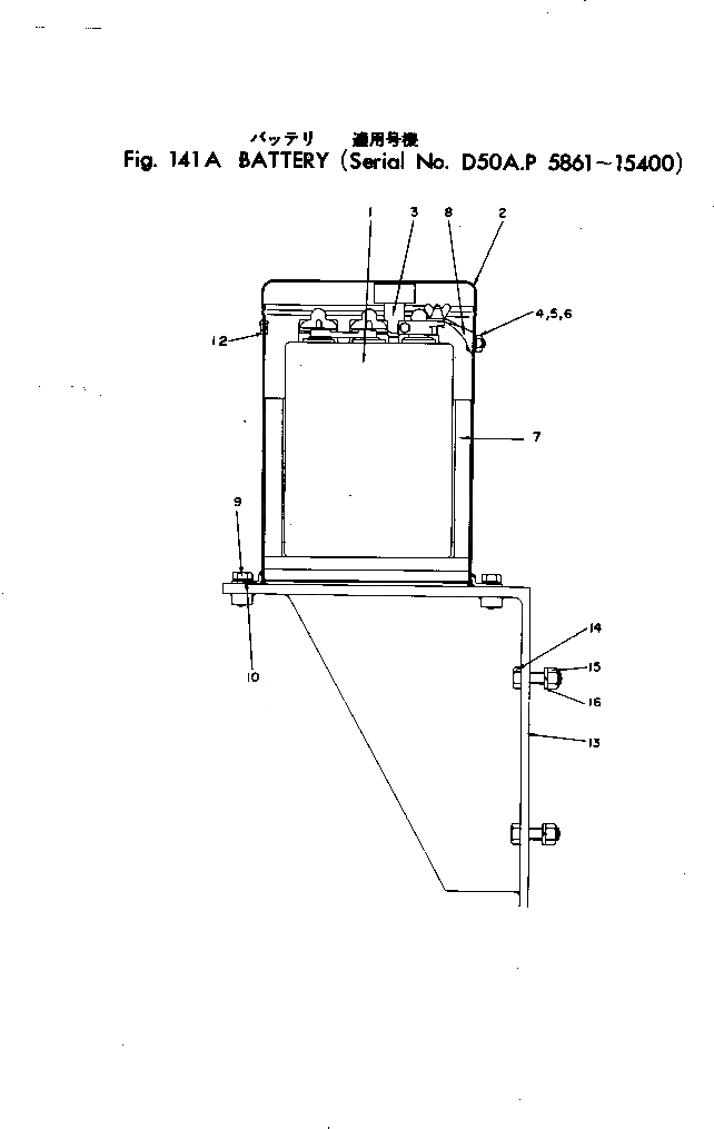
1

08000-01204

BATTERY

SN: 9256-15400

2шт.

|1

D50-E48B

BATTERY

SN: 4831-9255

2шт.

2

D50-E49G

CASE

SN: 10901-15400

1шт.

|2

D50-E49F

CASE

SN: 9361-10900

1шт.

|2

D50-E49E

CASE

SN: 5861-9360

1шт.

3

D50-E49-1A

HOLDER

SN: 3181-15400

2шт.

4

01000-30816

BOLT

SN: 711-15400

1шт.

5

01500-30807

NUT

SN: 711-15400

1шт.

6

01601-00820

WASHER

SN: 711-15400

1шт.

7

D50-E52D

FRAME

SN: 9361-15400

1шт.

|7

D50-E52C

FRAME

SN: 5861-9360

1шт.

8

150-06-13140

CABLE

SN: 711-15400

1шт.

9

01040-31020

BOLT

SN: 10901-15400

4шт.

|9

01000-31020

BOLT

SN: 5861-10900

4шт.

10

01601-01025

WASHER

SN: 5861-15400

4шт.

12

130-860-1170

GROMMET

SN: 711-15400

1шт.

13

D50-E324A

BRACKET

SN: 9361-15400

1шт.

|13

D50-E324

BRACKET

SN: 5861-9360

1шт.

14

01040-31230

BOLT

SN: 10901-15400

4шт.

|14

01000-31230

BOLT

SN: 5861-10900

4шт.

15

01503-31210

NUT

SN: 10901-15400

4шт.

|15

01500-31210

NUT

SN: 5861-10900

4шт.

16

01601-01230

WASHER

SN: 5861-15400

4шт.

Выбрано товаров: 23