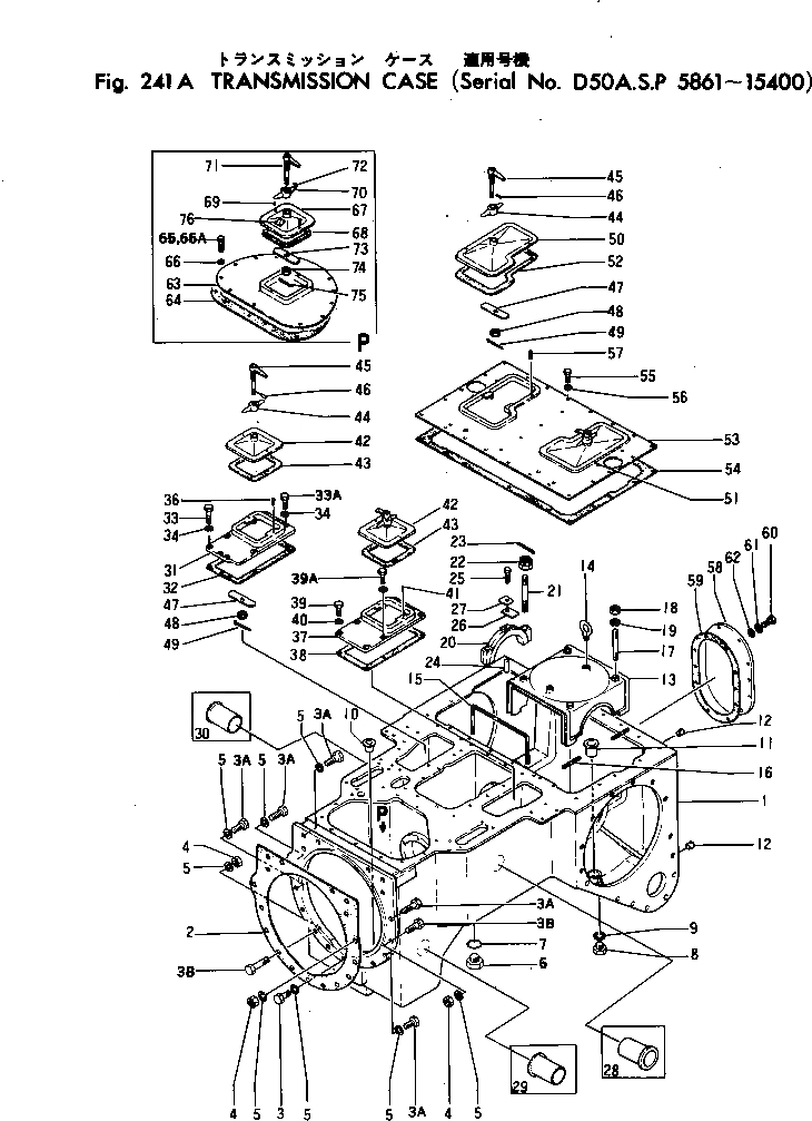
Запчасти Komatsu D50P-10 КОРПУС ТРАНСМИССИИ ОСНОВН. МУФТА И ТРАНСМИССИЯ

Схема запчастей Komatsu D50P-10 - КОРПУС ТРАНСМИССИИ ОСНОВН. МУФТА И ТРАНСМИССИЯ
FIT
1:1
100%

Артикул

Название

Примечание

Количество

|1

130-806-0063

CASE ASS'Y

SN: 10901-15400

1шт.

|1

0

CASE ASS'Y

SN: 9866-10900

1шт.

|1

0

CASE ASS'Y

SN: 8341-9865

1шт.

|1

130-806-0060

CASE ASS'Y

SN: 5861-8340

1шт.

1

0

CASE

SN: 10901-15400

1шт.

|1

0

CASE

SN: 5861-10900

1шт.

2

D50P-G102

GASKET

SN: 9866-15400

1шт.

3

01040-31635

BOLT

SN: 10901-15400

2шт.

|3

01000-31635

BOLT

SN: 5861-10900

2шт.

3A

01040-31640

BOLT

SN: 10901-15400

8шт.

|3A

01000-31640

BOLT

SN: 5861-10900

8шт.

3B

01000-31655

BOLT

SN: 5861-15400

4шт.

4

01500-31613

NUT

SN: 10901-15400

4шт.

|4

01500-31613

NUT

SN: 3901-10900

6шт.

5

01602-01648

WASHER

SN: 3901-15400

14шт.

6

07044-03620

PLUG

SN: 10901-15400

2шт.

|6

A5710S3342

PLUG

SN: 5861-10900

2шт.

7

D50-G295

GASKET

SN: 10901-15400

2шт.

|7

130-27-11232

GASKET

SN: 5961-10900

2шт.

8

07040-02412

PLUG

SN: 5861-15400

3шт.

9

07003-02430

GASKET

SN: 10901-15400

3шт.

|9

0

GASKET

SN: 5861-10900

3шт.

10

131-10-11490

BUSHING

SN: 5861-15400

1шт.

11

130-22-12141

BUSHING

SN: 711-@

2шт.

12

07049-01830

PLUG

SN: 5861-15400

14шт.

13

0

COVER

SN: 10901-15400

1шт.

|13

0

COVER

SN: 5861-10900

1шт.

14

130-21-11121

BOLT

SN: 10901-@

2шт.

|14

D50-H22

BOLT

SN: 711-10900

2шт.

15

130-21-11132

GASKET

SN: 1201-@

2шт.

16

130-21-11140

GASKET

SN: 711-@

4шт.

17

130-21-11152

STUD

SN: 10901-@

4шт.

|17

D50-H25A

STUD

SN: 8341-10900

4шт.

|17

D50-H25

STUD

SN: 711-8340

4шт.

18

01500-31008

NUT

SN: 8341-@

4шт.

|18

01510-31012

NUT

SN: 711-8340

4шт.

19

01602-01030

WASHER

SN: 8341-@

4шт.

|19

04050-02022

PIN

SN: 711-8340

4шт.

20

0

CAP

SN: 711-@

2шт.

21

01122-32090

STUD

SN: 10901-15400

4шт.

|21

01102-32090

STUD

SN: 711-10900

4шт.

22

01510-32022

NUT

SN: 711-@

4шт.

23

04050-04040

PIN

SN: 711-@

4шт.

24

04020-00616

PIN

SN: 711-@

2шт.

25

01000-30816

BOLT

SN: 711-@

2шт.

26

130-21-12322

LOCK

SN: 711-@

2шт.

27

130-21-12330

LOCK

SN: 711-@

2шт.

28

D50P-F102

BUSHING

SN: 5861-15400

2шт.

29

D50-G270

BUSHING,R.H.

SN: 10901-15400

1шт.

|29

D50-F206A

BUSHING,R.H.

SN: 5861-10900

1шт.

|29

D50P-F105A

BUSHING,L.H.

SN: 10901-15400

1шт.

|29

D50P-F105

BUSHING,L.H.

SN: 5861-10900

1шт.

30

D50-K102

BUSHING

SN: 5861-15400

1шт.

31

D50-G231A

COVER

SN: 5861-15400

1шт.

32

D50-G232A

GASKET

SN: 5861-15400

1шт.

33

01040-31020

BOLT

SN: 10901-@

5шт.

|33

01000-31020

BOLT

SN: 5861-10900

5шт.

33A

01040-31030

BOLT

SN: 10901-@

2шт.

|33A

01000-31030

BOLT

SN: 5861-10900

2шт.

34

01602-01030

WASHER

SN: 5861-@

7шт.

36

04020-00514

PIN

SN: 5861-@

2шт.

37

130-14-11181

COVER

SN: 5861-@

1шт.

38

130-14-11191

GASKET

SN: 5861-@

1шт.

39

01040-31020

BOLT

SN: 10901-@

5шт.

|39

01000-31020

BOLT

SN: 5861-10900

6шт.

39A

01040-31025

BOLT

SN: 10901-15400

1шт.

40

01601-01025

WASHER

SN: 5861-@

6шт.

41

04020-00514

PIN

SN: 5861-@

2шт.

42

130-14-11213

COVER

SN: 5861-@

2шт.

43

130-14-11222

GASKET

SN: 5861-@

2шт.

44

130-14-11232

HANDLE

SN: 10901-@

4шт.

|44

D50-G191A

KNOB

SN: 5861-10900

4шт.

45

130-14-11243

HANDLE

SN: 10901-@

4шт.

|45

D50-G192B

HANDLE

SN: 5861-10900

4шт.

46

150-10-12610

PIN

SN: 5861-@

4шт.

47

130-14-11250

PLATE

SN: 7291-@

4шт.

|47

D50-G235

PLATE

SN: 5861-7290

4шт.

48

01510-31012

NUT

SN: 5861-@

4шт.

49

04050-02022

PIN

SN: 5861-15400

4шт.

50

130-14-11282

COVER

SN: 5861-@

1шт.

51

130-14-11292

COVER

SN: 5861-@

1шт.

52

130-14-11313

GASKET

SN: 5861-@

2шт.

53

D50-G13N

COVER

SN: 10901-15400

1шт.

|53

D50-G13M

COVER

SN: 5861-10900

1шт.

54

D50-G16G

GASKET

SN: 5861-15400

1шт.

55

01040-31025

BOLT

SN: 10901-15400

15шт.

|55

01000-31025

BOLT

SN: 5861-10900

15шт.

56

01601-01025

WASHER

SN: 5861-15400

15шт.

57

04020-00514

PIN

SN: 5861-@

2шт.

58

130-14-11320

COVER

SN: 711-@

1шт.

59

130-74-11120

GASKET

SN: 711-@

1шт.

60

01040-31235

BOLT

SN: 10901-@

10шт.

|60

01000-31235

BOLT

SN: 711-10900

10шт.

61

01602-01236

WASHER

SN: 711-@

10шт.

62

01640-21226

WASHER

SN: 5861-15400

10шт.

63

D50-G2E

COVER

SN: 5861-15400

1шт.

64

D50-G158B

GASKET

SN: 5861-15400

1шт.

65

01040-31020

BOLT

SN: 10901-15400

9шт.

|65

01000-31020

BOLT

SN: 711-10900

12шт.

65A

01040-31025

BOLT

SN: 10901-15400

3шт.

66

01602-01030

WASHER

SN: 711-15400

12шт.

67

D50-G61C

COVER

SN: 3581-15400

1шт.

68

D50-G161B

GASKET

SN: 711-15400

1шт.

69

04020-00514

PIN

SN: 5861-15400

1шт.

70

130-14-11232

HANDLE

SN: 10901-15400

1шт.

|70

D50-G191A

KNOB

SN: 3581-10900

1шт.

71

130-14-11243

HANDLE

SN: 10901-15400

1шт.

|71

D50-G192B

HANDLE

SN: 5861-10900

1шт.

72

150-10-12610

PIN

SN: 711-15400

1шт.

73

D50-G193

PLATE

SN: 711-15400

1шт.

74

01510-31012

NUT

SN: 711-15400

1шт.

75

04050-02022

PIN

SN: 711-15400

1шт.

76

D50-F222A

TABLE

SN: 5861-10900

1шт.

|76

D50-F223A

RIVET

SN: 2381-10900

4шт.

Выбрано товаров: 114