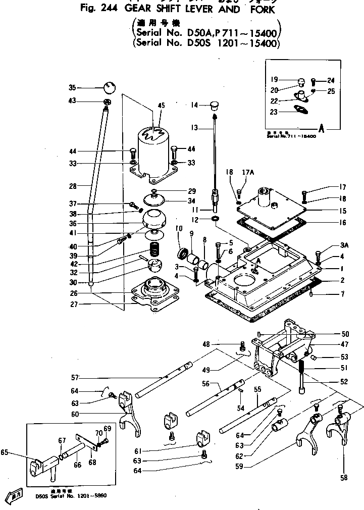
Запчасти Komatsu D50P-10 РЫЧАГ ПЕРЕКЛЮЧЕНИЯ ПЕРЕДАЧ И ВИЛЫ(№7-) ОСНОВН. МУФТА И ТРАНСМИССИЯ

Схема запчастей Komatsu D50P-10 - РЫЧАГ ПЕРЕКЛЮЧЕНИЯ ПЕРЕДАЧ И ВИЛЫ(№7-) ОСНОВН. МУФТА И ТРАНСМИССИЯ
FIT
1:1
100%

Артикул

Название

Примечание

Количество

1

D50-G17H

COVER

SN: 10901-15400

1шт.

|1

D50-G17F

COVER

SN: 5861-10900

1шт.

|1

D50-G17D

COVER

SN: 851-5860

1шт.

|1

D50-G17C

COVER

SN: 711-850

1шт.

2

D50-G18A

GASKET

SN: 5861-15400

1шт.

|2

D50-G18

GASKET

SN: 711-5860

1шт.

3

01000-31035

BOLT

SN: 711-5860

3шт.

3A

01040-31025

BOLT

SN: 10901-15400

12шт.

|3A

01000-31025

BOLT

SN: 5861-10900

12шт.

|3A

01000-31025

BOLT

SN: 711-5860

7шт.

4

01602-01030

WASHER

SN: 5861-@

12шт.

|4

01602-01030

WASHER

SN: 711-5860

10шт.

5

01040-31055

BOLT

SN: 10901-15400

2шт.

|5

01000-31055

BOLT

SN: 5861-10900

2шт.

|5

01000-31080

BOLT

SN: 711-5860

1шт.

6

01602-01030

WASHER

SN: 711-5860

1шт.

7

04020-01024

PIN

SN: 5861-@

2шт.

8

130-14-12120

BUSHING

SN: 10901-15400

1шт.

9

130-14-12130

BUSHING

SN: 10901-15400

1шт.

10

130-09-11490

SEAL

SN: 10901-15400

1шт.

11

D50-G254C

GUIDE

SN: 13310-15400

1шт.

|11

D50-G254A

GUIDE

SN: 10901-13309

1шт.

|11

D50-G254

GUIDE

SN: 5861-10900

1шт.

12

07003-01621

GASKET

SN: 5861-@

1шт.

13

130-14-12215

GAUGE

SN: 5861-@

1шт.

|13

D50-G155-2D

GAUGE

SN: 851-5860

1шт.

|13

D50-G155-2C

GAUGE

SN: 711-850

1шт.

14

130-14-12220

CAP

SN: 13310-@

1шт.

|14

D50-G255A

CAP

SN: 10901-13309

1шт.

|14

130-14-12220

CAP

SN: 5861-10900

1шт.

15

D50-G236

COVER

SN: 5861-15400

1шт.

16

D50-G237

GASKET

SN: 5861-15400

1шт.

17

01000-30820

BOLT

SN: 10901-15400

7шт.

|17

01000-30820

BOLT

SN: 5861-10900

8шт.

17A

01000-30825

BOLT

SN: 10901-15400

1шт.

18

01602-00825

WASHER

SN: 5861-15400

8шт.

19

D50-G39

CAP

SN: 711-15400

1шт.

20

D50-G40

SPRING

SN: 711-15400

1шт.

22

D50-G200A

FILLER

SN: 5861-15400

1шт.

|22

D50-G200

FILLER

SN: 981-5860

1шт.

|22

0

SOCKET

SN: 711-980

1шт.

23

D50-G36A

GASKET

SN: 5861-15400

1шт.

|23

D50-G36

GASKET

SN: 711-5860

1шт.

24

01040-31025

BOLT

SN: 10901-15400

2шт.

|24

01000-31025

BOLT

SN: 5861-10900

2шт.

|24

01000-31020

BOLT

SN: 711-5860

2шт.

25

01602-01030

WASHER

SN: 711-15400

2шт.

26

D50-G238

SOCKET

SN: 5861-15400

1шт.

|26

130-14-26151

SOCKET

SN: 4851-5860

1шт.

|26

D50-G151

SOCKET

SN: 711-4850

1шт.

27

D50-G239

GASKET

SN: 5861-15400

1шт.

|28

130-14-00073

LEVER ASS'Y

SN: 12541-15400

1шт.

|28

130-14-00072

LEVER ASS'Y

SN: 5861-12540

1шт.

|28

130-14-00071

LEVER ASS'Y

SN: 4851-5860

1шт.

|28

130-14-00070

LEVER ASS'Y

SN: 711-4850

1шт.

28

0

LEVER

SN: 12541-15400

1шт.

|28

0

LEVER

SN: 5861-12540

1шт.

|28

0

LEVER

SN: 711-5860

1шт.

29

130-14-12340

RING

SN: 5861-15400

1шт.

30

0

BALL

SN: 5861-15400

1шт.

|30

0

BALL

SN: 4851-5860

1шт.

|30

0

BALL

SN: 711-4850

1шт.

32

04030-00550

PIN

SN: 711-15400

1шт.

33

01602-01030

WASHER

SN: 711-15400

4шт.

34

130-14-12330

COVER

SN: 5861-@

1шт.

|34

170-14-26141

COVER

SN: 1201-5860

1шт.

|34

D50-G150

COVER

SN: 711-1200

1шт.

35

130-14-12241

KNOB

SN: 711-@

1шт.

36

130-14-12270

COVER

SN: 5861-@

1шт.

37

01000-30816

BOLT

SN: 5861-@

2шт.

38

01602-00825

WASHER

SN: 5861-@

2шт.

39

130-14-12290

BOLT

SN: 5861-@

2шт.

40

01602-00825

WASHER

SN: 5861-@

2шт.

41

130-14-12310

COVER

SN: 5861-@

1шт.

42

130-14-12320

SPRING

SN: 5861-15400

1шт.

43

01501-51207

NUT

SN: 5861-@

1шт.

44

01040-31035

BOLT

SN: 10901-15400

4шт.

|44

01000-31035

BOLT

SN: 711-10900

4шт.

45

D50-G145G

GUIDE

SN: 12514-15400

1шт.

|45

D50-G145D

GUIDE

SN: 5861-12513

1шт.

|45

D50-G145C

GUIDE

SN: 711-5860

1шт.

47

D50-G23E

BRACKET

SN: 5861-15400

1шт.

|47

D50-G23C

BRACKET

SN: 1201-5860

1шт.

|47

D50-G23B

BRACKET

SN: 711-1200

1шт.

48

01044-31025

BOLT

SN: 10901-@

4шт.

|48

01002-31025

BOLT

SN: 5861-10900

4шт.

|48

01002-31020

BOLT

SN: 711-5860

4шт.

49

04059-01063

WIRE

SN: 5861-@

1шт.

|49

04059-01080

WIRE

SN: 711-5860

1шт.

50

04020-00820

PIN

SN: 5861-@

2шт.

51

D50-G60A

SPRING

SN: 1201-15400

3шт.

|51

D50-G60

SPRING

SN: 711-1200

3шт.

52

D50-G59B

PIN

SN: 1201-15400

3шт.

|52

D50-G59A

PIN

SN: 711-1200

3шт.

53

130-14-13210

PIN

SN: 5860-@

2шт.

54

130-14-13220

PIN

SN: 5861-@

1шт.

55

D50-G53E

SHAFT

SN: 10901-15400

1шт.

|55

D50-G53D

SHAFT

SN: 5861-10900

1шт.

|55

D50-G53C

SHAFT

SN: 1201-5860

1шт.

|55

D50-G53B

SHAFT

SN: 711-1200

1шт.

56

130-14-13155

SHAFT

SN: 10901-@

1шт.

|56

D50-G54D

SHAFT

SN: 5861-10900

1шт.

|56

D50-G54C

SHAFT

SN: 1201-5860

1шт.

|56

D50-G54B

SHAFT

SN: 711-1200

1шт.

57

130-14-13164

SHAFT

SN: 10901-@

1шт.

|57

D50-G55C

SHAFT

SN: 5861-10900

1шт.

|57

D50-G55B

SHAFT

SN: 1201-5860

1шт.

|57

D50-G55A

SHAFT

SN: 711-1200

1шт.

58

D50-G51G

FORK

SN: 5861-15400

1шт.

|58

D50-G51E

FORK

SN: 711-5860

1шт.

59

130-14-13125

FORK

SN: 5861-@

1шт.

|59

D50-G51-1D

FORK

SN: 711-5860

1шт.

60

130-14-13136

FORK

SN: 5861-@

1шт.

|60

D50-G52D

FORK

SN: 711-5860

1шт.

61

130-14-13180

ADAPTER

SN: 5861-@

2шт.

|61

D50-G56

ADAPTER

SN: 711-5860

1шт.

62

130-14-13230

COLLAR

SN: 5861-@

1шт.

63

130-14-13171

BOLT

SN: 10901-@

6шт.

|63

D50-G57

BOLT

SN: 711-10900

3шт.

64

04059-01063

WIRE

SN: 711-@

1шт.

Выбрано товаров: 120