Запчасти Komatsu D50P-10 ПЕДАЛЬ ТОРМОЗА И СОЕДИНИТЕЛЬН. ЗВЕНО КОНЕЧНАЯ ПЕРЕДАЧА И СИСТЕМАУПРАВЛЕНИЯ ПОВОРОТОМ

Схема запчастей Komatsu D50P-10 - ПЕДАЛЬ ТОРМОЗА И СОЕДИНИТЕЛЬН. ЗВЕНО КОНЕЧНАЯ ПЕРЕДАЧА И СИСТЕМАУПРАВЛЕНИЯ ПОВОРОТОМ
FIT
1:1
100%

Артикул

Название

Примечание

Количество

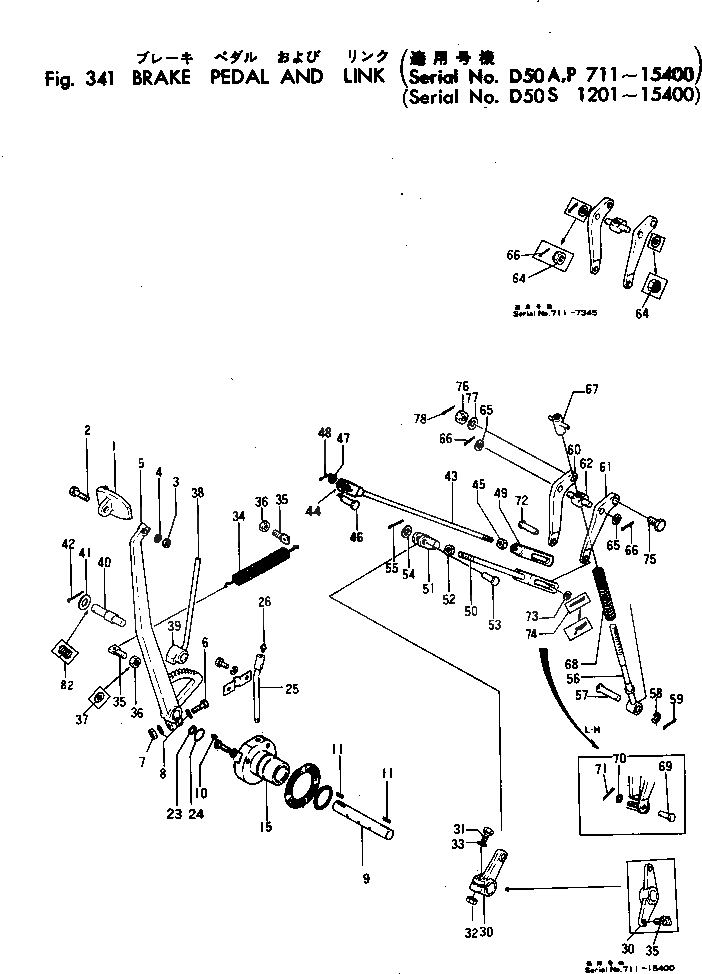
1

130-33-11111

PEDAL

SN: 711-@

1шт.

2

01000-31040

BOLT

SN: 1201-@

1шт.

|2

01000-31045

BOLT

SN: 711-1200

1шт.

3

01500-31008

NUT

SN: 711-@

1шт.

4

01602-01030

WASHER

SN: 711-@

1шт.

5

130-33-11124

ARM

SN: 10901-@

1шт.

|5

D50-K2C

ARM

SN: 5861-10900

1шт.

|5

D50-K2A

ARM

SN: 871-5860

1шт.

|5

D50-K2

ARM

SN: 711-870

1шт.

6

01040-31035

BOLT

SN: 10901-15400

1шт.

|6

01000-31035

BOLT

SN: 5861-10900

1шт.

|6

01000-31045

BOLT

SN: 711-5860

1шт.

7

01500-31008

NUT

SN: 711-5860

1шт.

8

01602-01030

WASHER

SN: 711-@

1шт.

9

D50P-K101

SHAFT

SN: 5861-15400

1шт.

|9

D50-KB101

SHAFT

SN: 5421-5860

1шт.

|9

D50P-K6D

SHAFT

SN: 711-5420

1шт.

10

07020-00900

FITTING

SN: 711-5860

1шт.

11

04000-00725

KEY

SN: 711-@

2шт.

15

D50-K102

BUSHING

SN: 5861-15400

1шт.

23

130-09-12260

SEAL

SN: 5861-@

1шт.

24

07000-03042

O-RING

SN: 5861-@

1шт.

25

D50-K132

TUBE

SN: 5861-15400

1шт.

|25

D50-K112

TUBE

SN: 711-5860

1шт.

26

07020-00000

FITTING

SN: 5861-@

1шт.

30

D50-K12C

LEVER

SN: 10901-15400

1шт.

|30

D50-K12A

LEVER

SN: 5861-10900

1шт.

|30

D50-K12

LEVER

SN: 711-5860

1шт.

31

01040-31030

BOLT

SN: 10901-@

1шт.

|31

01000-31030

BOLT

SN: 5861-10900

1шт.

|31

01000-31045

BOLT

SN: 711-5860

1шт.

32

01500-31008

NUT

SN: 711-5860

1шт.

33

01602-01030

WASHER

SN: 711-@

1шт.

34

130-33-11211

SPRING

SN: 5861-@

1шт.

|34

D50-K17

SPRING

SN: 711-5860

1шт.

35

130-33-11220

BOLT

SN: 10901-@

2шт.

|35

D50-F242

BOLT

SN: 5861-10900

2шт.

|35

D50-K18

BOLT

SN: 711-5860

1шт.

|35

D50-K16

BOLT

SN: 711-5860

1шт.

36

01504-51207

NUT

SN: 10901-@

2шт.

|36

01500-30807

NUT

SN: 711-5860

1шт.

37

01602-01236

WASHER

SN: 5861-10900

2шт.

38

130-33-11262

LEVER

SN: 5861-@

1шт.

|38

D50-K27A

LEVER

SN: 711-5860

1шт.

39

D50-K26C

PAWL

SN: 11411-15400

1шт.

|39

D50-K26B

PAWL

SN: 5861-11410

1шт.

|39

D50-K26A

PAWL

SN: 711-5860

1шт.

40

D50S-K110A

SHAFT

SN: 10901-15400

1шт.

|40

D50S-K110

SHAFT

SN: 5861-10900

1шт.

|40

D50-K28A

SHAFT

SN: 711-5860

1шт.

41

01640-21829

WASHER

SN: 5861-@

1шт.

42

04050-04035

PIN

SN: 5861-@

1шт.

43

130-33-11284

ROD

SN: 10901-@

2шт.

|43

D50-K35C

ROD

SN: 5861-10900

2шт.

|43

D50-K35B

ROD

SN: 711-5860

2шт.

44

04210-11248

YOKE

SN: 711-@

2шт.

45

01501-51207

NUT

SN: 711-@

4шт.

46

04205-01235

PIN

SN: 711-@

2шт.

47

01641-21220

WASHER

SN: 711-@

2шт.

48

04050-03020

PIN

SN: 711-@

2шт.

|48

0

PIN

SN: (711-10900)

2шт.

|48

0

PIN

SN: (711-5860)

2шт.

49

130-33-11291

END

SN: 10901-@

2шт.

|49

D50-K44

END

SN: 711-10900

2шт.

50

130-33-11322

ROD

SN: 5861-@

1шт.

|50

D50-K39A

ROD

SN: 711-5860

1шт.

51

04210-11248

YOKE

SN: 10901-@

1шт.

|51

D50-K37-1

YOKE

SN: 711-10900

1шт.

52

01502-51207

NUT

SN: 711-@

1шт.

53

04205-01235

PIN

SN: 711-@

1шт.

54

01641-21220

WASHER

SN: 711-@

1шт.

55

04050-03020

PIN

SN: 10901-@

1шт.

|55

04050-03025

PIN

SN: 711-10900

1шт.

56

130-33-11350

ROD

SN: 711-@

2шт.

57

130-33-11360

PIN

SN: 711-@

2шт.

58

01641-21426

WASHER

SN: 711-@

2шт.

59

04050-03020

PIN

SN: 711-@

2шт.

|59

0

PIN

SN: (711-10900)

2шт.

60

130-33-11370

LEVER

SN: 711-@

2шт.

61

130-33-11380

LEVER

SN: 711-@

2шт.

62

130-33-11392

SHAFT

SN: 7346-@

2шт.

|62

D50-K63A

SHAFT

SN: 711-7345

2шт.

64

01511-31009

NUT

SN: 711-7345

4шт.

65

01641-21426

WASHER

SN: 7346-@

4шт.

|65

01640-21020

WASHER

SN: 711-7345

4шт.

66

04050-04022

PIN

SN: 7346-@

4шт.

|66

04050-02022

PIN

SN: 711-7345

4шт.

67

130-33-11410

NUT

SN: 711-@

2шт.

68

130-33-11420

SPRING

SN: 711-@

2шт.

69

04205-01235

PIN

SN: 711-@

1шт.

70

01641-21220

WASHER

SN: 711-@

1шт.

71

04050-03020

PIN

SN: 10901-@

1шт.

|71

04050-03025

PIN

SN: 711-10900

1шт.

72

130-33-11310

PIN

SN: 711-@

1шт.

73

01641-21220

WASHER

SN: 711-@

1шт.

74

04050-03020

PIN

SN: 10901-@

1шт.

|74

04050-03025

PIN

SN: 711-10900

1шт.

75

130-33-11430

BOLT

SN: 711-@

2шт.

76

01511-31009

NUT

SN: 711-@

2шт.

77

01640-21020

WASHER

SN: 711-@

2шт.

78

04050-02022

PIN

SN: 711-@

2шт.

82

141-43-14520

SPRING

SN: 5861-11410

1шт.

|82

D50S-K113

GUIDE

SN: 711-4430

1шт.

|82

01000-30812

BOLT

SN: 711-3320

2шт.

|82

01602-00825

WASHER

SN: 711-3320

2шт.

Выбрано товаров: 105