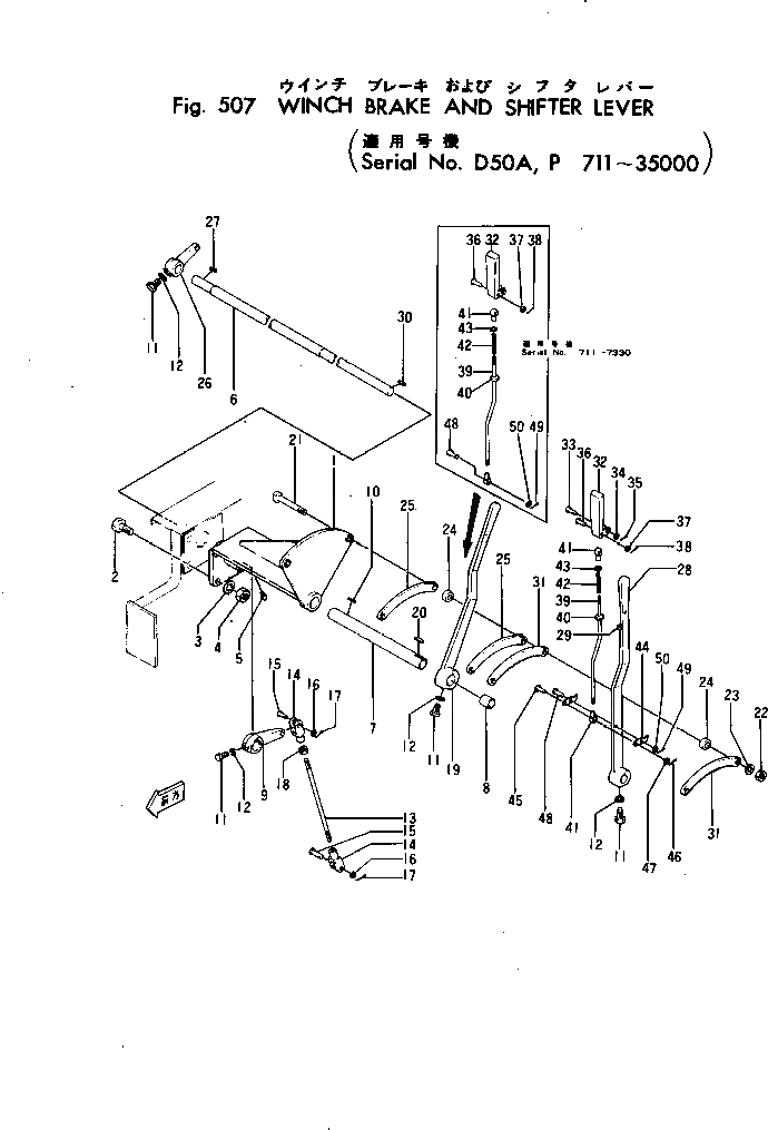
Запчасти Komatsu D50P-10 ЛЕБЕДКА ТОРМОЗ. И SHIFTER РЫЧАГ(№7-) РАБОЧЕЕ ОБОРУДОВАНИЕ И ITS СИСТЕМА УПРАВЛЕНИЯ

Схема запчастей Komatsu D50P-10 - ЛЕБЕДКА ТОРМОЗ. И SHIFTER РЫЧАГ(№7-) РАБОЧЕЕ ОБОРУДОВАНИЕ И ITS СИСТЕМА УПРАВЛЕНИЯ
FIT
1:1
100%

Артикул

Название

Примечание

Количество

|1

130-75-00041

WINCH ASS'Y

SN: 25439-35000

1шт.

|1

0

WINCH ASS'Y

SN: 711-25438

1шт.

1

130-75-16113

BRACKET

SN: 711-35000

1шт.

2

01000-31445

BOLT

SN: 711-35000

4шт.

3

01602-01442

WASHER

SN: 711-35000

4шт.

4

01500-31411

NUT

SN: 711-35000

4шт.

5

07020-00000

FITTING

SN: 711-35000

1шт.

6

130-75-16121

SHAFT

SN: 711-35000

1шт.

7

130-75-16131

SHAFT

SN: 711-35000

1шт.

8

130-75-16140

BUSHING

SN: 711-35000

1шт.

9

130-75-16151

LEVER

SN: 711-35000

1шт.

10

04000-00725

KEY

SN: 711-35000

1шт.

11

130-75-16160

SCREW

SN: 801-35000

4шт.

|11

D50-S172

SCREW

SN: 711-800

4шт.

12

01601-01025

WASHER

SN: 711-35000

4шт.

13

130-75-16172

ROD

SN: 5861-35000

1шт.

|13

D50-S174A

ROD

SN: 711-5860

1шт.

14

04210-01248

YOKE

SN: 711-35000

2шт.

15

04205-01235

PIN

SN: 711-35000

2шт.

16

01641-01220

WASHER

SN: 711-35000

2шт.

17

04050-03020

PIN

SN: 711-35000

2шт.

18

01501-31207

NUT

SN: 711-35000

1шт.

19

130-75-16181

LEVER

SN: 7331-35000

1шт.

|19

D50-S177

LEVER

SN: 711-7330

1шт.

20

04000-00725

KEY

SN: 711-35000

1шт.

21

130-75-16190

BOLT

SN: 711-35000

2шт.

22

01500-31008

NUT

SN: 711-35000

2шт.

23

01601-01025

WASHER

SN: 711-35000

2шт.

24

130-75-16210

SPACER

SN: 711-35000

4шт.

25

130-75-14290

RATCHET

SN: 711-35000

2шт.

|25

130-75-16220

PLATE

SN: 7331-35000

2шт.

26

130-75-14240

LEVER

SN: 711-35000

1шт.

27

04000-00725

KEY

SN: 711-35000

1шт.

28

130-75-14270

LEVER

SN: 711-35000

1шт.

29

130-75-14280

RETAINER (WELDED)

SN: 7331-35000

1шт.

|29

130-75-14280

RETAINER (WELDED)

SN: 711-7330

2шт.

30

04000-00725

KEY

SN: 711-35000

1шт.

31

130-75-14290

RATCHET

SN: 711-35000

2шт.

32

130-75-14320

HANDLE

SN: 7331-35000

1шт.

|32

130-75-14320

HANDLE

SN: 711-7330

2шт.

33

04205-00825

PIN

SN: 7331-35000

1шт.

|33

04205-00825

PIN

SN: 711-7330

2шт.

34

01640-20816

WASHER

SN: 7331-35000

1шт.

|34

01640-20816

WASHER

SN: 711-7330

2шт.

35

04050-02012

PIN

SN: 7331-35000

1шт.

|35

04050-02012

PIN

SN: 711-7330

2шт.

36

04205-00625

PIN

SN: 7331-35000

1шт.

|36

04205-00625

PIN

SN: 711-7330

2шт.

37

01640-20610

WASHER

SN: 7331-35000

1шт.

|37

01640-20610

WASHER

SN: 711-7330

2шт.

38

04050-01610

PIN

SN: 7331-35000

1шт.

|38

04050-01610

PIN

SN: 711-7330

2шт.

39

130-75-14330

ROD

SN: 7331-35000

1шт.

|39

130-75-14330

ROD

SN: 711-7330

2шт.

40

130-75-14340

RETAINER

SN: 7331-35000

1шт.

|40

130-75-14340

RETAINER

SN: 711-7330

2шт.

|40

D50-S199

PIN

SN: 711-1200

1шт.

41

130-75-14350

CONNECTOR

SN: 7331-35000

2шт.

|41

130-75-14350

CONNECTOR

SN: 711-7330

4шт.

42

130-75-14360

SPRING

SN: 7331-35000

1шт.

|42

130-75-14360

SPRING

SN: 711-7330

2шт.

43

01640-20610

WASHER

SN: 7331-35000

1шт.

|43

01640-20610

WASHER

SN: 711-7330

2шт.

44

130-75-14370

PAWL

SN: 7331-35000

2шт.

|44

130-75-14370

PAWL

SN: 711-7330

4шт.

45

04205-00628

PIN

SN: 7331-35000

1шт.

|45

04205-00628

PIN

SN: 711-7330

2шт.

46

04050-01610

PIN

SN: 7331-35000

1шт.

|46

04050-01610

PIN

SN: 711-7330

2шт.

47

01640-20610

WASHER

SN: 7331-35000

1шт.

|47

01640-20610

WASHER

SN: 711-7330

2шт.

48

04205-00828

PIN

SN: 7331-35000

1шт.

|48

04205-00828

PIN

SN: 711-7330

2шт.

49

04050-02012

PIN

SN: 7331-35000

1шт.

|49

04050-02012

PIN

SN: 711-7330

2шт.

50

01640-20816

WASHER

SN: 7331-35000

1шт.

|50

01640-20816

WASHER

SN: 711-7330

2шт.

Выбрано товаров: 77