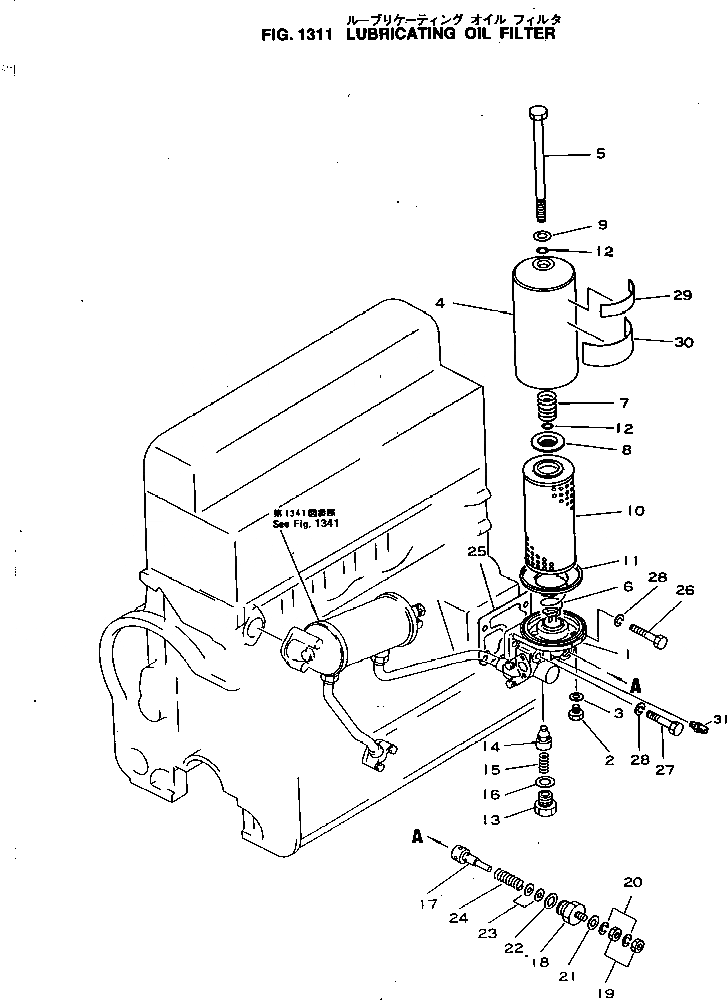
Запчасти Komatsu 4D120-11A МАСЛ. ФИЛЬТР СИСТЕМА СМАЗКИ МАСЛ. СИСТЕМА

Схема запчастей Komatsu 4D120-11A - МАСЛ. ФИЛЬТР СИСТЕМА СМАЗКИ МАСЛ. СИСТЕМА
FIT
1:1
100%

Артикул

Название

Примечание

Количество

|$0

6110-53-5103

OIL FILTER ASS'Y

SN: 84282-UP

1шт.

|$1

0

OIL FILTER ASS'Y

SN: 69225-84281

1шт.

|$2

0

OIL FILTER ASS'Y

SN: 54849-69224

1шт.

|$3

0

OIL FILTER ASS'Y

SN: 50006-54848

1шт.

1

6110-53-5112

BRACKET

SN: 84282-UP

1шт.

1

0

BRACKET

SN: 54849-84281

1шт.

1

6110-53-5110

BRACKET

SN: 50006-54848

1шт.

2

6110-53-5910

PLUG

SN: 69225-UP

1шт.

2

6003100-9-10

PLUG

SN: 50006-69224

1шт.

3

07003-01419

GASKET

SN: 50006-UP

1шт.

4

6120-51-5610

COVER

SN: 50006-UP

1шт.

5

6110-53-5620

BOLT

SN: 69225-UP

1шт.

5

6120-51-5620

BOLT

SN: 50006-69224

1шт.

6

6120-51-5650

SPRING

SN: 50027-UP

1шт.

7

6120-51-5630

SPRING

SN: 50006-UP

1шт.

8

6120-51-5640

RETAINER

SN: 50006-UP

1шт.

9

6110-51-5680

WASHER

SN: 80266-UP

1шт.

9

01641-21626

WASHER

SN: 50006-80265

1шт.

|$18

6120-50-5103

ELEMENT ASS'Y

SN: 50006-UP

1шт.

10

0

ELEMENT

SN: 50006-UP

1шт.

11

6120-51-5180

GASKET

SN: 50006-UP

1шт.

12

6120-51-5710

O-RING

SN: 50006-UP

2шт.

13

6110-53-5230

PLUG

SN: 69225-UP

1шт.

13

6120-51-5230

PLUG

SN: 50006-69224

1шт.

14

6120-51-5411

VALVE

SN: 50006-UP

1шт.

15

6110-51-5450

SPRING

SN: 50006-UP

1шт.

16

6110-51-5440

GASKET (K2)

SN: 50006-UP

1шт.

17

6110-53-5510

VALVE

SN: 50006-UP

1шт.

18

6110-53-5520

PLUG

SN: 69225-UP

1шт.

18

6110-51-5520

PLUG

SN: 50006-69224

1шт.

19

01580-00504

NUT

SN: 69225-UP

2шт.

19

01500-60504

NUT

SN: 50006-69224

2шт.

20

01601-00513

WASHER

SN: 50006-UP

2шт.

21

6110-51-5580

GASKET

SN: 50006-UP

1шт.

22

6110-51-5440

GASKET (K2)

SN: 50006-UP

1шт.

23

6110-51-5550

SPACER

SN: 50006-UP

5шт.

24

6110-51-5560

SPRING

SN: 50006-UP

1шт.

25

6110-53-5810

GASKET (K2)

SN: 50006-UP

1шт.

26

01010-31230

BOLT

SN: 50006-UP

3шт.

27

01011-31200

BOLT

SN: 50006-UP

1шт.

28

01602-01236

WASHER

SN: 50006-UP

4шт.

29

09646-00125

PLATE, CAUTION

SN: 61081-UP

1шт.

29

0

PLATE, CAUTION

SN: 50006-61080

1шт.

30

6110-83-2210

PLATE, CAUTION

SN: 63789-UP

1шт.

30

6110-81-2210

PLATE, CAUTION

SN: 50006-63788

1шт.

|$0

6110-53-5103

OIL FILTER ASS'Y

SN: 84282-UP

1шт.

|$1

0

OIL FILTER ASS'Y

SN: 69225-84281

1шт.

|$2

0

OIL FILTER ASS'Y

SN: 54849-69224

1шт.

|$3

0

OIL FILTER ASS'Y

SN: 50006-54848

1шт.

1

6110-53-5112

BRACKET

SN: 84282-UP

1шт.

1

0

BRACKET

SN: 54849-84281

1шт.

1

6110-53-5110

BRACKET

SN: 50006-54848

1шт.

2

6110-53-5910

PLUG

SN: 69225-UP

1шт.

2

6003100-9-10

PLUG

SN: 50006-69224

1шт.

3

07003-01419

GASKET

SN: 50006-UP

1шт.

4

6120-51-5610

COVER

SN: 50006-UP

1шт.

5

6110-53-5620

BOLT

SN: 69225-UP

1шт.

5

6120-51-5620

BOLT

SN: 50006-69224

1шт.

6

6120-51-5650

SPRING

SN: 50027-UP

1шт.

7

6120-51-5630

SPRING

SN: 50006-UP

1шт.

8

6120-51-5640

RETAINER

SN: 50006-UP

1шт.

9

6110-51-5680

WASHER

SN: 80266-UP

1шт.

9

01641-21626

WASHER

SN: 50006-80265

1шт.

|$18

6120-50-5103

ELEMENT ASS'Y

SN: 50006-UP

1шт.

10

0

ELEMENT

SN: 50006-UP

1шт.

11

6120-51-5180

GASKET

SN: 50006-UP

1шт.

12

6120-51-5710

O-RING

SN: 50006-UP

2шт.

13

6110-53-5230

PLUG

SN: 69225-UP

1шт.

13

6120-51-5230

PLUG

SN: 50006-69224

1шт.

14

6120-51-5411

VALVE

SN: 50006-UP

1шт.

15

6110-51-5450

SPRING

SN: 50006-UP

1шт.

16

6110-51-5440

GASKET (K2)

SN: 50006-UP

1шт.

17

6110-53-5510

VALVE

SN: 50006-UP

1шт.

18

6110-53-5520

PLUG

SN: 69225-UP

1шт.

18

6110-51-5520

PLUG

SN: 50006-69224

1шт.

19

01580-00504

NUT

SN: 69225-UP

2шт.

19

01500-60504

NUT

SN: 50006-69224

2шт.

20

01601-00513

WASHER

SN: 50006-UP

2шт.

21

6110-51-5580

GASKET

SN: 50006-UP

1шт.

22

6110-51-5440

GASKET (K2)

SN: 50006-UP

1шт.

23

6110-51-5550

SPACER

SN: 50006-UP

5шт.

24

6110-51-5560

SPRING

SN: 50006-UP

1шт.

25

6110-53-5810

GASKET (K2)

SN: 50006-UP

1шт.

26

01010-31230

BOLT

SN: 50006-UP

3шт.

27

01011-31200

BOLT

SN: 50006-UP

1шт.

28

01602-01236

WASHER

SN: 50006-UP

4шт.

29

09646-00125

PLATE, CAUTION

SN: 61081-UP

1шт.

29

0

PLATE, CAUTION

SN: 50006-61080

1шт.

30

6110-83-2210

PLATE, CAUTION

SN: 63789-UP

1шт.

30

6110-81-2210

PLATE, CAUTION

SN: 50006-63788

1шт.

Выбрано товаров: 90