Запчасти Komatsu D50P-15 ЭЛЕКТРИКА(№-) КОМПОНЕНТЫ ДВИГАТЕЛЯ И ЭЛЕКТРИКА

Схема запчастей Komatsu D50P-15 - ЭЛЕКТРИКА(№-) КОМПОНЕНТЫ ДВИГАТЕЛЯ И ЭЛЕКТРИКА
FIT
1:1
100%

Артикул

Название

Примечание

Количество

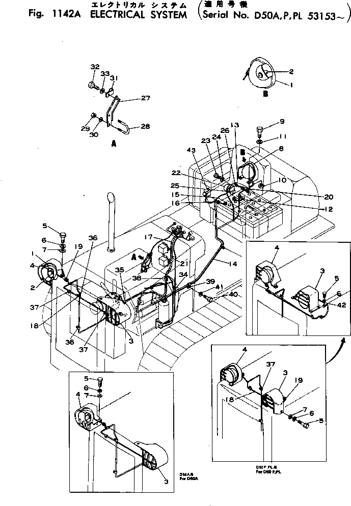
|1

08128-22400

LAMP ASS'Y,HEAD AND REAR

SN: 53153-UP

3шт.

1

08128-40000

BODY

SN: 53153-UP

1шт.

2

08113-02480

BULB¤ 80W

SN: 40273-UP

1шт.

3

130-804-5121

BRACKET,L.H.

SN: 59001-UP

1шт.

|3

130-804-5120

COVER,L.H.

SN: 35002-58999

1шт.

4

130-804-5111

BRACKET,R.H.

SN: 59001-UP

1шт.

|4

130-804-5110

COVER,R.H.

SN: 35002-58999

1шт.

5

01010-31225

BOLT

SN: 59001-UP

6шт.

|5

01010-31235

BOLT

SN: 53153-58999

6шт.

6

01602-01236

WASHER

SN: 35002-UP

6шт.

7

01643-31232

WASHER

SN: 35002-UP

6шт.

8

130-06-43160

COVER

SN: 35002-UP

1шт.

9

01010-31225

BOLT

SN: 53153-UP

4шт.

10

01580-01210

NUT

SN: 53153-UP

4шт.

11

01602-01236

WASHER

SN: 35002-UP

4шт.

12

131-06-44172

WIRE

SN: 51927-UP

1шт.

13

130-06-44112

WIRE

SN: 51927-UP

1шт.

14

130-06-44122

WIRE

SN: 51927-UP

1шт.

15

08038-06031

CAP

SN: 53153-UP

5шт.

16

08037-02512

GROMMET

SN: 35002-UP

2шт.

17

130-06-44652

WIRE ASS'Y

SN: 59183-UP

1шт.

|17

130-06-44651

WIRE ASS'Y

SN: 59001-59182

1шт.

|17

130-06-44650

WIRE ASS'Y

SN: 35002-58999

1шт.

18

130-804-5130

WIRE

SN: 35002-UP

1шт.

19

130-06-44711

GROMMET

SN: 59001-UP

2шт.

|19

08037-01610

GROMMET

SN: 53153-58999

2шт.

20

130-06-44671

WIRE ASS'Y

SN: 59183-UP

1шт.

|20

130-06-44670

WIRE ASS'Y

SN: 35002-59182

1шт.

21

131-06-14390

WIRE

SN: 35002-UP

1шт.

22

08088-00000

SWITCH,BATTERY RELAY

SN: 35002-UP

1шт.

23

01010-30820

BOLT

SN: 53153-UP

2шт.

24

01602-00825

WASHER

SN: 35002-UP

2шт.

25

08126-00017

CAP

SN: 59001-UP

1шт.

|25

08038-00519

CAP

SN: 53153-58999

1шт.

26

01643-30823

WASHER

SN: 53153-UP

1шт.

27

131-06-42182

CLIP

SN: 35018-UP

1шт.

28

130-06-12230

U-BOLT

SN: 35018-UP

1шт.

29

01580-00806

NUT

SN: 35018-UP

2шт.

30

01602-00825

WASHER

SN: 35018-UP

2шт.

31

08036-11210

CLIP

SN: 53153-UP

1шт.

32

01010-30816

BOLT

SN: 53153-UP

1шт.

33

01602-00825

WASHER

SN: 53153-UP

1шт.

34

08036-11214

CLIP

SN: 53153-UP

1шт.

35

08036-11210

CLIP

SN: 53153-UP

2шт.

36

08036-11214

CLIP

SN: 53153-UP

2шт.

37

08036-11214

CLIP

SN: 53153-UP

2шт.

38

140-06-18440

CLIP

SN: 53153-UP

1шт.

39

140-06-18440

CLIP

SN: 53153-UP

3шт.

40

01010-31016

BOLT

SN: 53153-UP

3шт.

41

01602-01030

WASHER

SN: 53153-UP

3шт.

42

08036-11214

CLIP

SN: 59001-UP

2шт.

43

08064-10000

SWITCH,HORN

SN: 59183-UP

1шт.

Выбрано товаров: 52