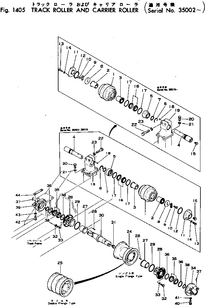
Запчасти Komatsu D50P-15 ОПОРНЫЙ КАТОК И ПОДДЕРЖИВАЮЩИЙ КАТОК ГУСЕНИЦЫ И ЧАСТИ КОРПУСА

Схема запчастей Komatsu D50P-15 - ОПОРНЫЙ КАТОК И ПОДДЕРЖИВАЮЩИЙ КАТОК ГУСЕНИЦЫ И ЧАСТИ КОРПУСА
FIT
1:1
100%

Артикул

Название

Примечание

Количество

|1

131-30-00313

CARRIER ROLLER ASS'Y

SN: 53153-UP

4шт.

|1

131-30-00312

CARRIER ROLLER ASS'Y

SN: 50403-53152

4шт.

|1

0

CARRIER ROLLER ASS'Y

SN: 35019-50402

4шт.

|1

131-30-00310

CARRIER ROLLER ASS'Y

SN: 35002-35018

2шт.

|1

141-30-00111

ROLLER ASS'Y

SN: 50403-UP

1шт.

|1

0

ROLLER ASS'Y

SN: 35019-50402

1шт.

|1

0

ROLLER ASS'Y

SN: 35002-35018

1шт.

1

141-30-15220

ROLLER

SN: 50403-UP

1шт.

|1

0

ROLLER

SN: 35019-50402

1шт.

|1

130-30-15115

ROLLER

SN: 35002-35018

1шт.

2

130-30-15162

BUSHING

SN: 35002-UP

1шт.

3

140-30-15140

BUSHING

SN: 35002-UP

1шт.

4

135-30-15110

SHAFT

SN: 35019-UP

1шт.

|4

140-813-5110

SHAFT

SN: 35002-35018

1шт.

5

140-813-5120

COLLAR

SN: 35002-UP

1шт.

6

141-30-15140

RING

SN: 35002-UP

1шт.

7

07000-03048

O-RING (KIT)

SN: 35002-UP

1шт.

8

130-30-15150

PLATE

SN: 35002-UP

1шт.

9

130-30-15140

LOCK

SN: 35002-UP

1шт.

10

01010-31020

BOLT

SN: 35002-UP

2шт.

11

140-813-5160

COVER

SN: 35019-UP

1шт.

|11

141-30-15151

COVER

SN: 35002-35018

1шт.

12

07000-03082

O-RING (KIT)

SN: 35002-UP

1шт.

13

01010-31025

BOLT

SN: 35002-UP

3шт.

14

01602-01030

WASHER

SN: 35002-UP

3шт.

15

07052-11624

PLUG

SN: 53153-UP

1шт.

|15

07052-01624

PLUG

SN: 35002-53152

1шт.

|16

140-30-00040

FLOATING SEAL ASS'Y

SN: 35002-UP

1шт.

16

140-30-00400

SEAL RING ASS'Y

SN: 35002-UP

1шт.

|16

0

RING,SEAL

SN: 35002-UP

2шт.

17

140-30-00410

O-RING ASS'Y

SN: 35002-UP

1шт.

|17

0

O-RING

SN: 35002-UP

2шт.

18

130-27-12430

PIN

SN: 35002-UP

1шт.

19

135-30-15120

SUPPORT

SN: 35019-UP

1шт.

|19

140-813-5142

SUPPORT

SN: 35002-35018

1шт.

20

01010-31645

BOLT

SN: 53153-UP

4шт.

|20

01040-31645

BOLT

SN: 35002-53152

4шт.

21

01602-01648

WASHER

SN: 35002-UP

4шт.

22

01010-31885

BOLT

SN: 53153-UP

2шт.

|22

01040-31885

BOLT

SN: 35002-53152

2шт.

23

01602-01854

WASHER

SN: 35002-UP

2шт.

|24

131-30-00320

TRACK ROLLER ASS'Y,SINGLE FLANGE

SN: 59001-UP

8шт.

|24

0

TRACK ROLLER ASS'Y,SINGLE FLANGE

SN: 53153-58999

8шт.

|24

0

TRACK ROLLER ASS'Y,SINGLE FLANGE

SN: 35005-53152

8шт.

|24

140-30-00051

TRACK ROLLER ASS'Y,SINGLE FLANGE

SN: 35002-35004

8шт.

|24

131-30-00330

TRACK ROLLER ASS'Y,DOUBLE FLANGE

SN: 59001-UP

6шт.

|24

0

TRACK ROLLER ASS'Y,DOUBLE FLANGE

SN: 53153-58999

6шт.

|24

0

TRACK ROLLER ASS'Y,DOUBLE FLANGE

SN: 35005-53152

6шт.

|24

140-30-00061

TRACK ROLLER ASS'Y,DOUBLE FLANGE

SN: 35002-35004

6шт.

24

140-30-16240

ROLLER,SINGLE FLANGE

SN: .-UP

1шт.

|24

0

ROLLER,SINGLE FLANGE

SN: 35002-.

1шт.

25

140-30-16260

ROLLER,DOUBLE FLANGE

SN: .-UP

1шт.

|25

0

ROLLER,DOUBLE FLANGE

SN: 35002-.

1шт.

|26

131-30-00110

BUSHING ASS'Y

SN: 59001-UP

2шт.

|26

0

BUSHING ASS'Y

SN: 53153-58999

2шт.

|26

0

BUSHING ASS'Y

SN: 35002-53152

2шт.

26

131-30-46120

BUSHING

SN: 59001-UP

1шт.

|26

140-30-16181

BUSHING

SN: 35002-58999

1шт.

27

131-30-46130

BUSHING

SN: 59001-UP

1шт.

|27

140-30-16290

BUSHING

SN: 53153-58999

1шт.

|27

0

BUSHING

SN: 35002-53152

1шт.

28

141-30-36310

PIN

SN: 59001-UP

2шт.

|28

04025-00512

PIN

SN: 35002-58999

2шт.

29

07000-03092

O-RING (KIT)

SN: 35002-UP

2шт.

30

141-30-16111

SHAFT

SN: 35002-UP

1шт.

31

07052-11624

PLUG

SN: 53153-UP

1шт.

|31

07052-01624

PLUG

SN: 35002-53152

1шт.

32

01010-31025

BOLT

SN: 35002-UP

12шт.

33

01602-01030

WASHER

SN: 35002-UP

12шт.

34

140-30-16162

COLLAR

SN: 35005-UP

1шт.

|34

140-30-16161

COLLAR

SN: 35002-35004

1шт.

|35

140-30-00040

FLOATING SEAL ASS'Y

SN: 35002-UP

2шт.

35

140-30-00400

SEAL RING ASS'Y

SN: 35002-UP

1шт.

|35

0

RING,SEAL

SN: 35002-UP

2шт.

36

140-30-00410

O-RING ASS'Y

SN: 35002-UP

1шт.

|36

0

O-RING

SN: 35002-UP

2шт.

37

130-09-16740

RING

SN: 35002-UP

2шт.

38

07000-03045

O-RING (KIT)

SN: 35002-UP

2шт.

39

140-30-16170

COLLAR

SN: 35002-UP

1шт.

40

01010-31655

BOLT

SN: 53153-UP

28шт.

|40

01040-31655

BOLT

SN: 35005-53152

28шт.

|40

01040-31645

BOLT

SN: 35002-35004

28шт.

41

01602-01648

WASHER

SN: 35002-UP

28шт.

42

01010-31655

BOLT

SN: 53153-UP

28шт.

|42

01040-31655

BOLT

SN: 35002-53152

28шт.

43

01602-01648

WASHER

SN: 35002-UP

28шт.

44

130-30-16120

LOCK

SN: 35002-UP

14шт.

Выбрано товаров: 87