Запчасти Komatsu D50P-15 ТОПЛИВН. БАК. КОМПОНЕНТЫ ДВИГАТЕЛЯ И ЭЛЕКТРИКА

Схема запчастей Komatsu D50P-15 - ТОПЛИВН. БАК. КОМПОНЕНТЫ ДВИГАТЕЛЯ И ЭЛЕКТРИКА
FIT
1:1
100%

Артикул

Название

Примечание

Количество

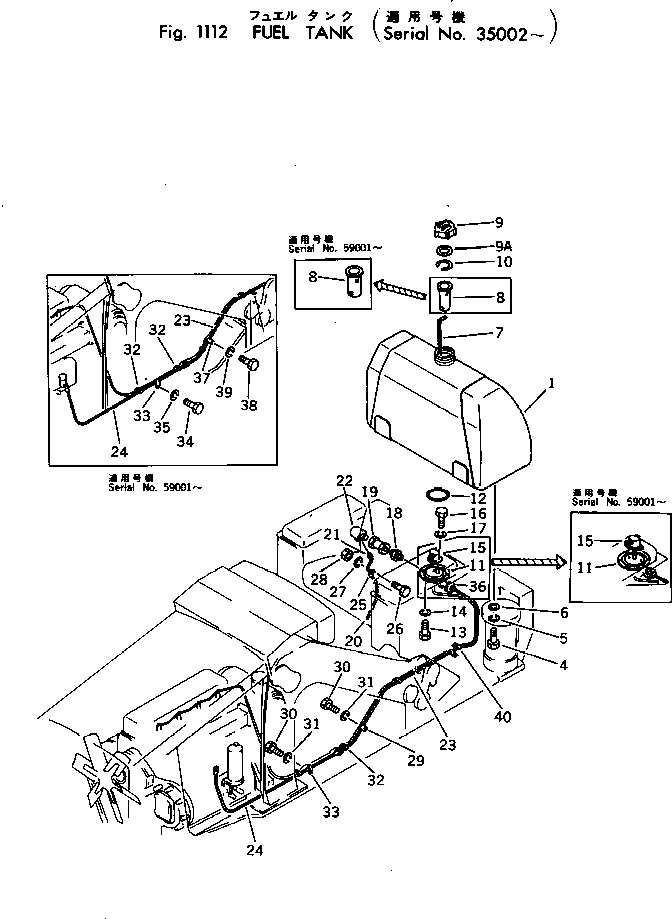
1

131-04-41112

TANK

SN: 35002-UP

1шт.

4

01010-31435

BOLT

SN: 53153-UP

6шт.

4

01040-31435

BOLT

SN: 35002-53152

6шт.

5

01602-01442

WASHER

SN: 35002-UP

6шт.

6

01643-01432

WASHER

SN: 35002-58999

6шт.

7

135-04-12111

GAUGE,FUEL LEVEL

SN: 35002-UP

1шт.

8

131-04-41121

STRAINER

SN: 59001-UP

1шт.

8

131-04-41120

STRAINER

SN: 53153-58999

1шт.

8

0

STRAINER

SN: 35002-53152

1шт.

9

07050-21200

CAP

SN: .-UP

1шт.

9

0

CAP

SN: 35002-.

1шт.

9

07091-01200

CAP,(FOR VANDALISM PROTECTION)

SN: 35002-UP

1шт.

9A

07050-21202

GASKET

SN: 35002-UP

1шт.

10

07057-04087

RING

SN: 59001-UP

1шт.

10

0

RING

SN: 35002-58999

1шт.

|$15

131-04-00233

STRAINER ASS'Y

SN: 53153-UP

1шт.

|$16

131-04-00232

STRAINER ASS'Y

SN: 40273-53152

1шт.

|$17

0

STRAINER ASS'Y

SN: 35019-40272

1шт.

|$18

0

STRAINER ASS'Y

SN: 35002-35018

1шт.

11

125-04-13110

FLANGE

SN: 53153-UP

1шт.

11

131-04-43120

FLANGE

SN: 40273-53152

1шт.

11

0

FLANGE

SN: 35019-40272

1шт.

|$$23

(131-04-43120,131-04-43130,

-1шт.

|$$24

01000-30812(2),01602-00825(2))

-1шт.

11

131-04-43111

FLANGE

SN: 35002-35018

1шт.

12

07000-02135

O-RING

SN: 53153-UP

1шт.

12

07000-03135

O-RING

SN: 35002-53152

1шт.

13

01010-31025

BOLT

SN: 35002-UP

6шт.

14

01602-01030

WASHER

SN: 35002-UP

6шт.

15

131-04-43130

STRAINER

SN: 40273-UP

1шт.

15

0

STRAINER

SN: 35002-40272

1шт.

|$$32

(131-04-43130,131-04-43120,

-1шт.

|$$33

01000-30812(2),01602-00825(2))

-1шт.

16

01010-30812

BOLT

SN: 53153-UP

2шт.

16

01000-30812

BOLT

SN: 40273-53152

2шт.

16

01000-30812

BOLT

SN: 35002-40272

4шт.

17

01602-00825

WASHER

SN: 40273-UP

2шт.

17

01602-00825

WASHER

SN: 35002-40272

4шт.

18

131-04-54120

NIPPLE

SN: 53153-UP

2шт.

18

145-04-14110

NIPPLE

SN: 35002-53152

2шт.

19

07700-20504

VALVE

SN: 53153-UP

2шт.

19

141-04-14140

VALVE

SN: 35002-53152

2шт.

20

07270-01260

TUBE

SN: 35005-UP

1шт.

20

07270-01280

TUBE

SN: 35002-35004

1шт.

21

154-04-12460

CLAMP

SN: 53153-UP

1шт.

21

145-04-14120

CLAMP

SN: 35002-53152

1шт.

22

131-04-54130

ELBOW

SN: 53153-UP

1шт.

22

131-04-44140

ELBOW

SN: 35002-53152

1шт.

23

130-04-44122

TUBE

SN: 59001-UP

1шт.

23

130-04-44121

TUBE

SN: 53153-58999

1шт.

23

130-04-44120

TUBE

SN: 35002-53152

1шт.

23

131-04-54160

TUBE

SN: 35000-35000

1шт.

23

131-04-44150

TUBE

SN: 35000-35000

1шт.

24

131-04-54151

TUBE

SN: 59001-UP

1шт.

24

0

TUBE

SN: 53153-58999

1шт.

24

131-04-44160

TUBE

SN: 35002-53152

1шт.

25

141-04-14130

CLIP

SN: 35002-39841

1шт.

26

01040-31022

BOLT

SN: 35002-39841

1шт.

27

01602-01030

WASHER

SN: 35002-39841

1шт.

28

01503-31008

NUT

SN: 35002-39841

1шт.

29

130-04-11260

CLIP

SN: 35002-58999

2шт.

30

01010-31020

BOLT

SN: 35002-58999

2шт.

31

01602-01030

WASHER

SN: 35002-58999

2шт.

32

130-04-11270

CLIP

SN: 59001-UP

7шт.

32

130-04-11270

CLIP

SN: .-58999

6шт.

32

130-04-11270

CLIP

SN: 35002-.

3шт.

33

130-04-44130

CLIP

SN: 35002-UP

1шт.

34

01010-31016

BOLT

SN: 59001-UP

1шт.

35

01602-01030

WASHER

SN: 59001-UP

1шт.

36

131-04-54140

NIPPLE

SN: 53153-UP

1шт.

36

131-04-44120

NIPPLE

SN: 35002-53152

1шт.

37

130-04-11260

CLIP

SN: 59001-UP

2шт.

38

01010-31016

BOLT

SN: 59001-UP

2шт.

39

01602-01030

WASHER

SN: 59001-UP

2шт.

40

130-802-5110

CLIP

SN: 59001-UP

1шт.

Выбрано товаров: 75