Запчасти Komatsu D50P-15 СЦЕПКА ГУСЕНИЦЫ И ЧАСТИ КОРПУСА

Схема запчастей Komatsu D50P-15 - СЦЕПКА ГУСЕНИЦЫ И ЧАСТИ КОРПУСА
FIT
1:1
100%

Артикул

Название

Примечание

Количество

|$0

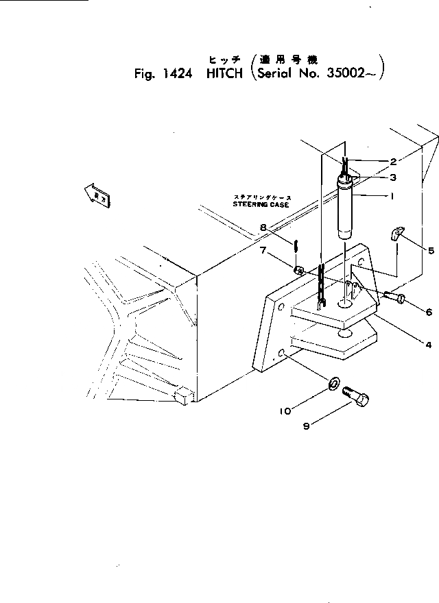
131-69-00211

HITCH ASS'Y (WELDED)

SN: 53153-UP

1шт.

|$1

131-69-00210

HITCH ASS'Y (WELDED)

SN: 35002-53152

1шт.

|$2

131-69-00221

HITCH ASS'Y,(CASTING)

SN: 53153-UP

1шт.

|$3

131-69-00220

HITCH ASS'Y,(CASTING)

SN: 35002-53152

1шт.

|$4

131-69-41101

HITCH ASS'Y (WELDED)

SN: 35002-UP

1шт.

|$5

131-69-41102

HITCH ASS'Y,(CASTING)

SN: 35002-UP

1шт.

1

130-69-11190

PIN

SN: 35002-UP

1шт.

2

09245-04830

CHAIN

SN: 53153-UP

1шт.

2

0

CHAIN

SN: 35002-53152

1шт.

3

09245-50060

HOOK

SN: 53153-UP

2шт.

3

0

HOOK

SN: 35002-53152

2шт.

4

131-69-41111

BRACKET (WELDED)

SN: 35002-UP

1шт.

4

131-69-41120

BRACKET,(CASTING)

SN: 35002-UP

1шт.

5

09249-00016

LATCH

SN: 53153-UP

1шт.

5

0

LATCH

SN: 35002-53152

1шт.

6

01052-31260

BOLT

SN: 35002-UP

1шт.

7

01592-01215

NUT

SN: 53153-UP

1шт.

7

01510-31214

NUT

SN: 35002-53152

1шт.

8

04050-03020

PIN

SN: 53153-UP

1шт.

8

04050-03025

PIN

SN: 35002-53152

1шт.

9

01010-32490

BOLT

SN: 53153-UP

4шт.

9

01040-32490

BOLT

SN: 35002-53152

4шт.

10

01602-02472

WASHER

SN: 35002-UP

4шт.

Выбрано товаров: 23