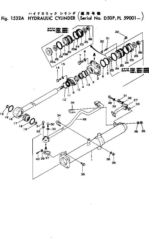
Запчасти Komatsu D50P-15 ГИДРАВЛ ЦИЛИНДР(№9-) РАБОЧЕЕ ОБОРУДОВАНИЕ И ITS СИСТЕМА УПРАВЛЕНИЯ

Схема запчастей Komatsu D50P-15 - ГИДРАВЛ ЦИЛИНДР(№9-) РАБОЧЕЕ ОБОРУДОВАНИЕ И ITS СИСТЕМА УПРАВЛЕНИЯ
FIT
1:1
100%

Артикул

Название

Примечание

Количество

|$0

130-63-13007

CYLINDER ASS'Y,L.H.

SN: 59939-UP

1шт.

|$1

130-63-13003

CYLINDER ASS'Y,L.H.

SN: 59001-59938

1шт.

|$2

130-63-13107

CYLINDER ASS'Y,R.H.

SN: 59939-UP

1шт.

|$3

130-63-13103

CYLINDER ASS'Y,R.H.

SN: 59001-59938

1шт.

1

130-63-12244

CYLINDER,L.H.

SN: 59939-UP

1шт.

1

130-63-13141

CYLINDER,L.H.

SN: 59001-59938

1шт.

1

130-63-12144

CYLINDER,R.H.

SN: 59939-UP

1шт.

1

130-63-13241

CYLINDER,R.H.

SN: 59001-59938

1шт.

2

130-63-12133

HEAD,CYLINDER

SN: 59939-UP

1шт.

2

130-63-12130

HEAD,CYLINDER

SN: 59001-59938

1шт.

3

07177-05530

BUSHING

SN: 59001-UP

1шт.

4

130-63-12173

PACKING (KIT)

SN: 59001-UP

1шт.

4

0

U-PACKING (KIT)

SN: (59001-59938)

1шт.

5

07000-12085

O-RING (KIT)

SN: 59001-UP

1шт.

6

07146-02086

RING,BACK-UP (KIT)

SN: 59001-UP

1шт.

7

01010-51645

BOLT

SN: 59001-UP

4шт.

8

01602-21648

WASHER

SN: 59001-UP

4шт.

9

07178-05537

GLAND

SN: 59001-UP

1шт.

10

07177-05512

BUSHING

SN: 59001-UP

1шт.

11

07016-00558

SEAL,DUST (KIT)

SN: 59001-UP

1шт.

12

07179-00077

RING,SNAP

SN: 59001-UP

1шт.

13

07000-03070

O-RING (KIT)

SN: 59001-UP

1шт.

14

01010-51445

BOLT

SN: 59001-UP

2шт.

15

01602-21442

WASHER

SN: 59001-UP

2шт.

16

130-63-12123

ROD,PISTON

SN: 59939-UP

1шт.

16

130-63-12121

ROD,PISTON

SN: 59001-59938

1шт.

17

07137-03505

BUSHING

SN: 59001-UP

1шт.

18

04065-08025

RING,SNAP

SN: 59001-UP

2шт.

19

07000-03035

O-RING (KIT)

SN: 59001-UP

2шт.

|$29

130-63-12064

VALVE ASS'Y

SN: 59939-UP

1шт.

|$30

130-63-12060

VALVE ASS'Y

SN: 59001-59938

1шт.

20

130-63-12161

PISTON

SN: 59939-UP

1шт.

20

07151-00927

PISTON

SN: 59001-59938

1шт.

21

130-63-12364

VALVE,PISTON

SN: 59939-UP

3шт.

21

0

VALVE,PISTON

SN: 59001-59938

3шт.

22

130-63-12464

SEAT (KIT)

SN: 59939-UP

6шт.

22

0

SEAT

SN: 59001-59938

6шт.

23

07155-00925

RING,WEAR (KIT)

SN: 59001-UP

1шт.

24

232-63-12451

PACKING,PISTON (KIT)

SN: 59939-UP

2шт.

24

07161-00090

RING,PISTON (KIT)

SN: 59001-59938

2шт.

25

130-63-12561

RETAINER

SN: 59939-UP

2шт.

25

07164-00906

RETAINER

SN: 59001-59938

2шт.

25A

130-63-12660

SLIDER

SN: 59939-UP

1шт.

25B

130-63-12761

PIN

SN: 59939-UP

2шт.

26

130-63-12860

NUT,NYLON

SN: 59939-UP

1шт.

26

232-63-12681

NUT

SN: 59001-59938

1шт.

27

130-63-12186

TUBE,L.H.

SN: 59939-UP

1шт.

27

130-63-12183

TUBE,L.H.

SN: 59001-59938

1шт.

27

130-63-12286

TUBE,R.H.

SN: 59939-UP

1шт.

27

130-63-12283

TUBE,R.H.

SN: 59001-59938

1шт.

28

130-63-12192

TUBE,L.H.

SN: 59001-UP

1шт.

28

130-63-12292

TUBE,R.H.

SN: 59001-UP

1шт.

29

01010-50850

BOLT

SN: 59001-UP

2шт.

30

01010-50850

BOLT

SN: 59001-UP

2шт.

31

01010-50835

BOLT

SN: 59001-UP

4шт.

32

01602-20825

WASHER

SN: 59001-UP

8шт.

33

07000-13030

O-RING (KIT)

SN: 59939-UP

2шт.

33

07000-23030

O-RING (KIT)

SN: 59001-59938

2шт.

34

07283-12738

CLIP

SN: 59001-UP

2шт.

35

01599-01011

NUT

SN: 59001-UP

4шт.

36

01643-21032

WASHER

SN: 59001-UP

4шт.

37

130-63-12390

PLATE

SN: 59001-UP

1шт.

38

01012-51035

BOLT

SN: 59001-UP

1шт.

39

01590-11012

NUT

SN: 59001-UP

1шт.

40

04050-02018

PIN

SN: 59001-UP

1шт.

41

130-63-12490

COLLAR

SN: 59001-UP

1шт.

Выбрано товаров: 66